Czujniki do pomiaru parametrów środowiskowych

Czujniki do pomiaru parametrów środowiskowych
Pobierz PDF Download icon

Wizje roztaczane przez ekologów nie są optymistyczne. Średnia temperatura na ziemi systematycznie wzrasta, a niebo zasłania smog. Zapotrzebowanie na energię w rozwiniętym społeczeństwie stale rośnie, a surowców do jej wytwarzania nie przybywa….

Mieszkańcy Ziemi zużywają surowce głównie do wytwarzania energii elektrycznej, bez której nie sposób dziś funkcjonować. Do wytwarzania prądu elektrycznego potrzebujemy węgla, ropy naftowej, materiałów promieniotwórczych, wody, gazu, wiatru lub słońca.

Niektóre z tych źródeł, jak słońce i wiatr, są źródłami „darmowymi” ale niestety nie pracują w trybie ciągłym. Traktowanie ich jako podstawowe źródła energii wiązałoby się z koniecznością magazynowania jej i udostępniania w miarę potrzeb, a to z kolei generuje olbrzymie koszty i oczywiście gigantyczne problemy techniczne.

Choć na skutek alarmów ekologów coraz więcej państw deklaruje całkowite odchodzenie od węgla, a nawet od energii jądrowej, to zapewne elektrownie napędzane węglem i ciepłownie spalające mazut będą działały jeszcze przez wiele lat. Dość wątpliwy wydaje się też bilans energetyczny w przypadku samochodów elektrycznych. Niezbędny dla nich prąd, w ilościach większych niż same zużywają (ze względu na sprawność) gdzieś musi być wytwarzany. Zostanie wyeliminowany jedynie problem emisji spalin w dużych aglomeracjach miejskich.

Czy „czystej” energii wystarczy? Jeśli wiatr, słońce i woda nie będą wystarczająco wydajnymi źródłami to będziemy zmuszeni wytwarzać energię innymi metodami, a wtedy smog stanie się stałym elementem krajobrazu. Jednak zamiast snuć takie pesymistyczne rozważania omówimy jak mierzyć parametry otaczającego nas środowiska. Tylko dokładne pomiary pozwalają obserwować zachodzące zmiany i prawidłowo oceniać stan. Z kolei te informacje są niezbędne do wybrania właściwych metod zaradczych i kompensacyjnych.

Tematyka jest niezwykle ważna, ponieważ wpływa niemal bezpośrednio na nasze samopoczucie a nawet zdrowie.

Parametry środowiskowe

Środowisko jest charakteryzowane wieloma parametrami, nie wszystkie jednak mają znaczenie dla przeciętnego człowieka i nie w każdym miejscu. Na przykład dużo większe znaczenie będzie miało określenie stężenia tlenku węgla wewnątrz jakiegoś pomieszczenia, niż w otwartej przestrzeni. O ile w pomieszczeniach zamkniętych dochodzi do stężeń śmiertelnych, to w otwartej przestrzeni raczej nam to nie grozi. Nie mniej jednak tlenek węgla jest substancją silnie toksyczną i z tego względu jest uznawany za zanieczyszczenie powietrza i dlatego internetowe serwisy informujące o jakości powietrza podają także zawartość CO w powietrzu.

Środowisko, to nie tylko powietrze. Wśród profesjonalnych urządzeń przeznaczonych do pomiaru parametrów środowiskowych nie znajdziemy rozwiązań uniwersalnych. Będą to przyrządy wyspecjalizowane, przeznaczone do pomiarów pojedynczych parametrów lub wąskiej ich grupy. Najczęściej mierzonymi parametrami są:

  • temperatura,
  • wilgotność,
  • ciśnienie,
  • zapylenie,
  • stężenie gazów,
  • siła i kierunek wiatru,
  • przepływ powietrza,
  • opady atmosferyczne,
  • hałas,
  • oświetlenie,
  • promieniowanie UV,
  • promieniowanie podczerwone.

Do pomiaru każdego z tych czynników niezbędne są odrębne czujniki. Czasami stanowią one połączenie elementów elektronicznych i mechanicznych, np. w anemometrach. Obecnie konstruktorzy mają bardzo szeroki wybór czujników niemal każdej z powyższych wielkości. Różnią się zasadą działania, dokładnością, rozdzielczością czy interfejsem.

Czujniki wilgotności (i temperatury)

Czujniki temperatury i wilgotności są podstawowymi elementami urządzeń mierzących parametry środowiskowe i dlatego przeszły intensywną ewolucję technologiczną. Nie trudno zauważyć kolosalną zmianę choćby wyglądu pierwszych czujników wilgotności z obecnymi.

Rysunek 1. Uniwersalny czujnik temperatury, wilgotności i ciśnienia atmosferycznego firmy Bosch

Dzisiaj są to elementy w niewielkich obudowach przeznaczonych do montażu powierzchniowego. Bardzo często w jednym chipie są integrowane czujniki zarówno temperatury, jak i wilgotności. Firma Bosch poszła jeszcze dalej umieszczając w układzie o wymiarach 2,5 mm ×2,5 mm ×0,93 mm (rysunek 1) trzy sensory: temperatury, wilgotności względnej oraz ciśnienia atmosferycznego. Niekwestionowaną zaletą tego elementu jest to, że użytkownik otrzymuje czujnik indywidualnie skalibrowany na etapie produkcyjnym. Niestety obudowa typu LGA z całkowicie schowanymi wyprowadzeniami nie ułatwia montażu amatorom. Mogą oni natomiast korzystać z licznych odmian gotowych modułów z zamontowanym tym chipem. Jest to obecnie jeden z najbardziej popularnych układów stosowanych do pomiarów parametrów środowiskowych. BME280 nie jest jednak najwyższym osiągnięciem Bosch’a w tej dziedzinie. W układzie BME680 producent poszedł jeszcze dalej dodając czujnik gazu. Mierzy on lotne związki organiczne VOC (Volatile Organic Compounds), a więc substancje obecne w farbach, klejach, lakierach, środkach czyszczących itp. Oba układy mają interfejsy I2C i SPI. Bosch udostępnia źródła funkcji odczytujących poszczególne parametry uwzględniające indywidualne dane kalibracyjne zapisane w pamięci układu.

Kupując czujnik wilgotności warto zwrócić uwagę na zakresy pomiarowe i dokładności. Na przykład popularny i tani DHT11 mierzy wilgotność w zakresie od 20 do 90 procent z dokładnością 5%, a temperaturę od 0 do 50°C z dokładnością 2°C. Do domowej stacji meteo to wystarczy, natomiast dla profesjonalnego urządzenia na pewno będą to parametry niewystarczające. Może wydawać się nieco zaskakujące, że tak tani i jednak mało dokładny układ przekazuje za pośrednictwem interfejsu 1-wire dane o wilgotności i temperaturze z uwzględnieniem stałych korekcyjnych ustalanych na etapie produkcji, podobnie jak BME280.

Znacznie lepsze parametry ma czujnik SHT11 reprezentujący rodzinę SHT1x. Również jest kalibrowany fabrycznie, mierzy wilgotność względną w zakresie 0...100% ±3%, a temperaturę w zakresie -40°C...123,8°C ±0,4°C, z tym że jest prawie 8-krotnie droższy od DHT11. Układy SHT1x są wykonane w oparciu o sensory pojemnościowe, temperatura natomiast jest mierzona półprzewodnikowym czujnikiem band-gap.

Fotografia 2. Rezystancyjny czujnik wilgotności

Czujniki z interfejsami cyfrowymi są obecnie najchętniej stosowane przez konstruktorów urządzeń elektronicznych. Uzyskiwanie gotowego wyniku w postaci cyfrowej, który może być łatwo obrabiany przez mikrokontroler jest dużą zaletą. Nadal jednak dostępne są czujniki analogowe, wykonywane najczęściej jako rezystancyjne. Sam sensor ma bardzo prostą budowę. Są to ścieżki napylone grzebieniowo na podłożu ceramicznym z dwoma wyprowadzeniami (fotografia 2). Pod wpływem wilgotności zmienia się rezystancja czujnika. Musi być ona odpowiednio przetworzona w układzie pomiarowym, albo wykorzystana bezpośrednio w jakimś układzie wykonawczym nie zawierającym mikroprocesora. Przykładem czujnika rezystancyjnego jest SYH-2R. Jak widać sensor nie jest zabezpieczony żadną obudową. Pomiar może być wykonywany w zakresie od 10 do 95 procent i w przedziale temperatur -20°C...85°C. Dokładność pomiaru w temperaturze 25°C wynosi ±3%.

Konstruując urządzenia z czujnikami wilgotności należy pamiętać o dość wolnej reakcji takich czujników w odpowiedzi na wymuszenia. Przykładowo: czas odpowiedzi pojemnościowego czujnika wilgotności typu RH-HIH001...4 jest równy 15 sekund, ale dla czujnika RHU2026N jest to aż 5 minut.

Dominujące kiedyś w pomiarach temperatury czujniki rezystancyjne są produkowane nadal, występują np. jako termistory NTC, a więc elementy o ujemnym współczynniku zmian rezystancji w funkcji temperatury. Nie ułatwia to pracy konstruktorom, choć w niektórych przypadkach może być cechą korzystną. Zaletą są bardzo małe wymiary. Bez problemu można znaleźć termistory przeznaczone do montażu SMD w obudowach 0805/0603//0402 a nawet 0201. Termistory nie muszą być wyłącznie typu NTC. Czujniki takie, ale o dodatnim współczynniku temperaturowym (PTC) można znaleźć w ofertach wielu dystrybutorów podzespołów elektronicznych. Przykładem jest bardzo popularny układ KTY81-xxx o opornościach zmieniających się w zależności od grupy w zakresie od 1980 Ω do 2100 Ω dla zakresu temperatury -55°C...+150°C. Innym przykładem rezystancyjnych czujników temperatury są - można powiedzieć nieśmiertelne - Pt100, Pt500, Pt1000. Sensory są zbudowane z drutu platynowego nawiniętego na ceramicznym podłożu. Spotykane są też elementy, w których drut jest zastąpiony warstwą platyny napylonej na ceramice. O ile termistory nie wydają się najlepszymi czujnikami do zastosowań w układach pomiaru temperatury, to doskonale sprawdzają się we wszelkiego rodzaju zabezpieczeniach termicznych.

Kolejną grupę czujników temperatury stanowią elementy półprzewodnikowe. W tej grupie pewien standard już dawno temu wyznaczyły układy ówczesnego Dallasa. Do dzisiaj są to jedne z najczęściej stosowanych układów w aplikacjach mierzących temperaturę. Pomiar temperatury jest dokonywany w zakresie -55°C...125°C z dokładnością ±0,5°C. 9-bitowy wynik jest odczytywany za pośrednictwem interfejsu 1-wire. Zmodyfikowana wersja DS18B20 udostępnia nawet daną 12-bitową, ale dokładność pozostaje nadal równa ±0,5°C.

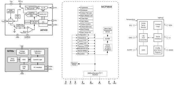
Rysunek 3. Schematy wewnętrzne popularnych czujników temperatury

Układy te są dostępne w obudowach PR35 (quasi-trazystorowej) oraz 16-pinowej SSOP. Dallas (obecnie Maxim) nie jest jedynym producentem cyfrowych czujników temperatury, układy tej grupy można znaleźć u niemal każdego producenta elementów półprzewodnikowych, np.: TMP102 (Texas Instruments), MCP9801, MCP9808 (Microchip Technologu), TMP04, AD7814 (Analog Devices), Si705x (Silicon Labs) itd. (rysunek 3).

Czujniki temperatury z cyfrowymi interfejsami są produkowane w technologii półprzewodnikowej. Bazują na zjawisku zmiany napięcia złącza krzemowego w funkcji temperatury, która wynosi 2 mV/K. Własność ta pozwala uzyskać szeroki zakres pomiarowy z zachowaniem dobrej liniowości. Złącze półprzewodnikowe stosowane jako czujnik temperatury można znaleźć również w układach analogowych. W tym przypadku jest ono na ogół zaopatrywane w bufor wyjściowy. Przykładami są układy: LM135, LM235, LM335 produkowane przez STMicroelectronic. Mają liniową charakterystykę w szerokim zakresie temperatury, natomiast kalibrowana czułość jest równa 10 mV/K. Układy są dostępne w obudowach SO-8 i TO-82.

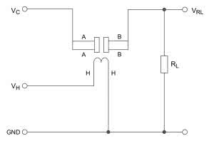
Czujniki półprzewodnikowe nadają się do pomiarów w zakresie do ok. 150°C. Są więc w zupełności wystarczające do pomiarów temperatury otoczenia. Na uwagę zasługuje jeszcze czujnik TS01 firmy DFRobot, który mógłby być użyty do pomiaru intensywności podczerwieni. Trzeba jednak pamiętać, że zasadniczym jego zastosowaniem jest bezkontaktowy pomiar temperatury powierzchni „widzianej” przez sensor (rysunek 4). Czujnik mierzy w zakresie -70°C...+380°C z dokładnością ±0,5°C...±4°C zależną od odległości sensora od badanej powierzchni i odznacza się bardzo dobrą liniowością (rysunek 5). Inną metodą pomiaru promieniowania podczerwonego teoretycznie mogłaby być termowizja, ale koszt matryc termowizyjnych i trudność ich zakupu praktycznie eliminuje ją z zastosowań praktycznych. Jako ciekawostkę można przytoczyć jedną z nielicznych ofert dotyczących takich matryc, którą można znaleźć pod adresem http://bit.ly/2rqwxqv. Cena 55000 zł jest czynnikiem mocno zniechęcającym do zakupu.

Rysunek 4. Czujnik wysokich temperatur TS01 firmy DFRobot

Czujniki ciśnienia

Skupimy się na czujnikach pokrywających zakres ciśnienia atmosferycznego. Rekordowe, skrajne wyniki notowane w Polsce to: 965,2 hPa (Poznań, 1989 r.) oraz 1054 hPa (Suwałki, 1997 r.). Rekordy światowe to: 870 hPa (Północny Pacyfik, 1979 r. podczas tajfunu Tip) oraz 1086 hPa (Tosontsengel w Mongolii, 2001 r.). Trudno znaleźć czujnik, który by pokrywał dokładnie zakres zmian ciśnienia atmosferycznego. Zwykle są to elementy o zakresie szerszym, ale z marginesem nie należy przesadzać. Zbyt szeroki zakres oznacza utratę rozdzielczości oraz zwiększenie szumów. Należy też rozważyć czy do budowy urządzenia stosować odrębne czujniki mierzące każdą z omawianych wielkości niezależnie, czy jednak decydować się na któryś z czujników mierzących kilka parametrów. To drugie rozwiązanie ma niekwestionowaną zaletę - ułatwia realizację kompensacji temperaturowej, albo wręcz już sam czujnik podaje odpowiednio skorygowane wyniki.

Rysunek 5. Charakterystyka czujnika temperatury TS01

Prawdziwym hitem okazał się wspomniany już, produkowany przez Boscha układ BME280 mierzący ciśnienie, temperaturę i wilgotność, a więc 3 podstawowe parametry wskazywane przez domowe stacje meteo. Zakres pomiarowy rozciąga się od 300 do 1100 hPa, a więc pokrywa nawet światowe rekordy. Katalogowy współczynnik temperaturowy tego czujnika jest równy ±1,5 Pa/K, a szum 0,2 Pa. Układ jest dość prosty w użyciu. Ma bardzo dobrze opracowaną dokumentację. Trzy tryby pracy - Sleep, Normal i Forced - są przydatne w zastosowaniach bateryjnych, chociaż nawet w normalnym trybie układ pobiera zaledwie 3,6 mA mierząc wszystkie parametry w odstępach 1-sekundowych. Jedynym problemem może być dość trudna w montażu obudowa (fotografia 6). Wówczas można użyć gotowego modułu, np. Adafruit z zamontowanym czujnikiem BME280 o wymiarach 19 mm ×18 mm ×3 mm.

Fotografia 6. Punkty lutownicze układu BMS280

Innym, godnym uwagi czujnikiem ciśnienia, który może być stosowany w urządzeniach do pomiaru parametrów środowiskowych jest LPS25H firmy STMicroelectronics. Układ ten mierzy temperaturę i ciśnienie w zakresie od 260 hPa do 1260 hPa, a więc z dużym zapasem. Dane formowane przez 24-bitowy przetwornik A/C są dostępne z poziomu interfejsów cyfrowych SPI lub I2C. Biorąc pod uwagę, że użytkownika będzie interesował tylko zakres 100 hPa (np. od 960 hPa do 1060 hPa) rozdzielczość pomiaru spada do niecałych 21 bitów (dokładniej 20,7). Układ ma wbudowany filtr cyfrowy używany do minimalizacji szumu, nawet do poziomu 0,02 hPa. Jest dostępny w obudowie HCLGA-10L, niestety niełatwej w montażu.

Alternatywą dla LPS25H może być MEMS-owy czujnik MPL3115A2 przeznaczony w zasadzie do wysokościomierzy, ale mogący pracować też w trybie barometrycznym. W trybie „Altimeter” dane wyjściowe są przeliczane przez wewnętrzny procesor na wysokość podawaną w stopach. W trybie „Barometer” ciśnienie atmosferyczne podawane jest w paskalach z rozdzielczością 20 bitów. Jak przystało na układy firmy NXP (Freescale) czujnik wyprowadza dane interfejsem I2C.

Zwolennicy czujników analogowych nie pozostają z pustymi rękoma. Nadal w ofercie można znaleźć kilka typów układów nadających się do pomiarów ciśnienia atmosferycznego. Zaletą rozwiązań analogowych jest pełna kontrola nad zakresem pomiarowym, który może być precyzyjnie ustalony odpowiednim wzmacniaczem operacyjnym. Wadą natomiast bywa dość słaba kompensacja temperaturowa z czym wiąże się konieczność uwzględniania w projekcie niezależnego czujnika temperatury. Z drugiej strony w urządzeniu mierzącym parametry środowiskowe i tak czujnik taki powinien się znajdować. Przykładem analogowego czujnika ciśnienia jest MPXA4115A6U (fotografia 7). Można go nazwać następcą układów MPX produkowanych kiedyś jeszcze przez Motorolę. Obecnie, po różnych przekształceniach własnościowych producentem jest firma NXP.

Fotografia 7. Analogowy czujnik ciśnienia MPXA4115A6U

Przy wyborze MPX-ów należy zwracać uwagę na to czy są to czujniki ciśnienia absolutnego czy różnicowego. Do pomiarów barometrycznych wymagany jest oczywiście czujnik absolutny. Ma on szczelną, próżniową komorę referencyjną, do której jest odnoszone ciśnienie działające na membranę przez otwór zewnętrzny (rysunek 8). W przypadku użycia układu MPXA4115A6U problemem może być zasilanie. Układ ten wymaga napięcia 4,75...5,25 V, którego w systemach 3-woltowych może nie być. Według informacji producenta, MPXA4115A6U jest skompensowany temperaturowo w bardzo szerokim zakresie od -40°C do +125°C (aż trudno w to uwierzyć).

Rysunek 8. Budowa wewnętrzna czujnika MPXA4115A6U

Jeszcze 20 lat temu ówczesna Motorola była prawie monopolistą w produkcji czujników ciśnienia, przynajmniej dostępnych niekomercyjnie. Dzisiaj nie ma Motoroli, nie ma nawet Freescale’a, w którą została przekształcona. Jest za to firma NXP, która jest spadkobiercą po poprzednikach. Na szczęście doświadczenia i technologie przetrwały, a nawet zostały rozwinięte. Dowodem jest jeszcze jeden czujnik, który z powodzeniem może być stosowany w barometrach elektronicznych. Jest to bardzo podobny do omawianego wcześniej MPXA4115A6U układ MPL115 występujący w wersji A1 (z interfejsem SPI) i A2 (z interfejsem I2C). Czujnik ten ma najkorzystniejszy do pomiarów barometrycznych zakres 500 hPa do 1150 hPa, pobiera w stanie aktywnym zaledwie 5 mA prądu i działa z zasilaniem 2,4 V...5,5 V.

Czujniki gazów

Z punktu widzenia parametrów środowiskowych będą nas interesować najbardziej czujniki tlenku węgla, dwutlenku węgla i dwutlenku azotu. Warto wiedzieć, że wbrew potocznym opiniom to nie tlenek węgla jest najbardziej szkodliwym składnikiem otaczającego nas powietrza, a tlenki azotu, których co gorsza mamy wokół pod dostatkiem. Głównym źródłem emisji jest transport drogowy (największy udział mają samochody z silnikami Diesla) oraz fabryki produkujące nawozy sztuczne. W smogu, o którym mówi się ostatnio coraz częściej najbardziej szkodliwy jest dwutlenek azotu (NO2), a także mniej szkodliwy tlenek azotu (NO). Pomiar NO jest jednak ważny, gdyż gaz ten w krótkim czasie utlenia się samoistnie do bardzo już toksycznego NO2.

Biorąc pod uwagę pomiary czystości powietrza na przykład w różnych zakładach chemicznych, lakierniach, kopalniach itp. mogą być również potrzebne czujniki innych gazów, przede wszystkim toksycznych i wybuchowych. Bez większego problemu można zakupić czujniki przeznaczone do pomiaru takich gazów jak metan, etanol, amoniak, propan-butan, dym, gaz ziemny. Trzeba jednak podkreślić, że w zasadzie nie ma czujników przeznaczonych do selektywnego pomiaru określonego gazu. Czujniki reagują w mniejszym lub większym stopniu na każdy rodzaj gazu, z tym że na niektóre z nich są bardziej wyczulone. Dokładna identyfikacja danego gazu wymagałaby metod spektrometrycznych, ale tu już przechodzimy do zupełnie innej grupy przyrządów i metod pomiarowych, których w tym artykule nie omawiamy. Są natomiast czujniki, których zasada działania jest w pewnym stopniu zbliżona do spektrometrii. Bazują na zjawisku absorpcji promieniowania podczerwonego przez gazy.

Czujnik taki zawiera komorę przez którą przepływa gaz (powietrze badanego środowiska) oświetlaną wiązką podczerwoną. W czujniku H-550 koreańskiej firmy ELT zastosowano źródło podczerwieni o długości fali 4,3 mm. Na końcu tuby jest umieszczony czujnik badający natężenie wiązki podczerwonej, która jest tłumiona w stopniu proporcjonalnym do stężenia gazu. Czujnik zawiera dość złożony układ analizujący odebrane dane i na tej podstawie wyprowadza wynik przez interfejs I2C podający w postaci tekstowej zmierzone stężenie gazu. Układy tego typu mają dość złożoną budowę i nie są tanie. Odznaczają się dobrą selektywnością i długą żywotnością. Rynek natomiast zdominowały dużo tańsze czujniki działające na zupełnie innej zasadzie.

Rysunek 9 Schemat wewnętrzny typowego czujnika gazu

Podstawowym elementem większości popularnych czujników gazu jest struktura wykonana z dwutlenku cyny (tlenku cyny IV) SnO2. Związek ten charakteryzuje się małą przewodnością w czystym powietrzu, która jednak znacząco wzrasta, gdy znajdzie się w środowisku gazowym. Wynika to z reakcji zachodzących na powierzchni struktury z otaczającym ją gazem. Wymagana jest do tego jednak stosunkowo wysoka temperatura, dlatego czujniki tego typu są zamykane w wielowyprowadzeniowych obudowach zawierających oprócz końcówek pomiarowych piny zasilające miniaturową wewnętrzną grzałkę (rysunek 9). Niestety, temperatura do której jest podgrzewana struktura ma również wpływ na wynik pomiaru. Napięcie zasilające grzałkę musi więc być utrzymywane w dość ściśle określonym zakresie. Wadą takich czujników jest względnie wysoka moc zużywana przez grzałkę. Na przykład w przypadku popularnego czujnika MQ-2 jest to ok. 900 mW. Przed użyciem musi być on poddany 48-godzinnemu grzaniu wstępnemu. Charakterystykę sensora MQ-2 pokazano na rysunku 10a, zaś na rysunku 10b widzimy zależność wskazań od temperatury otoczenia i wilgotności. Niestety, jest ona dość spora dla obu tych czynników. Urządzenie z czujnikiem MQ-2 pracujące w różnych warunkach atmosferycznych musi więc mierzyć temperaturę i wilgotność względną w celu korekcji końcowego wyniku stężenia gazu.

Rysunek 10. Charakterystyka sensora MQ-2, a) zależność RS/R0 w funkcji stężenia gazu, b) zależność wskazań od temperatury otoczenia i wilgotności

Powyższe wady wyeliminowano na przykład w czujniku SGP30. Jest to termicznie skompensowany czujnik związków organicznych TVOC (Total Volatile Organic Compounds) i CO2 z wyjściem cyfrowym (I2C). Układ ten jest dużo bardziej odporny na szkodliwy wpływ obecnych w otoczeniu gazów zanieczyszczających, które mogły powodować nawet trwałe uszkodzenia czujnika MQ-2. Po zainicjowaniu pracy czujnik wykonuje pomiary w cyklach 1-sekundowych. Zawarty w chipie procesor podaje uśredniony dla wszystkich gazów wynik charakteryzujący ogólnie jakość powietrza. Wyjątkiem jest CO2, którego stężenie jest podawane niezależnie. Do celów testowych zarezerwowano też format RAW podający dane nieobrobione. Jest on używany do weryfikacji i kalibracji pomiarów z zastosowaniem innych przyrządów. Oprócz stężenia CO2 układ podaje w tym trybie również zmierzone stężenia wodoru (H2) i etanolu.

Jedną z podstawowych decyzji, jakie musi rozpatrzyć konstruktor urządzenia do pomiaru jakości powietrza jest wybór rodzaju wyjścia. Czy sygnał wyjściowy powinien mieć postać analogową, którą następnie można dowolnie obrabiać za pomocą mikrokontrolera wyposażonego w przetwornik analogowo-cyfrowy, czy decydować się raczej na gotowy wynik, obrobiony przez wbudowany procesor? W drugim przypadku pozostaje jedynie wyprowadzenie danej do jakiegoś urządzenia końcowego lub zapisanie w jakimś rodzaju pamięci do celów ewentualnej dalszej analizy np. przez komputer. Czujniki cyfrowe nie zawsze udostępniają dane w formacie RAW, więc należy się liczyć z tym, że można nie mieć nad nimi pełnej kontroli. Przykładem może być dość chimeryczny czujnik CCS811 firmy AMS, który przekazuje dane już obrobione przez własny procesor, i jak pokazuje praktyka użytkownicy mają z nim sporo problemów. Najważniejszym jest mała stabilność wskazań i mała powtarzalność wskazań, mimo że jest to element bardzo nowoczesny i wewnętrznie skompensowany. Należy zwrócić uwagę na to, że podawane przez sensory wyniki są zawsze odnoszone do jakiegoś poziomu referencyjnego - RS/R0. Widać to na przykład na charakterystyce przedstawionej na rysunku 10a. Pozostaje więc kwestia ustalenia tej wartości.

Na przykład układ CCS811 przyjmuje poziom referencyjny w chwili rozpoczęcia pomiarów (włączenia urządzenia). Użytkownik musi więc zadbać o to, by włączenie następowało zawsze w czystym środowisku, czyli w środowisku odniesienia. Pytanie czy jest to możliwe do spełnienia? Inną dość uciążliwą wadą jest dość długi czas wygrzewania wstępnego po długim okresie bezczynności. CCS811 potrzebuje na to aż 20 minut. Dopiero po tym czasie wpisuje do rejestru bazowego parametr przyjmowany później jako wartość odniesienia.

Układ CCS811 nie ma wprawdzie wewnętrznego czujnika wilgotności i temperatury, ale jeśli dane o tych parametrach są dostępne, mogą być wpisywane do rejestrów układu i uwzględniane do kompensacji. Wady związanej z koniecznością wstępnego wygrzewania nie mają czujniki absorpcyjne, oparte na technologii NDIR (Nondispersive Infrared Sensor), takie jak omówiony wcześniej H-550.

Omawiając czujniki warto wspomnieć o gotowych modułach zawierających sam układ oraz elementy niezbędne do jego pracy. Moduły te mają z reguły kilka wyprowadzeń służących do połączenia z systemem nadrzędnym, najczęściej jakimś układem mikroprocesorowym. Dużym zainteresowaniem cieszą się moduły, które można bezpośrednio dołączać do płytek Arduino, a jeśli to nie jest możliwe, dostępne są również odpowiednie interfejsy. Przykładami takich modułów są:

  • SparkFun CCS811 z czujnikiem CCS811,
  • modMQ-5 moduł z czujnikiem MQ-5 mierzącym stężenia gazów ziemnych i LPG,
  • modMQ-7 moduł z czujnikiem stężenia czadu MQ-7,
  • Pololu Carrier for MQ Gas Sensor - uniwersalna płytka dla czujników gazów rodziny MQ,
  • Waveshare Gas Sensor - moduł z czujnikiem gazu ziemnego i LPG kompatybilny z Arduino i Raspberry Pi,
  • Adafruit MiC5524 - moduł z czujnikiem czadu, alkoholu i lotnych związków organicznych,
  • a także wiele innych.

Czujniki zapylenia

Polska należy do najbardziej zanieczyszczonych krajów Europy. Ekolodzy biją na alarm, politycy zachowują stoicki spokój. Pomiary jednak mówią same za siebie (tabela 1). Sytuacja smogowa w późnowieczornej porze jednej z październikowych niedziel wyglądała w Europie tak, jak na mapie z rysunku 11. Równie źle jak w Polsce było chyba tylko w Czechach, na Słowacji i na Węgrzech. Pytanie czy w tym przypadku o zaistniałej sytuacji nie decydują jednak inne, niezależne bezpośrednio od człowieka czynniki np. atmosferyczne?

Rysunek 11. Sytuacja smogowa w późnowieczornej porze jednej z październikowych niedziel 2019 roku

Na wspomnianej mapce wyraźnie można zauważyć ciągnącą się południkowo strefę szczególnego zagrożenia smogowego przechodzącą przez Gdańsk, Włocławek, Zgierz i dalej na Słowację i Węgry, a nawet Serbię. Sytuacja nie wygląda dobrze, a działania zapobiegawcze są niewielkie. Powoli czynione są kroki mające na celu wyeliminowanie starych, zanieczyszczających środowisko pieców grzewczych, w niektórych rejonach wydawane są nawet zakazy palenia drewnem.

Na podstawie różnych badań pył unoszony, a właściwie zawieszony w otaczającym nas powietrzu podzielono na kategorie zależne od wielkości cząsteczek. W informacjach o środowisku wyróżniany jest pył PM10 o cząstkach mających średnicę poniżej 10 mikrometrów oraz jeszcze drobniejszy pył PM2,5 zawierający cząstki o średnicy mniejszej od 2,5 mikrometra. W obu przypadkach pył ten może składać się z cząstek organicznych lub nieorganicznych zawierających rakotwórcze toksyny. Warto więc z nim walczyć. Dostępne czujniki zapylenia są konstruowane w oparciu o powyższe założenia, ale dość powszechnie spotykany jest jeszcze jeden zakres (PM1) umożliwiający mierzenie stężeń pyłu o średnicy mniejszej od 1 mm.

Parlament Europejski w 2008 roku ustalił dopuszczalne poziomy pyłów zawieszonych. Dla pyłu PM10 średnie roczne stężenie w powietrzu nie powinno przekraczać 40 mg/m3, średniodobowe zaś nie powinno być wyższe niż 50 mg/m3 . Dodatkowo dopuszcza się najwyżej 35 dni w roku, w których notowane jest przekroczenie dobowe. Są to dość rygorystyczne warunki, ale i tak są łagodniejsze od norm Światowej Organizacji Zdrowia. Groźniejszy dla zdrowia jest pył PM2,5, gdyż jego cząstki mogą wnikać bezpośrednio do ludzkiego krwioobiegu. Wytyczne WHO określają maksymalne stężenie dobowe na poziomie 25 mg/m3 nie więcej niż 3 dni w roku i 10 mg/m3 jako stężenie średnioroczne.

Jak taki pył mierzyć? Jak można przypuszczać w grę wchodzą wyłącznie metody optyczne. Czujnik pyłu musi więc być wykonany w postaci komory z umieszczonym w jednym jej końcu źródłem światła przechodzącego na drugą stronę. Tu musi być umieszczony odpowiedni detektor mierzący natężenie padającego oświetlenia. Nasuwa się pytanie, jak wpuścić powietrze do komory bez wpuszczania światła zewnętrznego, ale to już tajemnice producentów czujników, którymi nie zawsze chcą się dzielić z innymi. Trzeba jeszcze pamiętać o odpowiedniej wentylacji takiej komory, co jest niezbędne do uzyskiwania bieżących wskazań. Na szczęście oferta czujników zapylenia jest dość bogata i konstruktorzy mogą wybierać spośród wielu modeli. Z uwagi na dość skomplikowaną budowę elementów tego typu należy liczyć się z dość wysokimi cenami.

Podobnie jak w przypadku czujników gazów, czujniki zapylenia często są zgodne z popularnymi gotowymi systemami mikroprocesorowymi, takimi jak Arduino czy Raspberry Pi. Oznacza to również łatwość dołączania niemal do dowolnego mikrokontrolera. Użytkownicy takich standardów jak Arduino mogą liczyć na gotowe, a co najważniejsze darmowe funkcje biblioteczne służące do obsługi czujnika.

Fotografia 12. Laserowy czujnik pyłu PMS5003

Przegląd rozpoczynamy od laserowego czujnika PMS5003 przeznaczonego do pomiarów stężeń wszystkich rodzajów pyłu. Jest on dość wymagający pod względem zasilania, gdyż w stanie aktywnym pobiera aż 120 mA prądu, a napięcie zasilające powinno być utrzymywane w zakresie od 4,95 V do 5,05 V, czyli 5 V ±1%. Komora pomiarowa przedmuchiwana zewnętrznym wentylatorem narzuca niestety dość duże wymiary obudowy. Dla PMS5003 jest to 46 mm ×35 mm ×20 mm (fotografia 12). Czujnik mierzy stężenie pyłu z podziałem na trzy kategorie uwzględniające średnicę cząsteczek: 0,3...1,0 mm, 1,0...2,5 mm oraz 2,5...10 mm, w zakresie od 0 do 1000 mg/m3 . Komunikacja z mikrokontrolerem odbywa się za pośrednictwem interfejsu UART. Czas odpowiedzi jest krótszy niż 10 s.

Wewnętrzny procesor czujnika PMS5003 realizuje dość skomplikowaną analizę danych uzyskiwanych z układu pomiaru natężenia oświetlenia emitowanego przez laser. Uwzględniana jest zarówno dziedzina częstotliwości, jak i dziedzina czasu. Na podstawie złożonych obliczeń ustalane są stężenia poszczególnych rodzajów pyłów.

Fotografia 13. Laserowy czujnik pyłu HM-3300

Następny czujnik stężenia pyłu to HM-3300. Pomiar odbywa się z zastosowaniem lasera oświetlającego powietrze zasysane przez wentylator do komory pomiarowej i układu mierzącego rozproszenie tego światła (fotografia 13). Oprócz zastosowań czysto pomiarowych mających na celu ocenę jakości powietrza czujnik jest przeznaczony także do badania jakości powietrza w systemach klimatyzacyjnych, detektorach zagrożeń itp. Jest zgodny z normami ISO 21501-4, ISO 14644-1 i FS209E. Czujnik HM-3300 ma aż 6 kanałów pomiarowych pozwalających mierzyć cząsteczki pyłu o średnicach 0,3 mm, 0,5 mm, 1,0 mm, 2,5 mm, 5 mm oraz 10 mm. Dane są przesyłane interfejsem UART (opcjonalnie I2C). Układ pomiarowy jest kompensowany temperaturowo i wilgotnościowo. Średni prąd zasilający czujnik HM-3300 jest równy 75 mA, ale chwilowo może dochodzić do 120 mA, zaś w uśpieniu pobiera tylko 150 mA. Jest nieznacznie mniejszy od omawianego wcześniej, jego wymiary to: 40 mm ×38 mm ×15 mm. W trybie aktywnym przez cały czas pracuje wentylator ale jest na tyle cichy, że praktycznie niesłyszalny a dodatkowo jest wyłączany w trybie uśpienia. Przywrócenie do stanu aktywnego wymaga 30 sekund na ustabilizowanie się wskazań.

Zasada działania czujników takich jak HM-3300 jest oparta na bardzo złożonej teorii rozpraszania Mie (Miego), której nie będziemy tu opisywali. Można tylko wspomnieć, że dotyczy ona rozpraszania światła na cząstkach sferycznych, a nazwę zawdzięczamy autorowi rozwiązań równań Maxwella, niemieckiemu fizykowi Gustawowi Mie. Wszystkie, jak można sądzić dość skomplikowane obliczenia, są wykonywane przez procesor czujnika, a użytkownik dostaje obrobiony wynik końcowy.

Czujniki laserowe są bardzo precyzyjne, mierzą selektywnie poszczególne rodzaje pyłu, ale niestety są dość drogie. Nie zawsze są wymagane takie parametry. W ofertach znajdują się dużo tańsze czujniki optyczne, wykorzystujące najczęściej źródło podczerwieni.

Przykładem jest czujnik GP2Y1010AU0F produkcji Sharp. Układ ten zawiera diodę IRED i kompatybilny z nią fototranzystor. Nie ma własnego procesora, a cały pomiar jest w pełni analogowy. Producent zaleca zasilanie diody podczerwonej impulsowo z częstotliwością 100 Hz i współczynnikiem wypełnienia 0,32. Napięcie wyjściowe jest proporcjonalne do stężenia pyłu, przy czym nie jest rozróżniana wielkość cząstek. Z tego powodu czujnik powinien być stosowany np. jako detektor dymu a nie precyzyjny miernik zapylenia.

Decydując się na zakup czujnika stężenia pyłu warto zwrócić uwagę na jeden parametr, który nie zawsze jest podawany przez producentów. Chodzi o żywotność czujnika. Elementy te mają dwa słabe punkty. Są to: źródło światła (laser lub dioda IRED) oraz wentylator.

Gwarantowany czas pracy jest dla dużej części czujników określany na 2 lata. To mało, jeśli weźmiemy pod uwagę cenę. W praktyce żywotność czujników jest zwykle dłuższa, ale niepewność pozostaje. Czujnikiem, który można zaliczyć do najbardziej trwałych, jeśli wierzyć danym katalogowym, jest SPS30 firmy Sensirion. Producent określa jego żywotność na 8 lat i to przy pracy ciągłej. Czujnik mierzy pył: PM1,0, PM2,5, PM4 oraz PM10 o stężeniach od 1 mg/m3 do 1000 mg/m3 z rozdzielczością 1 mg/m3 pobierając średni prąd o natężeniu mniejszym miż 60 mA. Działa na zasadzie pomiaru rozpraszania wiązki laserowej. Komunikuje się za pośrednictwem interfejsów UART i I2C. Obudowa ma wymiary 40,6 mm ×40,6 mm ×12,2 mm.

Czujniki UV

Można się zastanawiać, jak to się stało, że na Ziemi istnieje życie i to od tysięcy lat, skoro wszystko co nas otacza jest szkodliwe - pył zanieczyszczający powietrze, zbyt niska, albo zbyt wysoka temperatura, dziura ozonowa, toksyczne gazy…. Nawet słońce - z jednej strony niezbędne do życia, z drugiej strony może nas zabić. Naturalny w widmie światła słonecznego ultrafiolet (UV), jeśli jest dostarczany w nadmiernych dawkach powoduje groźne choroby skóry.

Stacje monitorujące na ogół nie mierzą poziomu promieniowania ultrafioletowego, a przynajmniej nie podają tego parametru do publicznej wiadomości. Wynika to prawdopodobnie z dużej zależności tego parametru od czynników zewnętrznych: ukształtowania terenu, zabudowań itp. Poziom promieniowania ultrafioletowego zmierzony w danym miejscu może być wyraźnie inny od poziomu zmierzonego 100 metrów dalej. Budując domową lub biurową stację diagnostyczną informującą o zagrożeniach w miejscu, w którym spędzamy znaczną część dnia można pokusić się o taki pomiar. Potrzebna będzie do tego fotodioda na zakres ultrafioletu. Elementem takim jest na przykład fotodioda Schottky’ego GUVA-S12SD produkowana na bazie azotku galu (GaN) przystosowana do montażu powierzchniowego. Użyteczny sygnał jest uzyskiwany w klasycznym układzie ze wzmacniaczami operacyjnymi. W sklepach internetowych dostępny jest też kompletny moduł pomiarowy Waveshare. Charakterystykę czułości fotodiody UV pokazano na rysunku 14.

Rysunek 14. Charakterystyka czułości fotodiody UV typu GUVA-S12SD

Jednym z układów, które integrują w jednym chipie wszystkie elementy niezbędne dla dostarczenia pełnego wyniku, jest VEML6070 produkcji Vishay. Do kompletnej aplikacji niezbędny jest tylko rezystor dołączany do wejścia RSET oraz standardowe rezystory podciągające linie interfejsu I2C, przez który odbywa się komunikacja i odczyt wyników pomiarów. Sensor jest wyczulony na falę o długości ok. 360 nm, a więc na zakres UV-A. Chociaż ultrafiolet zakresu UV-A stanowi zaledwie ok. 4,9% całego widma UV, to jest on szczególnie niebezpieczny, gdyż ma zdolność do głębokiego wnikania w skórę człowieka. Stopień tej szkodliwości nie wynika wyłącznie z natężenia promieniowania mierzonego w W/m2, ale brana jest pod uwagę również długość fali. Czujnik VEML6070 wykonuje dość złożone obliczenie, w wyniku którego uzyskiwany jest specjalny 12-stopniowy ważony indeks uwzględniający charakterystykę czujnika i mierzone promieniowanie UV. Indeks ten informuje o szkodliwości promieniowania.

Jeśli konieczny jest pomiar widma UV-B, należy użyć czujnika VEML6075. Jest to analogiczny układ do VEML6070, różniący się jedynie dodatkową czułością zarówno na widmo UV-A, jak i na UV-B.
Kierunkowa czułość obu zakresów jest bardzo zbliżona, a kształt charakterystyki zbliżony jest do cosinusoidy. Fotodioda jest źródłem prądowym, z tego względu współpracujący z nią wzmacniacz powinien być starannie dobrany. Do takiego zastosowanie można polecić np. wzmacniacz MAX4172 produkowany przez Maksima.

Czujniki opadów atmosferycznych

Z opadami atmosferycznymi jest pewien problem. Wydaje się, że z takim pomiarem nie powinno być większego problemu, okazuje się jednak, że stosowane metody są oparte nawet na technice radarowej. Najprostszym czujnikiem deszczu może być na przykład jakiś układ z rezystorem w postaci napylonej lub wytrawionej warstwy przewodzącej na jakimś podłożu. O ile taki układ względnie dobrze będzie się sprawował jako detektor opadu, to jako miernik już nie bardzo. Jedną z przyczyn może być różna przewodność deszczu wynikająca choćby z poziomu zanieczyszczeń w chwili pomiaru. Pamiętajmy również, że wszędzie tam gdzie jednocześnie występuje prąd i woda, należy liczyć się z elektrolizą, która może czynić duże spustoszenie w czujniku. Z tego powodu metodę rezystancyjną należy raczej odrzucić.

Dobrym rozwiązaniem jest metoda radarowa. Jednak należy zaznaczyć, że zbudowanie takiego czujnika w warunkach amatorskich jest praktycznie niewykonalne. Wśród gotowych profesjonalnych rozwiązań warto zwrócić uwagę na radarowy czujnik R2S firmy Lufft.

Zastosowano w nim radar dopplerowski 24 GHz rejestrujący prędkość opadania kropli deszczu. Ilość deszczu jest obliczona na podstawie korelacji wielkości kropli deszczu i ich prędkości. Specjalne oprogramowanie udostępniane z tym czujnikiem przez producenta potrafi nawet zidentyfikować rodzaj opadu (deszcz, śnieg, grad, marznący deszcz lub deszcz ze śniegiem). Czujnik charakteryzuje się bardzo wysoką rozdzielczością wybieraną przez użytkownika spośród wielkości standardowych: 1 mm, 0,1 mm i 0,01 mm. Czujnik jest dołączany do komputera za pośrednictwem interfejsu RS-485 z komunikacją pół-dupleksową.

W ofercie firmy Lufft jest jeszcze inny czujnik opadu działający na podobnej zasadzie, mający oznaczenie WS100 (fotografia 15). Komora pomiarowa jest w nim podgrzewana, dzięki czemu zachowana jest ciągłość pomiarów niezależnie od pory roku. Czujnik wykrywa krople o wielkości od 0,3 mm do 5 mm, które są rozróżniane w 11 klasach.

Fotografia 15. Radarowy czujnik opadu WS100 firmy Lufft

Podsumowanie

W artykule omówiono najważniejsze grupy czujników stosowanych do badania jakości parametrów środowiskowych. Pominięto zagadnienia związane z pomiarem hałasu, przepływu powietrza i oświetlenia, uznając że są to parametry mierzone w przypadkach szczególnych. Ograniczono się do elementów, na bazie których można budować amatorskie lub półprofesjonalne stacje meteorologiczne. Jednym z większych problemów związanych z pomiarami parametrów środowiskowych jest to, że wielu z nich nie da się mierzyć wprost. Konieczna jest mniej lub bardziej zaawansowana analiza matematyczna połączona często z bardzo wyrafinowanymi technikami pomiarowymi lub nietypowymi konstrukcjami czujników.

Jarosław Doliński, EP

Artykuł ukazał się w
Elektronika Praktyczna
grudzień 2019
DO POBRANIA
Pobierz PDF Download icon
Elektronika Praktyczna Plus lipiec - grudzień 2012

Elektronika Praktyczna Plus

Monograficzne wydania specjalne

Elektronik listopad 2025

Elektronik

Magazyn elektroniki profesjonalnej

Raspberry Pi 2015

Raspberry Pi

Wykorzystaj wszystkie możliwości wyjątkowego minikomputera

Świat Radio listopad - grudzień 2025

Świat Radio

Magazyn krótkofalowców i amatorów CB

Automatyka, Podzespoły, Aplikacje listopad - grudzień 2025

Automatyka, Podzespoły, Aplikacje

Technika i rynek systemów automatyki

Elektronika Praktyczna listopad 2025

Elektronika Praktyczna

Międzynarodowy magazyn elektroników konstruktorów

Elektronika dla Wszystkich grudzień 2025

Elektronika dla Wszystkich

Interesująca elektronika dla pasjonatów