Cyfrowy stereofoniczny mikrofon z procesorem DSP

Cyfrowy stereofoniczny mikrofon z procesorem DSP
Pobierz PDF Download icon

Jest to niewielki stereofoniczny mikrofon z całkowicie cyfrowym torem przetwarzania sygnału. Układ może znaleźć zastosowanie w radiokomunikacji, układach detekcji i rozpoznania mowy lub jako mikrofon używany podczas webinariów, gdzie często jakość dźwięku mocno odstaje od jakości obrazu. Ze względu na funkcjonalność definiowaną programowo układ może być łatwo zoptymalizowany do innych zastosowań.

Podstawowe parametry:
  • stereofoniczny mikrofon z cyfrowym torem przetwarzania sygnału,
  • kształtowanie charakterystyki sygnału np. dla poprawienia wyrazistości mowy,
  • poziom sygnału wyjściowego ograniczany cyfrowym limiterem,
  • niewielki pobór prądu – przy zasilaniu 4,5 V wynosi ok. 5 mA.

W module zastosowano cyfrowe mikrofony PDM typu MP34DT05 oraz procesor ADAU1772, znany Czytelnikom z projektu PicoDSP. Zastosowanie mikrofonów z cyfrowym interfejsem PDM umożliwia eliminację analogowych bloków wzmocnienia, znacząco upraszczając budowę układu.

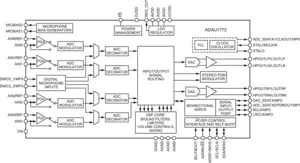
Rysunek1. Struktura wewnętrzna ADAU1772

Układ ADAU1772 w swojej strukturze wewnętrznej, która została pokazana na rysunku 1, integruje nie tylko rdzeń DSP, ale także kodek audio z przedwzmacniaczami, bloki programowalnego wzmocnienia PGA oraz pomocnicze układy peryferyjne takie jak układ polaryzacji dla mikrofonów pojemnościowych, generatory transmisji szeregowej I2S/PDM umożliwiające realizację kompleksowego toru audio z obróbką DSP. Ze względu na przeznaczenie układu ADAU1772 do aplikacji mobilnych, cechuje się on niewielkim poborem mocy przy zachowaniu dużych możliwości kształtowania sygnału.

Podstawowe cechy procesora ADAU1772:

  • obróbka sygnału z częstotliwością próbkowania do 192 kHz, z niską latencją,
  • 4 przetworniki A/D 24-bitowe z programowanym PGA,
  • 2 przetworniki D/A 24-bitowe,
  • wbudowane obwody polaryzacji dla mikrofonów elektretowych,
  • wbudowany driver dla słuchawek niskoomowych (do 30 mW na 16 Ω),
  • interfejs dwukierunkowy I2S, TDM, PDM,
  • 7 konfigurowalnych portów GPIO,
  • tryb Selfboot, umożliwiający pracę bez zewnętrznego mikrokontrolera,
  • napięcie zasilania 1,8...3,3 V, niski pobór mocy (<50 mW),
  • łatwe programowanie w graficznym środowisku Sigma Studio (od wersji 3.14).
UWAGA: pamięć Eeprom i DSP pracują z zasilaniem 1,8 V, przed podłączeniem programatora USBi należy ustawić na nim zworę zasilania w położeniu „1,8 V”. Podłączenie programatora USBi w starej lub alternatywnej wersji wspierającej tylko sygnały standardu 3,3 V uszkodzi procesor DSP.

Budowa i działanie

Schemat urządzenia został pokazany na rysunku 2. Procesor U1 współpracuje z dwoma cyfrowymi mikrofonami MIC1 i MIC2 poprzez interfejs PDM. Mikrofony typu MP34DT05 wykonywane są jako moduły monofoniczne, ale oczywiście mogą pracować parami w trybie stereo. Wybór aktywnego kanału PDM, możliwy jest przez konfigurację sprzętową i odpowiednią polaryzację wyprowadzenia wyboru kanału LR. Zasilanie mikrofonów jest odsprzęgane filtrami z elementami FB1, FB2, C12...C15.

Rysunek 2. Schemat ideowy urządzenia

Oscylator X1 o częstotliwości 12,288 MHz zapewnia taktowanie procesora DSP. Analogowy sygnał wyjściowy i zasilanie układu wyprowadzone są na złącze OUT. Układ U3 typu ADP160-1.8 dostarcza napięcia zasilania 1,8 V. Układ zasilany jest z baterii 2...3×LR6 lub akumulatora LiPo 4,2 V. Zakres napięcia zasilania ograniczony parametrami stabilizatora U3, powinien zawierać się w przedziale 2,2...5,5 V. Wbudowany w DSP pomocniczy stabilizator LDO dostarcza napięcia DVDD = 1,1 V dla zasilania rdzenia DSP. Całkowity pobór prądu przy zasilaniu 4,5 V wynosi ok. 5 mA.

Pamięć U2 typu 24AA32 służy do przechowywania aplikacji DSP. Zwora SB umożliwia wybór trybu pracy U1, stan wysoki wyprowadzenia SB wprowadza DSP w tryb pracy samodzielnej Selfboot, gdzie program pobierany jest każdorazowo podczas włączenia zasilania z pamięci EEPROM.

Montaż i uruchomienie

Układ zmontowany jest na niewielkiej okrągłej dwustronnej płytce drukowanej o średnicy 25,2 mm. Rozmieszczenie elementów zostało pokazane na rysunku 3.

Rysunek 3. Schemat płytki PCB wraz z rozmieszczeniem elementów

Podczas montażu należy zadbać o poprawne przylutowanie pada termicznego układu DSP oraz zabezpieczenie mikrofonów zgodnie z nota katalogową. Zmontowany moduł został pokazany na fotografii tytułowej oraz na fotografii 1.

Fotografia 1. Widok zmontowanej płytki od strony mikrofonów

Jeżeli moduł jest poprawnie zmontowany, pozostaje przygotowanie aplikacji dla DSP. Do programowania, a raczej konfiguracji ADAU1772 służy SigmaStudio w wersji od 3.14 (aktualnie wersja 4.5). Niezmiennie jest udostępniane za darmo, wymaga jedynie rejestracji na stronie producenta analog.com. SigmaStudio to środowisko graficzne, w którym budujemy schemat z gotowych, parametryzowanych bloków funkcjonalnych oraz określamy konfigurację sprzętową procesora.

Układ jest programowany/konfigurowany tak, jak pozostałe procesory Sigma DSP – poprzez interfejs USBi. Ze względu na konieczność zachowania niewielkich rozmiarów płytki zrezygnowano z typowego złącza USBI typu IDC10, na rzecz miniaturowego złącza JST 1 mm z odpowiednią przejściówką. Ze względu na napięcia zasilania 1,8 V podczas programowania konieczne jest ustawienie zwory w programatorze USBi w pozycji „1,8 V”.

Po poprawnej instalacji oprogramowania, sterowników programatora USBi, podłączeniu magistrali I2C do złącza USBi płytki mikrofonu oraz doprowadzeniu zasilania i podłączeniu wzmacniacza do złącza OUT, możliwe jest rozpoczęcie pracy z urządzeniem.

Rysunek 4. Konfiguracja układu ADAU1772

W pierwszej kolejności należy dokonać konfiguracji układu i pamięci zgodnie z rysunkiem 4 i rysunkiem 5.

Rysunek 5. Konfiguracja pamięci EEPROM

Teraz można przejść do konfiguracji sprzętowej i przygotowania aplikacji. Należy skonfigurować układ generacji sygnałów zegarowych i zasilanie rdzenia DSP zgodnie z rysunkiem 6.

Rysunek 6. Konfiguracja toru taktowania ADAU1772

Częstotliwość oscylatora (External Clock) wynosi 12,288 MHz i taktuje procesor bezpośrednio z pominięciem bloku PLL. Dla poprawnej pracy interfejsu mikrofonów PDM, konieczne jest generowanie przebiegu zegarowego PDCK na wyprowadzeniu MP6 (CKO). Częstotliwość sygnału musi zawierać się w dopuszczalnym dla MP34DT05 przedziale 1,2...3,25 MHz, co można osiągnąć poprzez odpowiedni wybór podziału na wyjściu Output Clock. W wyniku podziału 12,288 MHz przez 2 (Main Clock) i 2 (Output Clock) daje spełniającą warunki częstotliwość 3,072 MHz (opis 6,144 MHz jest błędem w oprogramowaniu). Sygnał zegarowy dostępny jest wielofunkcyjnym wyprowadzeniu GPIO MP6, które należy skonfigurować do realizacji funkcji Clock Output zgodnie z rysunkiem 7.

Rysunek 7. Konfiguracja porótw GPIO
Rysunek 8. Konfiguracja przetworników ADC

Następnie należy skonfigurować blok wejść zgodnie z rysunkiem 8, aktywując źródło sygnału dla rdzenia DSP na obsługę mikrofonów Digital Mic0/1 i wyłączyć wyciszanie kanałów ADC0,1 – Mute. W zakładce Signal Routing ustalamy przepływ sygnału przez ADAU1772 zgodnie z rysunkiem 9.

Rysunek 9. Konfiguracja przepływu sygnałów DSP
Rysunek 10. Konfiguracja przetwornika DAC

Konfiguracji wymagają wyjścia DAC sygnału audio, tak jak to pokazuje rysunek 10. Należy ustawić typ Line Out oraz wyciszyć nieużywane bufory wyjść symetrycznych LN/PN W zakładce Chip Control wyłączamy nieużywane bloki DSP w celu minimalizacji poboru prądu (rysunek 11).

Rysunek 11. Konfiguracja zasilania DSP

Po zakończeniu konfiguracji DSP można przejść do przygotowania aplikacji. W modelu sygnał z mikrofonów podlega obróbce w bloku korekcji charakterystyki częstotliwościowej i ograniczeniu poziomu limiterem. Schemat blokowy aplikacji został pokazany na rysunku 12.

Rysunek 12. Schemat blokowy aplikacji

Sygnał wejściowy z mikrofonów, poprzez bloki Input1 i Mute1, które używane są tylko podczas uruchomienia, doprowadzony jest do bloku wzmocnienia Gain1, a stąd do bloku filtrów. Wskaźniki poziomu dBDisplay1...3 pozwalają dostroić optymalne wzmocnienie układu dostosowane do warunków pracy mikrofonu.

Rysunek 13. Struktura bloku filtrów

W bloku filtrów, których schemat pokazuje rysunek 13, kształtowana jest charakterystyka częstotliwościowa toru. W pierwszej kolejności z sygnału eliminowane są, poprzez filtr górnoprzepustowy GenFilter1, składowe poniżej 80 Hz, które w większości przypadków przenoszą więcej zakłóceń otoczenia niż sygnału użytecznego mowy. Kolejne trzy bloki GenFilter2...4 kształtują charakterystykę sygnału, najpierw w klasycznym regulatorze barwy tonu, a następnie w dwóch filtrach parametrycznych. Dobierając odpowiednio częstotliwości i dobroci filtrów możemy dopasować przebieg charakterystyki pod kątem aplikacji mikrofonu, poprawiając np. wyrazistość mowy. Ostatnim filtrem jest filtr dolnoprzepustowy eliminujący wysokie częstotliwości odpowiedzialne za nieprzyjemne głoski „syczące”. Dobór filtrów i ich ustawień nie jest sprawą prostą, warto więc skorzystać z narzędzia Stimuls/Probe pozwalającego wyznaczyć charakterystyki częstotliwościowe korekcji przy zadanych ustawieniach.

Rysunek 14. Programowanie pamięci EEPROM

Z bloku filtrów sygnał doprowadzony jest do limitera ograniczającego poziom wyjściowy, przy zbyt wysokim poziomie sygnału z mikrofonu. Blok limitera umożliwia ustawienie wzmocnienia układu poniżej i powyżej progu ograniczenia oraz stałych czasowych reakcji. Sygnał po obróbce doprowadzony jest do wyjść OUT0 i OUT1 oraz po zsumowaniu do wskaźnika poziomu wyjściowego. Po dostrojeniu parametrów aplikacji należy zaprogramować pamięć EEPROM (zwora SB zwarta) zgodnie z rysunkiem 14.

Po zaprogramowaniu, wyłączeniu zasilania, zdjęciu zwory SB i ponownym podaniu zasilania zewnętrznego procesor DSP realizuje funkcje już bez pomocy USBi i środowiska Sigma Studio. Przykładowy projekt ADAU1772_DigMIC.dspproj oraz zawartość EEPROM dostępna jest w materiałach dodatkowych. Aplikacja oczywiście nie wyczerpuje możliwości cyfrowego mikrofonu z DSP, a stanowi tylko szablon i zachętę do własnych eksperymentów z jednym z najprostszych procesorów rodziny Sigma DSP.

Adam Tatuś
adam.tatus@ep.com.pl

Wykaz elementów:
Rezystory: (SMD0603 1%)
  • R1, R5, R7: 100 Ω
  • R2, R3: 4,7 kΩ
  • R4, R6: 47 kΩ
  • R8, R9: 1,5 kΩ
Kondensatory:
  • C1, C2: 22 pF SMD0603
  • C3, C5, C9, C10, C11, C13, C15, C17, C18: 2,2 µF SMD0603
  • C4, C6, C7, C8, C12, C14, C16: 0,1 µF SMD0603
  • CE1: 10 µF/10 V tantalowy SMD A
Półprzewodniki:
  • MIC1, MIC2: mikrofon PDM typu MP34DT05TR-A HCLGA4
  • U1: ADAU1772BCPZ (LFCSP40)
  • U2: 24AA32A (MSOP8)
  • U3: ADP160AUJZ-1.8 (SOT-23-5)
Inne:
  • FB1, FB2, FB3: 1 µH koralik ferrrytowy 1000 Ω SMD603
  • OUT: złącze B4B 2 mm 4 piny proste
  • SB: listwa SIP2 2 mm + zwora
  • USBi: złącze JST 1 mm kątowe
  • X1: rezonator kwarcowy 12,288 MHz CFPX-180
Artykuł ukazał się w
Elektronika Praktyczna
maj 2021
DO POBRANIA
Pobierz PDF Download icon
Materiały dodatkowe
Elektronika Praktyczna Plus lipiec - grudzień 2012

Elektronika Praktyczna Plus

Monograficzne wydania specjalne

Elektronik listopad 2025

Elektronik

Magazyn elektroniki profesjonalnej

Raspberry Pi 2015

Raspberry Pi

Wykorzystaj wszystkie możliwości wyjątkowego minikomputera

Świat Radio listopad - grudzień 2025

Świat Radio

Magazyn krótkofalowców i amatorów CB

Automatyka, Podzespoły, Aplikacje listopad - grudzień 2025

Automatyka, Podzespoły, Aplikacje

Technika i rynek systemów automatyki

Elektronika Praktyczna listopad 2025

Elektronika Praktyczna

Międzynarodowy magazyn elektroników konstruktorów

Elektronika dla Wszystkich grudzień 2025

Elektronika dla Wszystkich

Interesująca elektronika dla pasjonatów