Czujnik światła z układem APDS9930

Czujnik światła z układem APDS9930

Miniaturowy czujnik APDS9930 realizuje dwie funkcje: pomiar natężenia oświetlenia i detekcję zbliżania obiektu na dystansie do 10 cm. Małe wymiary, wysoka czułość i niski pobór prądu sugerują, że skonstruowano go z przeznaczeniem do użycia w aparatach telefonii komórkowej. Montaż w formie modułu ułatwia podłączenie i pozwala skorzystać z funkcji czujnika. Sześć styków szpilkowych daje dostęp do magistrali sterującej oraz do sygnału przerwania.

Parametry modułu

Widok płytki modułu został pokazany na fotografii 1.

Fotografia 1. Wygląd modułu APDS9930

Główne parametry zamontowanego na module czujnika są następujące:

  • wykrywanie natężenia oświetlenia (funkcja ALS) już od poziomu 0,01 luxa,
  • wykrywanie obecności obiektu na dystansie od 0 do około 10 cm przy pomocy impulsów IR,
  • komunikacja za pośrednictwem magistrali I2C o szybkości transmisji do 400 kHz,
  • wyjście sygnalizujące przerwanie wywoływane poziomem oświetlenia albo wykryciem obiektu,
  • rozdzielone zasilanie czujnika 2,2…3,6 V/250 mA od zintegrowanej we wspólnej obudowie diody IR 3…4,5 V/100 mA generującej impulsy używane do wykrycia obiektu,
  • fabrycznie skalibrowana detekcja dystansu,
  • wewnętrzny regulator prądu diody IR o programowalnej wydajności.

Funkcje wyprowadzeń modułu:

  • VL – podłączenie zewnętrznego zasilania diody IR czujnika. Nie ma potrzeby stosowania dodatkowego opornika ograniczającego prąd diody,
  • VCC, GND – podłączenie zasilania czujnika,
  • SCL, SDA – linie magistrali sterującej I2C,
  • INT – wyjście sygnału przerwania.

Budowa czujnika

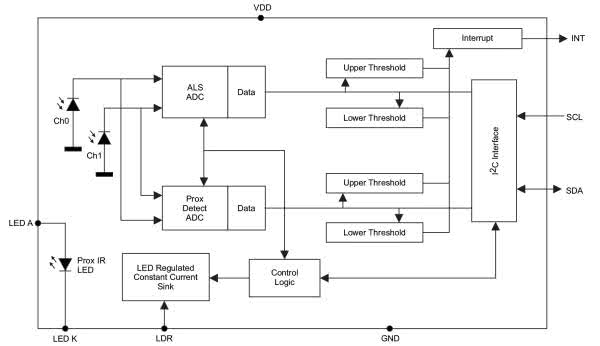
Na rysunku 1 pokazano schemat blokowy czujnika APDS9930. W części odbiorczej pracują dwie fotodiody CH0 i CH1. Pierwsza z nich jest czuła na światło w szerokim zakresie od promieniowania widzialnego do podczerwieni, druga jest ograniczona do zakresu IR. Dzięki temu przy pomiarze natężenia oświetlenia można wyeliminować wpływ składowej podczerwonej i uzyskać charakterystykę czułości zbliżoną do tej jaką ma oko człowieka. Diody są podłączone zarówno do bloku pomiaru natężenia oświetlenia ALS (ambient light sensing) jak i do bloku detekcji zbliżenia (Proxy Detect).

Rysunek 1. Schemat blokowy

Detekcja działa na zasadzie odbicia impulsów promieniowania podczerwonego od zbliżającego się obiektu. Krótkie impulsy emituje umieszczona wewnątrz obudowy czujnika dioda Prox IR LED. Prąd diody i intensywność impulsów ustala regulator, którego wyprowadzenie LDR jest zewnętrznie łączone z wyprowadzeniem LED K diody. Do anody LED A podłącza się zewnętrzne napięcie zasilania, które może być oddzielone od zasilania pozostałych bloków czujnika.

O tym, który blok jest aktywny: pomiar oświetlenia czy detekcja zbliżania, decyduje użytkownik przez ustawienia rejestrów sterujących czujnika. Użytkownik może włączyć przerwanie podłączone do wyprowadzenia INT. A także ustawić progi jego zadziałania zarówno dla pomiaru oświetlenia jak i detekcji zbliżania.

Dostęp do rejestrów czujnika i wymiana danych odbywa się za pośrednictwem magistrali I2C. Czujnik APDS9930 reaguje na adres 0x39 (konwencja 7 bitowego adresu). W trybie zapisu dostęp do rejestru następuje po wysłaniu adresu (Slave Address) i numeru rejestru (Command Code). W trybie odczytu należy wysłać adres, numer rejestru, sekwencję I2C Start i ponownie adres (dodatkowy bit kierunku powinien być ustawiony) – czujnik prześle wtedy zawartość rejestru.

Biblioteka

Istnieją biblioteki do obsługi czujnika APDS9930. Pod internetowym adresem https://github.com/Depau/APDS9930 udostępniona jest biblioteka dla Arduino wraz z kilkoma przykładami zastosowania, a także opisem sposobu podłączenia modułu do płytki Arduino.

Na bibliotekę składa się szereg metod pozwalających kontrolować działanie czujnika APDS9930 w różnych trybach pracy:

  • Procedura init() ustawia czujnik do pracy z wartościami domyślnymi zapisanymi w pliku nagłówkowym APDS9930.h w sekcji Default values.
  • Procedura enableLightSensor(bool interrupts) włącza pomiar natężenia oświetlenia z uruchomionym (true) lub nie (false) trybem przerwania.
  • Procedura enableProximitySensor(bool interrupts) włącza tryb detekcji zbliżenia obiektu, który może być dodatkowo sygnalizowany sygnałem przerwania.
  • Do odczytu pomiaru natężenia oświetlenia w luksach służy procedura readAmbientLightLux(float &val). Z kolei procedura readProximity(uint16_t &val) pozwala odczytać wartość liczbową proporcjonalną do bliskości obiektu gdy czujnik pracuje w trybie detekcji zbliżenia. Wartość 0 oznacza brak detekcji, wartość 1023 maksymalne zbliżenie.

Istnieją także procedury dostępu do określonych rejestrów w tym rejestrów określających progi zadziałania wyjścia przerwania:

  • setProximityIntLowThreshold(uint16_t threshold),
  • setProximityIntHighThreshold(uint16_t threshold),
  • setLightIntLowThreshold(uint16_t threshold),
  • setLightIntHighThreshold(uint16_t threshold).

Na listingu 1 został pokazany uproszczony przykład programu, kiedy czujnik pracuje w trybie wykrywania zbliżenia obiektu.

Listing 1. Uproszczony przykład programu, kiedy czujnik pracuje w trybie wykrywania zbliżenia obiektu

#include <APDS9930.h>

APDS9930 apds = APDS9930();
uint16_t proximity_data = 0;

void setup(){
Serial.begin(9600);
apds.init()

//Start APDS-9930 tryb zbliżeniowy (bez przerwania)
if ( apds.enableProximitySensor(false) ) {
Serial.println(F("Sensor pracuje"));
} else {
Serial.println(F("Błąd inicjacji!"));
}

//parametr PPULSE
apds.wireWriteDataByte(APDS9930_PPULSE, 4);
//parametr POFFSET
apds.wireWriteDataByte(APDS9930_POFFSET, -150);
}

void loop() {
//Odczyt wartości trybu zbliżenia
if ( !apds.readProximity(proximity_data) ) {
Serial.println("Błąd odczytu");
} else {
Serial.print("Zbliżenie: ");
Serial.println(proximity_data);
}

//Pauza 250 ms przed następnym odczytem
delay(250);
}

Po inicjacji następuje włączenie trybu zbliżeniowego. Dobierając wartość współczynnika PPULSE w zakresie 1...255 określa się sposób reakcji czujnika. Na rysunku 2 pokazano jak różne wartości współczynnika wpływają na wynik pomiaru w funkcji rzeczywistej odległości obiektu od czujnika.

Rysunek 2. Charakterystyki detekcji obiektu

Dobranie wartości POFFSET eliminuje szumy odczytu gdy obiekt znajduje się poza zakresem. Następnie w pętli odczytywany jest współczynnik, którego wartość rosnąca od 0 do 1023 oznacza stopniowe zbliżanie się obserwowanego obiektu do czujnika.

APDS9930 i Nucleo

Czujnik można podłączyć do dowolnej platformy sprzętowej o ile pracuje z poziomami logicznymi 0/3,3 V, potrafi obsłużyć transmisję I2C i jest w stanie dostarczyć zasilanie do czujnika. Warunki te spełnia dowolna płytka Nucleo z kontrolerem STM32. W tabeli 1 zestawiono potrzebne połączenia dla trybu pracy bez wykorzystania wyjścia przerwania.

Tabela 1. Połączenia potrzebne dla trybu pracy bez wykorzystania wyjścia przerwania
Czujnik APDS9930 Nucleo Opis
SDA PB9 linia SDA magistrali I2C1
SCL PB8 linia SCL magistrali I2C1
Vcc 3,3 V zasilanie modułu
GND GND masa
VL 3,3 V/100 mA zasilanie diody IR modułu

Niezbędnym krokiem jest dostosowanie biblioteki czujnika APDS9930 do współpracy z płytką Nucleo. Jedna z możliwości to skorzystanie z projektu STM32Duino. Są to biblioteki „tłumaczące” oprogramowanie pisane dla Arduino na kod wykonywalny dla płyt z kontrolerami rodziny STM32. Inną możliwością jest użycie środowiska programistycznego przeznaczonego dla STM-ów i dostosowanie biblioteki czujnika. W tym drugim podejściu trzeba dostosować procedury odwołujące się bezpośrednio do warstwy sprzętowej komunikującej się z interfejsem I2C. W bibliotece APDS9930 do komunikacji z magistralą I2C zastosowano kilka procedur biblioteki Arduino - Wire.c. Są to:

  • begin() – ustawienia inicjujące bibliotekę Wire,
  • requestFrom() – odczyt do buforu z układu o podanym adresie żądanej liczby bajtów,
  • beginTransmission() – przygotowanie do wysłania określonej liczby bajtów z bufora do układu,
  • endTransmission() – zakończenie wysyłania bajtów do układu,
  • write() – realizacja wysłania bajtów,
  • available() – zwraca ilość odebranych bajtów oczekujących w buforze,
  • read() – odczyt z bufora odbiorczego pojedynczego bajtu.

Należy pamiętać, że w bibliotece Wire operacje przesyłania danych pomiędzy układem nadrzędnym a podporządkowanym (w tym przypadku modułem APDS9930) odbywają się za pośrednictwem 32-bitowych buforów: nadawczego i odbiorczego. Należy zatem napisać własne procedury, które będą realizowały wymienione funkcje, korzystając z dostępu do sprzętowego interfejsu kontrolera STM32 zamontowanego na użytej płytce Nucleo.

Listing 2. Kod procedury odczytu bajtów z układu podrzędnego

extern I2C_HandleTypeDef hi2c1;

//odczytuje ilość (quantity) bajtów z układu podrzędnego o adresie (slave_adr)
//zwraca ilość odebranych bajtów w buforze
uint8_t PWire::requestFrom(uint8_t slave_adr, uint8_t quantity) {
HAL_StatusTypeDef status;

status =HAL_I2C_Master_Receive
(&hi2c1, (uint16_t)slave_adr, (uint8_t *)buforRec_Wire,
(uint16_t)quantity, 1000);

if (stat !=HAL_OK) quantity = 0;

ile_w_buforRec_Wire = quantity;
poz_odczytu_w_buforRec_Wire = 0;

return quantity;
}

Na listingu 2 można zobaczyć kod procedury odczytu bajtów z układu podrzędnego realizującej funkcję requestFrom(). Procedura jest jedną z funkcji klasy PWire, która zastąpi arduinową klasę Wire. Jeżeli moduł podłączony zostanie do wyprowadzeń tak jak podano w tabeli, to obsługą magistrali I2C zajmie się sprzętowy interfejs I2C1. Wykorzystywana jest standardowa procedura HAL-a HAL_I2C_Master_Receive(), a także statyczny bufor odbiorczy buforRec_Wire[] o rozmiarze 32 bajtów.

W samej bibliotece APDS9930 potrzebne będą niewielkie zmiany. Dotyczą głównie jej początkowej części i włączanych plików nagłówkowych co pokazano na listingu 3.

Listing 3. Niewielkie zmiany potrzebne w bibliotece APDS9930

// #include <Arduino.h>
#include <PWire.h> //zmienione
#include "APDS9930.h"
#include "algorithm" //dodane
using namespace std; //dodane
#include <stdio.h> //dodane

PWire Wire; //dodane

Przede wszystkim należy usunąć odwołanie do biblioteki Arduino.h i zastąpić plik Wire.h włączeniem stworzonej własnej biblioteki PWire.h. Kolejne pliki nagłówkowe i deklaracja przestrzeni nazw są potrzebne do realizacji niektórych funkcji biblioteki APDS9930. Należy także pozbyć się kilku odwołań do nieobsługiwanej teraz procedury Serial.println().

Ponieważ biblioteka APDS9930 napisana jest w C++, najwygodniej używać ją w projektach dla tego samego języka. Co prawda popularne narzędzie STM32CubeMX generuje projekty w C ale przekształcenie do wersji w C++ nie powinno stanowić wielkiego problemu.

W wersji środowiska programistycznego SW4STM32 po wczytaniu utworzonego projektu należy wybrać opcję Project Explorer → prawy przycisk myszy → Convert to C++. Należy także zmienić nazwę pliku main.c na main.cpp.

Ryszard Szymaniak

biuro@ars.info.pl

Artykuł ukazał się w
Elektronika Praktyczna
wrzesień 2020
Elektronika Praktyczna Plus lipiec - grudzień 2012

Elektronika Praktyczna Plus

Monograficzne wydania specjalne

Elektronik listopad 2025

Elektronik

Magazyn elektroniki profesjonalnej

Raspberry Pi 2015

Raspberry Pi

Wykorzystaj wszystkie możliwości wyjątkowego minikomputera

Świat Radio listopad - grudzień 2025

Świat Radio

Magazyn krótkofalowców i amatorów CB

Automatyka, Podzespoły, Aplikacje listopad - grudzień 2025

Automatyka, Podzespoły, Aplikacje

Technika i rynek systemów automatyki

Elektronika Praktyczna listopad 2025

Elektronika Praktyczna

Międzynarodowy magazyn elektroników konstruktorów

Elektronika dla Wszystkich grudzień 2025

Elektronika dla Wszystkich

Interesująca elektronika dla pasjonatów