Zasada działania wzmacniacza klasy D

Zasada działania wzmacniacza klasy D
Pobierz PDF Download icon
W klasie "D" pracuje wzmacniacz, którego stopień wyjściowy jest na przemian zamykany i otwierany. Dodatkowo, pomiędzy wyjściem wzmacniacza i obciążeniem jest włączony filtr dolnoprzepustowy, dzięki któremu uzyskuje się prawidłową, niezniekształconą obwiednię sygnału wyjściowego, ale pod warunkiem, że elementy wyjściowe są kluczowane z częstotliwością przynajmniej dwukrotnie wyższą od maksymalnej częstotliwości sygnału wejściowego. Współczynnik wypełnienia impulsów wyjściowych musi być przy tym proporcjonalny do wartości chwilowej sygnału wejściowego.

Wzmacniacze pracujące zgodnie z opisaną wyżej zasadą nazywają się wzmacniaczami impulsowymi. Znacznie mniej trafne jest określenie wymyślone przez specjalistów od reklamy – wzmacniacz cyfrowy (D – Digital), bo nowa klasa wzmacniaczy niby pozwala na odtwarzanie sygnału z "cyfrową jakością" przy jednoczesnym zachowaniu bardzo dużej sprawności. Czy tak jest w rzeczywistości?

Typowo sprawność wzmacniacza klasy AB sięga co najwyżej 60% przy maksymalnej mocy muzycznej, jednak budując taki układ, trzeba przewidzieć, że jego sprawność średnia, osiągana podczas normalnej eksploatacji, będzie znacznie niższa. Aby osiągnąć moc wyjściową 10 W na pojedynczy kanał stereofoniczny, trzeba będzie dostarczyć z zasilacza około 60...80 W energii tylko do zasilania głośników. Oznacza to, że sprawność wzmacniacza klasy AB sięga około 20...30%.

Dla poprawy sprawności istotnej zwłaszcza dla urządzeń przenośnych zasilanych z baterii, skonstruowano nowe wzmacniacze pracujące z modulacją PWM. Ich główną zaletą była wysoka sprawność energetyczna, ale ogromną wadą duże zniekształcenia THD+n, wynoszące – zależnie od liczby źródeł sygnałów zakłócających włączając w to: zniekształcenia intermodulacyjne, przenikanie częstotliwości próbkowania sygnału wejściowego i jego harmonicznych, asymetryczne czasy narastania i opadania sygnału wyjściowego, asymetryczne czasy propagacji, czasy martwe, jakość zasilacza i inne – od 40 do 60 dBc.

Rysunek 1. Standardowy, jednostopniowy modulator sigma-delta

Zniekształcenia THD+n silnie zależą też od pasma częstotliwości sygnału wejściowego. Dzieje się tak dlatego, że zgodnie z prawem Nyquista, częstotliwość próbkowania musi być co najmniej dwukrotnie wyższa od najwyższej częstotliwości sygnału próbkowanego. Podejmowano próby ograniczenia poziomu zaburzeń przez podwyższenie częstotliwości próbkowania, jednak ta częstotliwość jest ograniczona przez minimalne czasy załączenia i wyłączenia elementów kluczujących – pamiętajmy, że pracują one z silnym obciążeniem indukcyjnym i pojemnościowym. Ponadto, w sygnale wyjściowym zaczynały występować inne rodzaje zniekształceń, wynikające ze zjawisk fizycznych pojawiających się przy podwyższonej częstotliwości. Dlatego wzmacniacz PWM, mimo iż miał dobrą sprawność energetyczną, to nie nadawał się do wymagających aplikacji, w których żądano dynamiki na poziomie co najmniej 90 dBc.

Rysunek 2. Charakterystyka przełączenia tranzystora w rzeczywistej aplikacji

Kierunek proponowanych rozwiązań był jednak właściwy i wiadomo było, że nie ma odwrotu od wzmacniacza PWM, jednak w jakiś sposób trzeba poprawić jakość sygnału wyjściowego. Pojawiły się rozwiązania wzmacniaczy z nadpróbkowaniem, ze specjalnym modulatorem sigma-delta kształtującym charakterystykę zakłóceń, jednak włączenie w obwód pętli modulatora sigma-delta tranzystorów MOS dużej mocy powoduje dodatkowe problemy, które znacząco wpływają na ogólne parametry i sprawność wzmacniacza. Standardowy, jednostopniowy modulator sigma-delta przedstawiono na rysunku 1. Integrator jest połączony szeregowo z komparatorem, który w istocie jest dwupoziomowym kwantyzatorem o częstotliwości próbkowania fS. Wyjście komparatora sprzężone jest z wejściem integratora poprzez umieszczony w pętli sprzężenia zwrotnego przetwornik C/A i sumator. Sprzężenie zwrotne wymusza, aby sygnał wyjściowy kwantyzatora śledził wartość średnią sygnału wejściowego modulatora. Jakiekolwiek różnice pomiędzy sygnałem wejściowym modulatora a wyjściowym kwantyzatora akumulowane są w integratorze i ewentualnie korygowane. W jednostopniowym modulatorze sigma-delta zakłócenia sygnału wynikające z błędu kwantyzacji są redukowane o około 9 dB przy dwukrotnym wzroście częstotliwości próbkowania. W modulatorze dwustopniowym, przy takim samym wzroście, zakłócenia redukowane są o ok. 15 dB. Obie tezy są słuszne przy założeniu, że częstotliwość próbkowania sygnału wejściowego jest zgodna z prawem Nyquista, tzn. fS=2×f0. Łatwo zauważyć, że zwiększając liczbę stopni przetwornika i podnosząc częstotliwość próbkowania, można zredukować zakłócenia. Trzeba jednak pamiętać o ograniczeniach technicznych wynikających z pewnych minimalnych wartości czapodawasów narastania i opadania przebiegu wyjściowego oraz czasu propagacji, co skutkuje koniecznością obniżenia częstotliwości próbkowania.

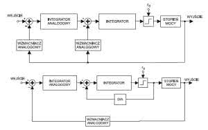
Rysunek 3. Uproszczone schematy blokowe czterech wzmacniaczy PWM

Włączenie w pętlę standardowego modulatora sigma-delta tranzystorów MOS powoduje powstanie wielu problemów. W aplikacjach audio tranzystory MOS sterują relatywnie niską impedancją obciążenia i z tego powodu jest wymagane, aby dla spełnienia wymagań związanych z ogólną wysoką sprawnością wzmacniacza, ich rezystancja w stanie załączenia była mniejsza od 1 V. W rezultacie charakterystyka przełączenia takiego tranzystora znacznie odbiega od idealnej (rysunek 2). Te nieidealne przebiegi wyjściowe powodują powstanie zniekształceń na poziomie ok. -60 dB w stosunku do sygnału użytkowego. Pokazany na rys. 2 przebieg wyjściowy jest typowy dla tranzystorów MOSFET pracujących w konfiguracji przeciwstawnej, w której jeden z nich ma kanał typu "n", a drugi typu "p". W związku z tym, że standardowy modulator sigma-delta ma cyfrową pętlę sprzężenia zwrotnego, asymetryczne zbocza sygnału wyjściowego nie są "widziane" przez integrator i w konsekwencji ten nie koryguje zniekształceń wprowadzanych przez tranzystory MOS. Ponadto, ponieważ nowoczesne modulatory sigma-delta używają integratorów próbkujących, proste zasilanie pętli sprzężenia zwrotnego integratora sygnałem wyjściowym tranzystorów mocy, bez wprowadzenia dodatkowych korekt, nie spełni swojego zadania. Dzieje się tak ze względu na fakt, że integratory próbkujące mają duże problemy wynikające ze zjawiska aliasingu przy dużej częstotliwości zniekształceń. Dodatkowo, opóźnienie wprowadzane przez tranzystory mocy powoduje, że sygnał pochodzący z pętli sprzężenia zwrotnego nie jest właściwie skorelowany z sygnałem wejściowym, w konsekwencji uniemożliwiając poprawną pracę sprzężenia. Opóźnienie to może również wpłynąć na stabilność pracy układu. Stąd też korzyści wynikające z redukcji zniekształceń w modulatorze sigma-delta są pomniejszane przez nieidealną pracę tranzystorowego stopnia wyjściowego mocy.

Skonstruowanie dobrego wzmacniacza małej częstotliwości umożliwiło zastąpienie dyskretnej technologii PWM mikroprocesorem mającym możliwość przetwarzania sygnałów mieszanych. Tego typu układy są bardzo dobrze znane z zastosowań w innych dziedzinach, w których służą chociażby do sterowania napędami, korekcji współczynnika mocy, sterowania zasilaczami awaryjnymi itp. Niemniej układ przeznaczony do sterowania wzmacniaczem audio musiał być zoptymalizowany pod kątem takiego właśnie zastosowania.

Rysunek 4. Zmodyfikowane schematy wzmacniaczy PWM

Zadaniem impulsowego wzmacniacza sygnału audio jest, przy zachowaniu wysokiej sprawności, zasilanie obciążenia w postaci kolumn głośnikowych lub słuchawek sygnałem, który ma relatywnie dużą moc wyjściową i jak najmniejsze zniekształcenia. Aby osiągnąć tak rozumiany rezultat, współczesne rozwiązania używają pętli sprzężenia zwrotnego pracującej w trybie ciągłym, innej niż wcześniej opisywana pętla cyfrowa. Gwarantuje to, że informacja z wyjścia dostępna jest na wejściu w celu porównania, w ten sposób pozwalając zmodyfikowanemu układowi modulatora na korekcję zniekształceń wprowadzanych przez tranzystory MOS podczas przełączania.

Ciągła praca pętli pozwala również na zmniejszenie poziomu zniekształceń wynikających ze zjawiska aliasingu występujących, gdy podczas przełączania powstają częstotliwości harmoniczne wyższe niż dopuszczalna częstotliwość sygnału wejściowego i wraz z sygnałem sprzężenia zwrotnego pojawią się one na wejściu modulatora. Aby uniknąć tych niepożądanych zjawisk, pętla sprzężenia zwrotnego zawiera filtr antyaliasingowy, natomiast integrator pracuje w trybie ciągłym. Ponadto, jeden lub więcej integratorów odbierających sygnał sprzężenia zwrotnego próbkują z częstotliwością wyznaczaną na podstawie częstotliwości próbkowania komparatora. Praktycznie każde z nowoczesnych rozwiązań łączy w sobie opisywane wyżej techniki, tzn. pętlę sprzężenia zwrotnego dla skompensowania zniekształceń o małej częstotliwości i jakiś układ tłumiący lub redukujący efekt aliasingu powodowany przez sygnał wysokiej częstotliwości wprowadzany przez pętlę sprzężenia zwrotnego. Ważny jest też fakt, że nowoczesne rozwiązania nie są ograniczone do zakresu pasma akustycznego i po modyfikacjach związanych z danym zastosowaniem, praktycznie mogą być oferowane nie tylko do układów audio, ale również z przeznaczeniem do użycia w innych dziedzinach wymagających wzmacniania sygnału.

Rysunek 5. Uproszczony schemat wzmacniacza PWM 3-go rzędu

Na rysunkach 3a...d umieszczono uproszczone schematy blokowe czterech wzmacniaczy PWM drugiego rzędu, nadpróbkujących i kształtujących sygnał zakłóceń. Sygnał wejściowy podawany jest na pierwszy integrator przez sumator. Wyjście pierwszego integratora przez sumator podawane jest na wejście drugiego. Synchroniczny komparator, próbkujący z częstotliwością fS, odbiera sygnał wyjściowy drugiego integratora i przesyła wynikowy sygnał logiczny do stopnia mocy. Zależnie od zastosowanego wariantu, wyjście stopnia mocy jest sprzężone selektywnie z wejściami integratorów poprzez dolnoprzepustowy filtr antyaliasingowy i bloki regulatorów amplitudy sygnału sprzężenia zwrotnego. Filtr dolnoprzepustowy redukuje zjawisko aliasingu powodowane przez składowe o dużej częstotliwości, obecne na wyjściu przełączającego stopnia mocy. Wzmocnienie regulatorów jest ustawiony w taki sposób, że stopień integratora pracuje na optymalnym poziomie w obrębie swojego zakresu dynamiki. Ten sygnał ciągłego sprzężenia zwrotnego pozwala integratorom "zobaczyć" aktualne zbocza narastające i opadające sygnału wyjściowego oraz wykonać prawidłową kompensację. W aplikacjach, w których na wejście wzmacniacza nie jest podawany sygnał pasmowy, filtr antyaliasingowy może zawierać filtr pasmowy mający częstotliwości odcięcia adekwatne do pasma wzmacnianych sygnałów, a integratory zastępowane są przez pasmowy ekwiwalent, taki jak wzmacniacz pasmowy. Zależnie od wariantu, integratory mogą być skonfigurowane jako integratory pasmowe, dostrojone do właściwego pasma, aby osiągnąć ten sam rezultat. Innymi słowy, pryncypia rozwiązań opisanych wyżej mogą być zastosowane nie tylko do rozwiązań pasmowych, ale również jakiegokolwiek pasma częstotliwości. Na przykład nadpróbkujący, kształtujący zakłócenia procesor sygnałów mieszanych może być zastosowany w stopniu wyjściowym wzmacniacza mocy telefonu komórkowego pracującego w paśmie 900 MHz, potencjalnie – ze względu na podwyższoną sprawność wzmacniacza – bardziej niż dwukrotnie wydłużając czas zasilania z baterii.

W niektórych zaprezentowanych rozwiązaniach stopień komparatora wyjściowego jest również selektywne sprzężony z wyjściem integratora poprzez konwerter C/A, zapewniając cyfrowe sprzężenie zwrotne obok pętli sprzężenia ciągłego. We wzmacniaczu z rys. 3A do integratorów doprowadzony jest tylko sygnał ciągłego sprzężenia zwrotnego. We wzmacniaczu z rys. 3B pętla sprzężenia zwrotnego doprowadzona jest jedynie na wejście pierwszego integratora, podczas gdy pętla sprzężenia cyfrowego doprowadzona jest na wejście drugiego. We wzmacniaczu z rys. 3C pętla sprzężenia cyfrowego doprowadzana jest na wejście drugiego integratora, podczas gdy kombinacja sygnałów sprzężenia ciągłego i cyfrowego doprowadzana jest na wejście pierwszego integratora poprzez sumator, aby skompensować niestabilność pętli wprowadzaną przez opóźnienie filtra dolnoprzepustowego. Na koniec, we wzmacniaczu z rys. 3D kombinacja sygnałów pętli ciągłej i cyfrowej jest podawana na wejścia obu stopni integratorów, bez odejścia od prezentowanych wcześniej idei rozwiązań.

Rysunek 6. Uproszczony schemat blokowy wzmacniacza PWM

Na rysunkach 4a i 4b przedstawiono kolejne modyfikacje wzmacniaczy PWM. W ich pętlach sprzężeń nie zastosowano filtrów antyaliasingowych, ponieważ stopnie integratorów zbudowane są na bazie integratorów pracujących w czasie ciągłym, które z natury akceptują niskie częstotliwości i odrzucają wysokie. Pierwszemu integratorowi w szeregu poświęca się szczególnie dużo uwagi, bo błąd na jego wyjściu jest dominującym źródłem ostatecznych zakłóceń. Następny stopień integratora nie jest już tak krytyczny i dlatego można w nim zastosować integrator próbkujący, pętlę cyfrowego lub ciągłego sprzężenia zwrotnego zawierającą filtr antyaliasingowy lub pracującą bez niego. Na rysunku 5 pokazano uproszczony schemat wzmacniacza PWM 3-go rzędu. Różni się on od poprzednio przedstawionych zastosowaniem nie dwóch, lecz trzech integratorów. Zasada działania jest podobna do opisywanych wcześniej. Innowacją jest zastosowanie drugiego w kolejności integratora, dodatkowo wyposażonego w pętlę sprzężenia "w przód", emulującą sprzężenie zwrotne docierające ze ścieżki sprzężenia zwrotnego do wejścia drugiego integratora. Dodatkowo, połączenie to poprawia zakres dynamiki integratorów, np. zawierających przełączane pojemności. Spotyka się też rozwiązania, w których wejście różnicowe jest podłączane do wejścia komparatora przez sumator. Dzięki temu można podać na wejście szum losowy lub pseudolosowy, w celu wyeliminowania którejś częstotliwości składowej. Na rysunku 6 przedstawiono kolejny, uproszczony schemat blokowy wzmacniacza PWM, zawierającego w swojej strukturze trzy integratory. W nim również wprowadzono sprzężenie "w przód", emulujące sprzężenie zwrotne i poprawiające zakres dynamiki integratorów. W obwód sygnału pętli sprzężenia zwrotnego, doprowadzony na wejście trzeciego integratora, włączono antyaliasingowy filtr dolnoprzepustowy, ponieważ jest to integrator próbkujący.

Zaprezentowane schematy blokowe wzmacniaczy nie wyczerpują opisu wszystkich rozwiązań, które są współcześnie stosowane przez producentów podzespołów. Zwykle jednak typowe wzmacniacze PWM są zbudowane albo zgodnie z którymś ze schematów, albo mają nieco inaczej połączone ze sobą bloki funkcjonalne. Dodatkowo producenci mogą stosować różne rozwiązania w celu wyeliminowania zjawiska aliasingu. Warto również zauważyć, że dostępne rozwiązania nie zamykają się w dziedzinie wzmacniania i obróbki sygnałów analogowych.

Jacek Bogusz, EP

Bibliografia
1. Tripath Technology Inc., Adya. S. Tripathi, Cary . Delano, United States Patent Number 5,777,512 "Method and Apparatus for Oversampled, Noise-shaping, Mixed Signa; Processing".
2. H.Ballan, M.Declerc "12V-SD Amplifier in 5V CMOS Technology", str. 559-562, materiały z konferencji IEEE 1995 Custom Integrated Circuits.

Artykuł ukazał się w
Elektronika Praktyczna
maj 2014
DO POBRANIA
Pobierz PDF Download icon
Elektronika Praktyczna Plus lipiec - grudzień 2012

Elektronika Praktyczna Plus

Monograficzne wydania specjalne

Elektronik listopad 2025

Elektronik

Magazyn elektroniki profesjonalnej

Raspberry Pi 2015

Raspberry Pi

Wykorzystaj wszystkie możliwości wyjątkowego minikomputera

Świat Radio listopad - grudzień 2025

Świat Radio

Magazyn krótkofalowców i amatorów CB

Automatyka, Podzespoły, Aplikacje listopad - grudzień 2025

Automatyka, Podzespoły, Aplikacje

Technika i rynek systemów automatyki

Elektronika Praktyczna listopad 2025

Elektronika Praktyczna

Międzynarodowy magazyn elektroników konstruktorów

Elektronika dla Wszystkich grudzień 2025

Elektronika dla Wszystkich

Interesująca elektronika dla pasjonatów