Systemy dla Internetu Rzeczy (22). Układy scalone z obsługą mobilnej komunikacji IoT

Systemy dla Internetu Rzeczy (22). Układy scalone z obsługą mobilnej komunikacji IoT
Pobierz PDF Download icon

Obsługa komunikacji w sieciach Internetu rzeczy (IoT - Internet of Things) wymaga zastosowania technologii komunikacji radiowej bliskiego zasięgu (Zigbee, Wi-Fi, Bluetooth LE, Z wave, Thread) lub sieci rozległych typu Low Power Wide Area Network (LPWAN). Umożliwiają one przesyłanie danych na duże odległości przy obniżonym zużyciu mocy zasilania. Największe znaczenie mają następujące rozwiązania: Sigfox, LoRa, IEEE 802.15.4 oraz dwa standardy bazujące na LTE (Long-Term Evolution, 3G/4G/5G) - NB-IoT (Narrowband IoT) oraz LTE-M (Long-Term Evolution Machine Type Communications).

Standardy NB-IoT oraz LTE-M to przystosowanie istniejącej technologii LTE do wymagań Internetu Rzeczy. Standaryzacją zajmuje się organizacja 3GPP (3rd Generation Partnership Project), której udziałowcami są takie firmy jak Nokia, Huawei czy Ericsson. Zapewnia to kompatybilność i niezawodne działanie na całej kuli ziemskiej. Zostały wprowadzone standardy Release 13 oraz Release 14. Najnowszy standard sieci 5G (Release 15) obejmie NB-IoT i LTE-M jako mobilne standardy 5G [2]. NB-IoT i LTE-M odegrają kluczową rolę w rozwoju sieci 5G, stanowiąc fundament dla sieci Internetu Rzeczy wdrażanych na skalę masową jako globalny standard [1]. Przy wszechobecnym zasięgu komunikacji komórkowej prawie na całym świecie dają one doskonały wybór dla komunikacji LPWAN.

W ostatnich latach operatorzy komórkowi, tacy jak T-Mobile (NB-IoT) i Orange (LTE-M), wdrażali technologie mobilne IoT także w Polsce. Technologia NB-IoT jest już obecna na 900 stacjach bazowych T-Mobile znajdujących się w ponad 250 miejscowościach. Już dziś sygnał LTE dociera do 99,8% populacji kraju dzięki ponad 6200 masztom, na których zamontowane są moduły na pasmo 800 MHz [5].

NB-IoT (LTE Cat-NB1, LTE Cat-NB2)

Standard NB-IoT jest technologią wąskopasmową pracującą obok pasm LTE lub w koegzystencji z nimi. Jest przeznaczony dla urządzeń z małymi wymaganiami przesyłania danych, lecz z większym zasięgiem, przy opóźnieniu koło 1,5 s. Jest dopasowany do urządzeń nieruchomych i przesyłających małe paczki danych.

Zapewnia on przepustowość transferu przychodzącego/wychodzącego: REL13 28/62 kbs, REL14 128/158 kbs, oraz bardzo dużą efektywność poboru mocy. Typowy zasięg od stacji bazowej jest siedmiokrotnie większy niż dla standardowego 4G LTE i wynosi ponad 40 km.

LTE-M (eMTC, Cat-M1)

Standard LTE-M (eMTC – enhanced machine type communication) jest przeznaczony dla urządzeń z mniejszymi wymaganiami przesyłania danych niż standardowy 4G LTE. Wymaga węższego pasma 1,4 MHz (w porównaniu do 20 MHz dla LTE). Zapewnia przepustowość transferu przychodzącego i wychodzącego po 1 Mbs, przełączanie pomiędzy stacjami komórkowymi przy zachowaniu małego opóźnienia 50…100 ms oraz obsługę protokołu TCP/IP. Typowy zasięg od stacji bazowej jest czterokrotnie większy niż dla standardowego 4G LTE i wynosi ponad 10 km.

Efektywność energetyczna

Pobór mocy jest podstawowym parametrem sieci LTE-M oraz NB-IoT. Pozwalają one na pracę z jednej baterii przez kilka lat. W tym celu zastosowano wiele technik: przepustowość jest obniżona, zastosowano prostszy sposób modulacji i prostszy moduł radiowy. Kluczowe jest zastosowanie trybów uśpienia i wybudzania: eDRX (Extended Discontinuous Reception) and PSM (Power Saving mode) [3].

Siec LTE stosuje ramkę (paging cycle) o czasie 1,28 s. Jest to okno czasowe po którym urządzenie komunikuje się z siecią w celu wymiany danych. Po aktywności nadajnika urządzenia, przez krótki czas aktywny jest jego odbiornik. Pomiędzy tymi momentami urządzenie może przejść w uśpienie. Zaletą trybu eDRX jest wydłużenie tego czasu N razy, gdzie N może być większe niż 40. Daje to możliwość wyboru czasu uśpienia aż do 40 minut (rysunek 1).

Rysunek 1. Praca sieci mobilnej komunikacji IoT w trybach eDRX oraz PSM [3]

W trybie PSM urządzenie wchodzi w głębokie uśpienie na dłuższy czas (godziny, dni, tygodnie) i jest niedostępne. Jego logika lub tajmer powoduje cykliczne wybudzenie, wysłanie danych do sieci i pozostanie przez cztery standardowe ramki w stanie odbioru (rys. 1). Ponieważ urządzenie jest wyłączone średni pobór prądu jest bardzo niski. Niższy niż dla układów standardu Sigfox lub LoRaWAN. Szczególnie że ze względu na brak interferencji i zakłóceń w pasmie LTE prędkość transmisji jest dużo większa. Oznacza to dużo krótszy czas aktywności urządzenia.

Sieci komórkowe oferują bezkonkurencyjne cechy w zakresie komunikacji LPWAN. Działanie w licencjonowanym pasmie radiowym gwarantuje wydajną i niezawodną komunikację. Zapewnia to zminimalizowanie straty energii spowodowanej przez interferencję pomiędzy urządzeniami.

Wymagania 5G mówią o pracy z jednej baterii AA (5 Wh) przez czas co najmniej 10 lat. Zakłada się transfer wychodzący 200 B oraz przychodzący 20...65 B dziennie. Zakłada się pobór mocy: TX 500 mW, RX 80 mW, uśpienie C-DRX/I-DRX 3 mW, uśpienie głębokie 0,015 mW [2]. Nie uwzględnia się jednak czasu wybudzania urządzenia z uśpienia, co może trwać setki milisekund. Nie uwzględnia się też samorozładowania baterii. Dla baterii litowej wynosi ono od jednego do pięciu procent rocznie.

Jakość usługi

Sieć komórkowa jest zaprojektowana do zapewnienia wysokiej jakości usługi Quality-of-Service (QoS). W trakcie pracy znana jest w sieci liczba połączeń i mogą one być odpowiednio obsłużone. Przy gwarantowanej wydajności i niezawodności komunikacji daje to wyraźną przewagę nad innymi standardami sieci LPWAN.

Gęstość pokrycia zasięgu

Sieci komórkowe mają już rozmieszczone maszty stacji bazowych pokrywających prawie wszystkie większe miasta i większość obszarów wiejskich. Przy niewielkich modyfikacjach oprogramowania mogą one obsłużyć olbrzymią skalę komunikacji. Przy efektywnym wykorzystaniu pasma i niskiej aktywności komunikacyjnej urządzeń IoT pojedyncza stacja może obsłużyć dziesiątki lub tysiące połączeń. Typowo maszt obsługuje wiele stacji bazowych, co umożliwia działanie na masową skalę.

Bezpieczeństwo

Sieci LTE zapewniają nieporównywanie większe bezpieczeństwo niż inne sieci LPWAN. Każde urządzenie ma kartę SIM lub eUICC. Umożliwia to jednoznaczną identyfikację realizowaną na poziomie sprzętowym. Gwarantuje to uwierzytelnianie dostępu oraz szyfrowanie przesyłanych danych. Komunikacja w standardzie LTE-M używa standardu TCP/IP, który sam zapewnia wysoki poziom bezpieczeństwa.

Aktualizacja oprogramowania firmowego urządzeń poprzez transmisję radiową (over-the-air) jest krytyczna dla bezpieczeństwa. Umożliwia ona wprowadzanie poprawek po wykryciu dziur w zabezpieczeniach bezpieczeństwa. Umożliwia też aktualizację funkcjonalności urządzenia. Aktualizacja jest w pełni zapewniania przez LTE-M. Dla NB-IoT aktualizacja jest możliwa, lecz jest utrudniona ze względu na małą prędkość transmisji.

Układy dla mobilnej komunikacji IoT

Szybki rozwój technologii NB-IoT i LTE-M wymusza szybki rozwój układów do ich obsługi. Producenci oferują obecnie wiele układów scalonych i modułów przeznaczonych do pracy z tymi standardami. Mają one zgodność z różnymi wersjami standardu LTE: Release 13, Release 14 i Release 15.

Bardzo trudno jest opracować układ do pracy w sieci komórkowej. Wymaga to nakładów co najmniej 15 milionów dolarów na każdy projekt [7]. Technologia komórkowa jest bardzo skomplikowana i tylko niewielu inżynierów jest prawdziwymi doświadczonymi ekspertami na świecie. W celu przyspieszenia prac wielu producentów stosuje przejęcia firm typu start-up, które są już zaawansowane w procesie projektowania. Na przykład: Sony kupiło Altair, Huawei kupiło Neul, ARM wykupił NextG-Com and Mistbase, Goodix pozyskał CommSolid.

Nordic Semiconductor w latach 2011 – 2014 przejął 60 inżynierów w Oulu (Finlandia) z takich firm jak Nokia, Microsoft, Broadcom i Ericsson. W rezultacie daje to doświadczenie porównywalne do innych firm z dziedziny komunikacji komórkowej. Co więcej, jest to wsparcie od specjalistów, którzy tworzą układy od samego początku.

Kilkanaście firm jest głównym dostawcą dla rynku mobilnych technologii IoT: HiSilicon (część Huawei), Sanechips (oddział ZTE), RDA, Mediatek, Altair (przejęty przez Sony), Sequans, Nordic Semiconductor, Goodix, Riot Micro, Qualcomm oraz Nesslab [7]. Jest jeszcze kilka innych firm na tym rynku. Jednak obecnie największą sprzedaż wykazuje rynek w Chinach. I najszybciej się rozwija. Ocenia się, że dotychczas zostało sprzedanych tylko do 10 milionów układów. Jednak przewidywania firmy Huawei mówią o 150 milionach pod koniec roku 2018 (głównie w Chinach).

Poniżej zostaną pokazane informacje o wybranych firmach i produktach, które znajdują się na różnych listach oraz o których udało się znaleźć informację.

QualComm

QualComm dominuje na rynku stacji bazowych dla telefonii komórkowej. Obecnie koncentruje się na technologii 5G jako „napędu” dla transportu, zdrowia, IoT, inteligentnego miasta i domu oraz elektroniki noszonej (wearable) [8].

Modem MDM9206 firmy Qualcomm obsługuje oba standardy komunikacyjne LTE Cat-M1 (eMTC) and Cat NB-1 (NB-IoT) oraz technologie HD-FDD, LTE TDD i E-GPRS [4]. Przy bardzo niskim poborze mocy obsługuje 15 pasm. Pozwala to na łatwy wybór operatora na całym globie. Obsługuje również pozycjonowanie satelitarne w systemach GPS, GLONASS, BeiDou i Galileo [4].

Huawei

Jest problem z odszukaniem informacji o układach dostarczanych przez Huawei. Są informacje, że firma HiSilicon (część Huawei) współpracuje z firmą Gemalto nad opracowaniem modułów NB-IoT [8]. Jest też informacja o układach Boudica firmy HiSilicon. Już w roku 2016 firma Quectel Wireless Solutions wypuściła moduł BC95, który obsługuje NB-IoT (Release 13) bazujący na układach Boudica firmy HiSilicon (Huawei). Strony chińskie wymieniają układy firmy HiSilicon: Boudica 120/Hi2110, Hi2150, Boudica 150.

Intel

Tutaj też jest problem, bo nigdzie nie widać produktów Intela dla IoT. Są zapowiedzi z roku 2016 oraz nieliczne opisy z numerkami układów, jak XMM 7115 czy XMM 7315. Ale oprócz niewielu parametrów nic więcej nie wiadomo [7].

U-Blox

Firma U-Blox oferuje serię modułów Sara N-2 z obsługą NB-IoT (LTE Cat NB1, Release 13) [8]. Moduły są oferowane w 5 wariantach dla różnych pasm radiowych. Moduł jest zamknięty w małej obudowie LGA 16,0×26,0×2,4 mm. Moduł zapewnia bardzo dobre warunki komunikacji (MCL 164 dB), co umożliwia pracę głęboko w budynkach (pod ziemią) oraz pod wodą.

Jest jeszcze seria SARA-R4/N4 z obsługą NB-IoT (LTE Cat NB1, Release 13), LTE Cat M1 oraz EGPRS. Ma podobną obudowę i podobne parametry.

Altair (Sony)

Altair była pierwszą firmą, która opracowała układ obsługujący oba standardy LTE dla IoT. Altair jest obecnie częścią firmy Sony [7]. Układ ALT1250 firmy Altair obsługuje komunikację w dwu standardach NB1 IoT oraz CAT-M1 (release 13) [4]. Firma Sierra Wireless oferuje moduł Airprime WP 7702 z zastosowaniem układu ALT1250.

Sequance

Oferta firmy Sequance jest podzielona na platformy [4]:

  • Monarch N – układ scalony z obsługą NB-IoT LTE Cat NB1/NB2, release 14/15, w obudowie CSP 10×10 mm.
  • Monarch SX – układ SOC (System on Chip ) z obsługą LTE-M (Cat M1) and NB-IoT (Cat NB1) (release 13),
  • Monarch SiP – układ SIP (System-in-Package) z obsługą LTE-M (Cat M1) and NB-IoT (Cat NB1) (release 13/14), w obudowie 8,8×10,8×0,95 mm
  • CLOE LTE-M/NB-IoT Tracker Platform – CLOE integruje układ LTE Cat M1/NB1 (Monarch) z układem Teseo III firmy STMicroelectronics (obsługującym pozycjonowanie satelitarne).

Układy są przeznaczone głównie dla producentów urządzeń.

Samsung

Samsung dostarcza szeroki wachlarz technologii dla IoT [7]. Obejmuje on także bramki i infrastrukturę zorientowaną na takie zastosowania, jak np. inteligentny dom. Dostarcza rozwiązań dla platform „end-to-end” zawierających moduły IoT chmurę, bezpieczeństwo i ekosystem.

Moduł Exynos i S111 jest modemem integrującym komunikację NB-IoT (release 14) oraz obsługę pozycjonowania satelitarnego (GPS, Galileo, GLONASS, BeiDou, OTDA). Został zastosowany procesor Cortex-M7 200 MHz z szerokim zakresem wspomagania algorytmów bezpieczeństwa (eFuse, AES, SHA-2, PKA, Secure Storage, PUF) [4].

RDA

Nie do końca udało się ustalić, o którą chińską firmę chodzi. Używany jest skrót RDA, ale pojawiają się nazwy Ricoh Microelectronics, UNISOC lub oddział Rui Di. Firma RDA odniosła sukces w produkcji tanich układów GPRS [7].

Układ RDA8909 integruje układ radiowy, zarzadzanie zasilaniem, modem, pamięć Flash, pSRAM oraz wbudowaną kartę ESIM [4]. Obsługuje transmisję NB-IoT (release 14) oraz GSM/GPRS. Dodatkowo zintegrowany jest odbiornik standardu 802.11b oraz obsługa transmisji Bluetooth 4.2 i BLE. Drugi układ RDA8910 wymienia się jako główny model z obsługą GSM/GPRS/NB-IoT/eMTC.

GCT Semiconductor

Układ GDM7243i firmy GCT Semiconductor jest bardzo interesujący, bo integruje obsługę komunikacji NB-IoT (release 13), Sigfox oraz Bluetooth 4.2 [4]. Umożliwia to jednoczesną pracę z transmisją NB-IoT oraz Bluetooth. Obsługuje też eSIM oraz programowy SIM [7].

Mediatek

Układ MT2625 obsługę komunikacji NB-IoT (release 14). Przy bardzo niskim poborze mocy układ SoC zawiera procesor ARM Cortex-M, modem DSP i interfejs analogowy. Układ pracuje pod kontrolą systemu RTOS, co umożliwia łatwą modyfikację oprogramowania aplikacyjnego. Jest też wersja MT2621 z obsługą komunikacji NB-IoT (release 14) oraz GSM/GPRS.

Nordic Semiconductor

Firma Nordic Semiconductor jest wiodącym dostawcą układów scalonych do obsługi komunikacji Bluetooth Low Energy. Doskonała współpraca z producentami urządzeń spowodowała utworzenie szerokiej społeczności projektantów.

W grudniu 2018 odbyła się inauguracja nowej serii nRF91, modułów do obsługi mobilnej komunikacji IoT oraz pozycjonowania GPS [11]. Pierwszy produkt tej serii nRF9160 jest już dostępny [9]. Układ jest tak ciekawy, że warto mu się dokładnie przyjrzeć.

Firma Nordic Semiconductor opracowała własny układ scalony (SoC) do obsługi komunikacji mobilnej (LTE) IoT. Jednak jest on oferowany tylko w postaci modułu SiP (System-in-Package) (rysunek 3). Firma Nordic Semiconductor współpracowała przy opracowaniu modułu z firmą Qorvo, co pozwoliło jej zastosować zaawansowany interfejs radiowy oraz zaawansowaną technologię MicroShield do uzyskania bardzo wysokiego stopnia zintegrowania (rysunek 2).

Rysunek 2. Organizacja modułu nRF9160 SiP

Moduł posiada certyfikację Global Certification Forum (GCF) [7], oprócz certyfikacji FCC i CE. Oznacza to zgodność ze specyfikacją 3GPP LTE oraz możliwość pracy z operatorami na całym świecie. Gotowy do wstawienia do urządzenia, certyfikowany moduł umożliwia szybkie wprowadzanie na rynek produktów z tym modułem. Rynek IoT jest bardzo duży (jak na przykład mierniki energii), lecz obsługiwany przez setki różnych firm, często operujących tylko na rynku jednego kraju. Przy ich ograniczonych  możliwościach istotna jest łatwość wdrażania i obsługi produktów z komunikacją LTE.

Moduł nRF9160 SiP

Moduł nRF9160 integruje procesor ARM Cortex-M33, modem LTE, układ GPS, układy peryferyjne i zarządzanie zasilaniem w obudowie SiP o rozmiarach 10×16×1,2 mm [9] (rysunek 3).

Rysunek 3. Obudowa SiP modułu nRF9160 [9]

Modem obsługuje komunikację w standardzie:

  • 3GPP LTE release 13: Cat-M1 (eMTC) oraz Cat-NB1 (NB-IoT),
  • 3GPP LTE release 14: Cat-NB1 (NB-IoT) oraz Cat-NB2 (NB-IoT),

Moduł nRF9160 oferuje kompletne rozwiązanie do pracy z komunikacją mobilną IoT. Wymaga tylko zewnętrznej baterii, karty SIM oraz anteny (rysunek 4). Układ obsługuje interfejs UICC (Universal Integrated Circuit Card). Oznacza to obsługę kart standardowych oraz eUICC (Embedded UICC). Układ wymaga napięcia zasilania z zakresu 3,0…5,5 V (typ. 3,8 V). Jest dostępny zestaw nRF9160 DK, który stanowi platformę do uruchamiania aplikacji, testowania i jako sprzętowy projekt referencyjny [10].

Rysunek 4. Minimalna konfiguracja pracy modułu nRF9160 [3]

Dla modułu RF9160 są dostępne narzędzia programowe: nRF Connect for Cloud, nRF Connect for Desktop, Segger Embedded Studio, SDK z przykładowymi aplikacjami. Pakiet programowy nRF Connect SDK zawiera wszystko, co jest potrzebne do rozpoczęcia pracy. Aplikacja nRF Link Monitor pozwala na testowanie połączeń komunikacyjnych i uzyskiwanie informacji o pracy sieci. Obecnie jest dostępne oprogramowanie firmowe do obsługi standardu LTE-M. Obsługa NB-IoT oraz GPS będzie dostępna (jako aktualizacja FW) w pierwszym kwartale roku 2019.

Moduł jest oferowany w trzech wariantach [11]:

  1. nRF9160-SICA-R: obsługa trzech standardów LTE-M/NB-IoT/GPS (produkcja Kwiecień 2019).
  2. nRF9160-SIAA-R: obsługa tylko standardu LTE-M (produkcja Kwiecień 2019).
  3. nRF9160-SIBA-R: obsługa tylko standardu NB-IoT (produkcja Lipiec 2019).

Rdzeń aplikacyjny

Moduł nRF9160 jest pierwszym układem do mobilnej komunikacji IoT z najnowszym rdzeniem Cortex M-33 firmy Arm. Jest też pierwszym układem, który stosuje najnowszą technologię Arm TrustZone oraz Arm CryptoCell 310. Technologia Arm TrustZone oznacza, że moduł ma obszary zabezpieczone oraz niezabezpieczone. Aspekty krytyczne, jak obsługa kryptograficzna i klucze, mogą być umieszczone w obszarze zabezpieczonym, do którego nie ma bezpośredniego dostępu. Zapewnia to najwyższy poziom szyfrowania i zabezpieczeń aplikacyjnych na rynku. Obie technologie zapewniają również bardzo energooszczędną pracę.

Schemat blokowy modułu nRF9160 jest pokazany na rysunku 5. Procesor ARM Cortex-M33 zapewnia energooszczędną arytmetykę (DSP), obliczenia zmiennoprzecinkowe (FPU), kontroler przerwań (NVIC) oraz moduł ochrony pamięci (MPU). Ma dołączoną pamięć Flash (1 MB) oraz RAM (256 kB). Jest przeznaczony wyłącznie do pracy aplikacji użytkowej. Modem LTE zawiera osobny rdzeń.

Rysunek 5. Schemat blokowy modułu nRF9160 [11]

Układ zasilania, zegara oraz architektura modułów peryferyjnych są także, jak w układach serii nRF52. Moduł udostępnia 32 wyprowadzenia GPIO, dwa zegary RTC, dwa timery 32b, przetwornik ADC (12b, 200 ksps), interfejs mikrofonu cyfrowego (PDM), cztery wyjścia PWM, port I2S, cztery porty UART, dwa porty I2C oraz cztery porty SPI.

Zarządzanie mocą

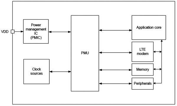
Zarządzanie zasilaniem oraz sygnałami zegarowymi wykonuje moduł Power Management Unit (PMU). Moduł PMU automatycznie śledzi wymagania komponentów systemu na zasilanie i sygnał zegarowy (rysunek 6). Automatycznie włącza je i wyłącza w zależności od potrzeb, bez interwencji użytkownika. Zapewnia to uzyskanie najniższego poboru mocy.

Rysunek 6. Zarządzanie mocą w układzie nRF9160 [11]

Moduł obsługuje dwa ogólne tryby zasilania:

  • Tryb System ON Tryb uruchamiany bezpośrednio po wykonaniu procedury RESET. W tym trybie bloki funkcjonalne, jak CPU, modem LTE i układy peryferyjne są w stanie IDLE (uśpienia). Zachowują one swój stan i konfigurację, dlatego są gotowe do przejścia do stanu aktywnego. System może pracować w dwóch podtrybach:
  • Low power – domyślny po operacji RESET.
  • Constant latency – w tym trybie wszystkie przerwania oraz zadania PPI są obsługiwane w stałym, możliwie najkrótszym czasie. Jednak wymuszenie stałego opóźnienia czasu rozpoczęcia obsługi przerwania powoduje wzrost pobieranej mocy zasilania. 
  • Tryb System OFF Tryb głębszego uśpienia, gdzie bloki funkcjonalne i zadania (task) są wyłączone. Jedynie działa funkcja wybudzenia systemu oraz RESET. Trzy zdarzenia mogą wybudzić system: wykrycie sygnału DETECT – generowanego przez wyprowadzenie GPIO, sygnał RESET lub wystartowanie sesji debugowej.

Modem LTE

Pracą modemu LTE steruje procesor aplikacyjny. Zarządzanie zasilaniem i sygnałami zegarowymi wykonuje sam modem LTE. Modem LTE jest dostępny dla użytkownika poprzez API. Układ obsługuje częstotliwości pracy od 700 MHz do 2,2 GHz poprzez pojedyncze gniazdko antenowe 50 V [8]. Ma nadajnik o mocy do 23 dBm oraz odbiornik o czułości –108 dBm (LTE-M) i –114 dBm (NB-IoT).

Modem LTE modułu nRF9160 składa się z kilku głównych bloków (rysunek 7): procesor, pamięci, baseband modem, moduł RF. Modem obsługuje tryby oszczędzania mocy zasilania: eDRX oraz PSM. Obecnie pobór prądu w trybach eDRX oraz PSM jest na poziomie 7 mA. Ale po optymalizacji oprogramowania (szczególnie czasu bootowania) oraz ustawień zegarów powinien osiągnąć 3 mA. Wtedy układ będzie spełniać wymaganie pracy co najmniej 10 lat na jednej baterii.

Rysunek 7. Modem LTE układu nRF9160 [11]

Modem udostępnia trójsygnałowy interfejs przeznaczony do synchronizacji pracy z innym modułem radiowym, np. układem Blue-
tooth LE. Sygnały pozwalają wysyłać impulsy synchronizacji czasu oraz informacje o stanie pracy. Umożliwia to uniknięcie interferencji występujących w przypadku jednoczesnego nadawania. Praca obu modułów radiowych w trybie odbioru jest możliwa, co nie powoduje interferencji.

Odbiornik GPS

Kolejną unikalną cechą modułu nRF9160 jest zintegrowanie odbiornika GPS o dokładności do 5 m. Odbiornik GPS określa pozycję w czasie gdy modem LTE pracuje w trybie DRX lub PSM. Wspólne dane umożliwiają określanie pozycji bardziej dokładnie niż z wykorzystaniem każdej techniki osobno. Odbiornik GPS może pracować ze wspólną anteną dla komunikacji LTE M1/NB1 lub z anteną osobną. Możliwie jest też zastosowanie zewnętrznego wzmacniacza niskoszumowego.

Podsumowanie

Powyższy opis jest tylko pierwszym wprowadzeniem do dziedziny układów dla mobilnych sieci IoT. Modemy dla mobilnej komunikacji IoT mogą się stać w roku 2019 czarnym koniem Internetu Rzeczy.

Obecnie niepewność, w którą stronę rozwinie się rynek układów dla LPWAN, powoduje, że dominują układy obsługujące oba standardy LTE-M oraz NB-IoT. Niektórzy producenci idą dalej i dodają obsługę konkurencyjnych standardów LPWAN jak Sigfox. Niektóre układy mają też dodaną komunikację lokalną standardu Bluetooth i IEEE 802.11. O dalszym rozwoju układów może jednak zadecydować cena i poziom produkcji. Wydaje się, że to rynek wyłoni zwycięską technologię.

Huawei podczas targów Mobile World Congress w Barcelonie zaprezentował przypadki, w których dzięki zastosowanym rozwiązaniom z wykorzystaniem NB-IoT operatorzy telekomunikacyjni odnotowują od 3 do 10 razy większy wzrost przychodów w porównaniu z poprzednimi technologiami [6]. Tak się jakoś składa, że ostatnio o rozwiązaniach technicznych coraz częściej decyduje stopa zwrotu.

Henryk A. Kowalski
Instytut Informatyki
Politechnika Warszawska

Bibliografia

Artykuł ukazał się w
Elektronika Praktyczna
styczeń 2019
DO POBRANIA
Pobierz PDF Download icon
Elektronika Praktyczna Plus lipiec - grudzień 2012

Elektronika Praktyczna Plus

Monograficzne wydania specjalne

Elektronik listopad 2025

Elektronik

Magazyn elektroniki profesjonalnej

Raspberry Pi 2015

Raspberry Pi

Wykorzystaj wszystkie możliwości wyjątkowego minikomputera

Świat Radio listopad - grudzień 2025

Świat Radio

Magazyn krótkofalowców i amatorów CB

Automatyka, Podzespoły, Aplikacje listopad - grudzień 2025

Automatyka, Podzespoły, Aplikacje

Technika i rynek systemów automatyki

Elektronika Praktyczna listopad 2025

Elektronika Praktyczna

Międzynarodowy magazyn elektroników konstruktorów

Elektronika dla Wszystkich grudzień 2025

Elektronika dla Wszystkich

Interesująca elektronika dla pasjonatów