USB Type-C – uniwersalne złącze danych i zasilania w świetle nowych regulacji UE

USB Type-C – uniwersalne złącze danych i zasilania w świetle nowych regulacji UE

Port USB-C jest bez wątpienia jednym z najpowszechniejszych standardów interfejsowych stosowanych we współczesnej elektronice konsumenckiej, choć coraz częściej można go spotkać także w rozmaitych urządzeniach profesjonalnych, np. aparaturze pomiarowej. Choć chyba każdy właściciel nowego smartfona czy ładowarki docenia ten interfejs chociażby dzięki wygodzie użytkowania (jest to pierwszy tak rozpowszechniony port w technice cyfrowej, który pozwala na łączenie wtyku z gniazdem w dowolnej orientacji), to od strony implementacyjnej USB-C wcale nie jest już tak proste i oczywiste. Na rynku istnieje pokaźna gama odmian samych tylko gniazd, dostosowanych do różnorodnych potrzeb projektowych – a przecież to tylko jedna strona medalu, gdyż z USB-C wiąże się także niezliczona ilość innych aspektów, związanych chociażby ze standardami przesyłu danych czy rozmaitymi, mniej oczywistymi zastosowaniami. I to właśnie o tych wszystkich zagadnieniach traktuje listopadowy „Temat specjalny”.

Powszechnie znane porzekadło głosi, że „jeśli coś jest do wszystkiego, to jest do niczego”. USB-C wydaje się całkowicie przeczyć temu twierdzeniu, co doskonale widać po uniwersalnych zastosowaniach tego niepozornego portu.

Unia Europejska konsekwentnie dąży do ujednolicenia standardu ładowania urządzeń elektronicznych. W 2022 roku znowelizowano unijną dyrektywę radiową (RED), wprowadzając wymóg, aby od 28 grudnia 2024 r. wszystkie nowe telefony komórkowe, tablety, aparaty fotograficzne, słuchawki, konsole przenośne, głośniki, e-czytniki i inne małe urządzenia elektroniczne sprzedawane na terenie UE były wyposażone w zunifikowany port ładowania USB typu C. Mało tego – od 28 kwietnia 2026 r. wymóg ten obejmie również laptopy.

Równolegle w październiku 2025 roku Komisja Europejska przyjęła regulacje dotyczące samych zewnętrznych zasilaczy (EPS), czyli popularnych ładowarek sieciowych. Zgodnie z nowymi wymogami, do końca 2028 wszystkie zasilacze sprzedawane w UE będą musiały mieć przynajmniej jedno gniazdo USB-C i odłączany kabel. Dzięki temu powstaną tzw. „wspólne ładowarki” pasujące do wielu urządzeń. Co ciekawe, pojęcie EU Common Charger odnosi się do oficjalnych aktów prawnych – standard mają „uprawomocnić” dwa dokumenty:

  • Dyrektywa Parlamentu Europejskiego i Rady (UE) 2022/2380 z dnia 23 listopada 2022 r. w sprawie zmiany dyrektywy 2014/53/UE w sprawie harmonizacji ustawodawstw państw członkowskich dotyczących udostępniania na rynku urządzeń radiowych

oraz

  • Rozporządzenie Delegowane Komisji (UE) 2023/1717 z dnia 27 czerwca 2023 r. zmieniające dyrektywę Parlamentu Europejskiego i Rady 2014/53/UE w odniesieniu do specyfikacji technicznych dotyczących gniazda ładowania i protokołu komunikacyjnego w zakresie ładowania dla wszystkich kategorii lub klas urządzeń radiowych, które można ładować za pomocą ładowania przewodowego.

Mamy więc do czynienia z ciekawą sytuacją, w której organy ustawodawcze bezpośrednio ingerują w zagadnienia stricte techniczne, implementując standard opracowany przez instytucję pozarządową, czyli USB Implementers Forum (w skrócie USB-IF). Czy to dobrze? Z wielu względów zdecydowanie tak. Unifikacja standardu zasilania i ładowania urządzeń elektronicznych nie tylko znacznie ułatwi życie konsumentom, ale także pozytywnie wpłynie na środowisko oraz jednoznacznie ukierunkuje decyzje projektowe zapadające w biurach konstrukcyjnych producentów urządzeń. Martwić się mogą przede wszystkim firmy, które do tej pory żyły z produkcji i sprzedaży uniwersalnych zasilaczy do laptopów, wyposażonych w zestaw końcówek pasujących do rozmaitych modeli komputerów przenośnych – choć przy odpowiednim przezbrojeniu produkcji i one zapewne nie ucierpią na wprowadzonych właśnie zmianach.

Nowe ładowarki będą musiały spełniać wyższe wymagania dotyczące efektywności energetycznej, a urządzenia objęte regulacją będą oznaczane specjalnym logo informującym o zgodności ze wspólnym standardem. Celem tych działań jest ułatwienie życia konsumentom oraz redukcja odpadów elektronicznych – według szacunków unijnych, nowe przepisy rocznie ograniczą zużycie energii o ok. 3% (co odpowiada pracy 140 tys. samochodów elektrycznych przez rok) i pozwolą zaoszczędzić konsumentom ok. 100 mln euro. Nowe przepisy to także symboliczny koniec epoki chaosu wśród kabli zasilających: port USB Type-C został oficjalnie uznany za jednolity standard ładowania dla szerokiej gamy elektroniki użytkowej. W niniejszym artykule przyjrzymy się temu interfejsowi od strony technicznej – omówimy jego budowę, właściwości i przewagi nad poprzednikami (Micro USB, Mini USB), a także dodatkowe możliwości, jakie oferuje (szybkie ładowanie, tryby alternatywne, Thunderbolt, USB Power Delivery itp.).

Geneza i zalety USB typu C

Standard złącza USB-C (oficjalnie: USB Type-C) został opracowany przez konsorcjum USB-IF w 2014 roku jako odpowiedź na potrzeby nowoczesnej elektroniki. W tym czasie na rynku królowały jeszcze złącza micro USB (typ Micro-B) w urządzeniach przenośnych oraz duże złącza USB typu A w komputerach. Kompaktowe Micro USB (fotografia 1), wprowadzone w 2007 r., oferowało niezłe parametry jak na swoje czasy – było trwalsze od starszego Mini USB (wytrzymywało 10 000 cykli łączenia, czyli dwukrotnie więcej niż Mini USB) i umożliwiało transfer danych z prędkością do 480 Mb/s (USB 2.0 High Speed). A jednak miało też wady: podobnie jak wszystkie inne gniazda i wtyki USB, złącze to było asymetryczne (wtyczkę trzeba było wkładać do gniazda tylko w jednej, ściśle określonej pozycji), obsługiwało ograniczony prąd ładowania (domyślnie 0,5...2 A przy napięciu 5 V) i nie przewidywało żadnych możliwości łatwego przekazywania sygnałów wideo czy ładowania bądź zasilania urządzeń wymagających dostarczenia wyższej mocy.

Fotografia 1. Przykładowy moduł ze złączem Micro USB (https://t.ly/21DYA)

USB Type-C eliminuje wszystkie wspomniane ograniczenia. Jest to złącze symetryczne i odwracalne, które można podłączyć w obu orientacjach (nie ma „góry” i „dołu”). Type-C od początku projektowano jako interfejs uniwersalny – mający zastąpić wszystkie wcześniejsze typy USB (A, B, Micro, Mini) oraz nawet inne złącza, takie jak chociażby DisplayPort czy Lightning firmy Apple.

Co ważne, wprowadzony w międzyczasie (a dokładniej w 2008 roku) standard USB 3.0 znacznie podniósł poprzeczkę w zakresie przepustowości danych – i właśnie USB typu C jest tak naprawdę pierwszym rodzajem złącza, które zrobiło furorę na rynku elektroniki konsumenckiej, pozwalając na wykorzystanie pełni możliwości nowych interfejsów do superszybkiego transferu danych. W międzyczasie na rynku pojawiły się wprawdzie dość niezgrabne implementacje mające zapewnić pewną interoperacyjność pomiędzy urządzeniami różnych generacji (np. wtyki i gniazda Type A oraz Type B w celu przyspieszenia transferu otrzymały – obok standardowych 4 styków – także 5 dodatkowych, ukrytych w głębi złącza lub dostawionych nad głównym złączem i obsługujących szybszą magistralę – patrz fotografie 23), ale taka dywersyfikacja tylko pogłębiła i tak już istniejący chaos w świecie portów komputerowych. USB Type-C miało ten problem zlikwidować – i udało mu się to z imponującą skutecznością.

Fotografia 2. Kabel USB 3.0 (https://t.ly/WYly2)
Fotografia 3. Wnętrze wtyku USB 3.0 Type-A (https://t.ly/4p-0e)

Wspomniana wysoka przepustowość jest jedną z najważniejszych zalet USB-C: dochodzi ona do 10 Gb/s w trybie USB 3.2 Gen2, do 20 Gb/s w USB 3.2 Gen 2x2, a nawet do 40 Gb/s w trybach Thunderbolt 3/USB4). Do listy przymiotów USB-C trzeba dodać obsługę zasilania o dużej mocy (do 100 W w standardzie USB-PD 2.0, a obecnie nawet do 240 W w USB-PD 3.1) oraz tryb Alternate Mode pozwalający transmitować przez ten sam port także inne protokoły (np. DisplayPort, HDMI, Thunderbolt). Krótko mówiąc, USB-C to prawdziwie uniwersalne złącze dla współczesnej elektroniki – mogące jednocześnie zasilać urządzenie i transmitować różnego typu dane (w tym obraz i dźwięk, do niedawna nawet w postaci analogowej).

W praktyce USB typu C, za sprawą oczywistych i niepodważalnych zalet, szybko zdobyło popularność. Już kilka lat po premierze zaczęto wyposażać w nie smartfony, laptopy, monitory, dyski zewnętrzne, a także drobne akcesoria. Pomogły w tym wymierne zalety konstrukcyjne: duża trwałość mechaniczna, wysoka gęstość styków oraz wielofunkcyjność. Standard wymaga, by gniazdo wytrzymywało co najmniej 10 000 cykli łączeniowych. Złącze Type-C ma też solidną konstrukcję mocującą: większość gniazd jest lutowana do płytki drukowanej zarówno poprzez pady SMT, jak i dodatkowe kołki przewlekane (THT), zintegrowane z metalowym ekranem i stanowiące solidne kotwice mechaniczne. Dzięki temu porty USB-C nieporównanie rzadziej odrywają się od PCB w wyniku działania nadmiernych sił mechanicznych – co było niezwykle częstym problemem w przypadku starszych złączy Micro USB, lutowanych nierzadko tylko powierzchniowo (fotografia 4).

Fotografia 4. Przykład częstego uszkodzenia spotykanego w urządzeniach wyposażonych w gniazdo Micro USB – złącze oderwane od powierzchni PCB razem z padami lutowniczymi (https://t.ly/tzVEJ)

Kolejnym usprawnieniem, którego istnienia większość użytkowników zapewne nie jest nawet świadoma, są miniaturowe zatrzaski wewnątrz wtyczki USB-C (fotografia 5), zahaczające o wypustki w gnieździe. Zapewniają one pewne osadzenie wtyku, a jednocześnie – w przeciwieństwie do zaczepów Micro USB – są niewidoczne na zewnątrz, więc też mniej podatne na zużycie lub przypadkowe uszkodzenie.

Fotografia 5. Miniaturowy zatrzask wewnątrz wtyku USB-C (https://t.ly/3IBMx)

Budowa i układ wyprowadzeń złącza USB-C

W odróżnieniu od wcześniejszych standardów, w ramach których istniały różne złącza dla urządzeń nadrzędnych (typ A) i podrzędnych (typy B, Micro-B itp.), USB-C jest symetryczne po obu stronach kabla – ten sam typ wtyczki obsługuje zarówno funkcję hosta, jak i urządzenia. I samo to rozwiązuje już w znacznej mierze problem obsługi USB OTG (czyli dwufunkcyjnego portu USB, mogącego – w zależności od potrzeb użytkownika – pracować zarówno jako host, jak i peripheral). Wszak wcześniej konsorcjum USB IF starało się wprowadzić rozróżnienie urządzeń na wspierające oraz niewspierające OTG poprzez modyfikację kształtu gniazda (stąd wzięły się złącza Micro-AB) oraz rezystor podłączony do linii ID.

Port ma kształt płaskiego owalu (a ściślej rzecz ujmując – wydłużonego prostokąta o silnie zaokrąglonych narożnikach), o wymiarach zewnętrznych ok. 8,4×2,6 mm. Co ciekawe, szerokość gniazda jest zatem nieznacznie większa nie tylko od Micro-B, ale nawet od Mini-B. W jego wnętrzu znajduje się izolacyjny rdzeń z dwoma rzędami precyzyjnych styków. Podstawowa wersja gniazda USB-C ma łącznie 24 piny ułożone w dwóch symetrycznych rzędach po 12 (oznaczanych jako rzędy A i B). Rysunek 1 pokazuje schemat układu wyprowadzeń typowego gniazda USB-C (widok od czoła). W każdym rzędzie znajdują się piny o identycznych funkcjach elektrycznych, z tym że umiejscowione po przeciwnej stronie wtyku – dzięki temu możliwe jest odwracanie wtyczki, bez wpływu na funkcje elektryczne. Można powiedzieć, że złącze jest środkowosymetryczne: styki rzędu A pełnią tę samą rolę co odpowiadające im styki rzędu B, gdy wtyczka jest obrócona.

Rysunek 1. Schemat budowy i układ wyprowadzeń złącza USB typu C (widok od frontu gniazda). Kolorami zaznaczono grupy funkcjonalne styków: zasilanie (czerwone), masa (szare), USB 2.0 D+/D− (zielone), SuperSpeed TX/RX (niebieskie), linie konfiguracyjne CC (fioletowe) i linie dodatkowe SBU (pomarańczowe). Źródło: https://t.ly/FCVcQ

Każdy ze styków USB-C ma przypisane określone zadanie w zależności od trybu pracy złącza. Można wyróżnić kilka grup wyprowadzeń:

  • Zasilanie i masa – cztery piny VBUS oraz cztery GND rozmieszczone są naprzemiennie na obu skrajach złącza. Dzięki zwielokrotnieniu tych styków złącze może przenosić znaczne wartości prądu – nawet do 5 A ciągłego obciążenia (więcej na ten temat piszemy w dalszej części artykułu poświęconej USB-PD). Standardowe napięcie na VBUS wynosi 5 V (zgodnie z wymogami USB 2.0/3.0), ale w ramach USB Power Delivery linie te mogą być zasilane podwyższonym napięciem (np. 9 V, 15 V, 20 V, a nawet 48 V w rozszerzeniu PD 3.1) w celu dostarczenia większej mocy. W normalnym stanie (tj. bez aktywnej negocjacji) napięcie VBUS pojawia się dopiero po prawidłowym połączeniu i wykryciu odbiornika – jest to tzw. zimne złącze (ang. cold plug), zapobiegające iskrzeniu i przypadkowym zwarciom. Dla kontrastu warto przypomnieć, że w przypadku wcześniejszych generacji portu USB napięcie 5 V na linii VBUS było dostępne przez cały czas pracy urządzenia nadrzędnego (hosta).
  • Linie danych USB 2.0 – to dwie standardowe pary D+ i D– (jedna para w rzędzie A: piny A6–A7, druga w rzędzie B: B6–B7). Służą do transmisji danych zgodnie ze starszym standardem USB 2.0 (prędkości Low/Full/High Speed, do 480 Mb/s). W gnieździe USB-C piny te są zdublowane (dla odwracalności wtyku), lecz wewnątrz urządzenia zwykle pozostają ze sobą połączone galwanicznie – de facto jest to jedna magistrala USB 2.0. Dzięki temu niezależnie od orientacji wtyczki, urządzenie zawsze „widzi” podłączenie linii D+ i D−. Warto dodać, że prostsze implementacje USB-C mogą wykorzystywać wyłącznie te piny, nie obsługując nowego standardu SuperSpeed – wówczas złącze USB-C działa tylko z prędkością USB 2.0. Taka sytuacja ma miejsce chociażby w popularnych konwerterach USB-UART i innych urządzeniach, które nie implementują szybszych łączy nowej generacji.
  • Linie danych SuperSpeed – osiem styków ułożonych w dwie pary nadawcze (TX) i dwie odbiorcze (RX). Są to piny oznaczone jako TX1+/TX1− (A2/A3), RX1+/RX1− (B11/B10) oraz TX2+/TX2− (B2/B3) i RX2+/RX2− (A11/A10). Tworzą one cztery ekranowane pary różnicowe, niezbędne dla transmisji o wysokiej przepustowości (tzw. SuperSpeed lub SuperSpeed+). W trybie USB 3.x standardowo wykorzystywana jest jedna para TX i jedna RX (po jednej dla każdego kierunku transmisji). Druga para może pozostać odłączona, użyta do obsługi innego protokołu (Alternate Mode) albo – w przypadku USB 3.2 Gen2×2 – pracować równolegle do pierwszej pary, celem podwojenia przepustowości (dwa strumienie 10 Gb/s, łącznie 20 Gb/s). Co istotne, podobnie jak linie D+/D−, również pary TX/RX są zdublowane po obu stronach złącza dla umożliwienia odwracalności. W urządzeniu docelowym sygnały te są odpowiednio multipleksowane – w zależności od wykrytej orientacji wtyczki, aktywne są albo linie z grupy „1”, albo „2”. Wymaga to zastosowania w układzie fizycznym przełącznika sygnałów lub odpowiedniej topologii połączeń. Dzięki temu bez względu na orientację wtyku, komunikacja SuperSpeed zostaje zestawiona prawidłowo.
  • Linie boczne (SBU) to dwa styki SBU1 (A8) i SBU2 (B8), skrót od Side Band Use. Są to dodatkowe kanały sygnałowe, które nie biorą udziału w zwykłej transmisji USB, ale mogą być wykorzystywane w trybach alternatywnych do transmisji sygnałów o małej przepustowości. Przykładowo w trybie DisplayPort Alternate Mode linie SBU przenoszą sygnały AUX+ i AUX− interfejsu DisplayPort (kanał pomocniczy do konfiguracji monitora). Z kolei w specjalnym trybie audio linie SBU mogą służyć do transmisji analogowego sygnału mikrofonu i masy dla słuchawek przewodowych na USB-C. Tryb analogowy Audio Adapter Accessory Mode pozwalał wyprowadzić z telefonu analogowy sygnał stereo (na liniach D+/D−) oraz mikrofon (na SBU1) – używano do tego celu pasywnych adapterów USB-C–jack 3,5 mm (rysunek 2). Wymagało to jednak, by telefon miał wbudowany przetwornik DAC/ADC audio i wzmacniacz. Ten analogowy tryb USB-C został jednak zdeprecjonowany w 2024 r. (specyfikacja USB-C 2.3) na rzecz użycia dedykowanych adapterów cyfrowych (USB Audio Class). Warto dodać, że większość adapterów USB-C–jack 3,5 mm, które są obecnie dostępne na rynku, ma już wbudowany konwerter DAC – dotyczy to nawet tych najtańszych produktów, sprzedawanych za kilkanaście złotych.
    Niemniej linie SBU nadal pełnią ważną rolę w trybach Alternate Mode (np. do przenoszenia sygnałów w standardzie Thunderbolt lub wspomnianego DisplayPort). W normalnym stanie, gdy port pracuje w trybie USB, piny SBU nie są wykorzystywane. Z punktu widzenia konstrukcji sprzętu warto natomiast pamiętać, że linie SBU nie są symetryczne – SBU1 występuje po jednej stronie złącza, a SBU2 po drugiej – lecz w razie odwrócenia wtyku również są odpowiednio przełączane wraz z resztą sygnałów.
Rysunek 2. Schemat aplikacyjny scalonego multipleksera portu USB-C typu FSA1153, umożliwiającego obsługę magistrali USB 2.0, interfejsu UART oraz sygnałów analogowych w ramach tego samego gniazda (https://t.ly/2cRM3)
  • Linie konfiguracyjne (CC) obejmują dwa styki CC1 (A5) i CC2 (B5), czyli Configuration Channel. To właśnie one stanowią „mózg” złącza USB-C i decydują o jego uniwersalności. Linie CC są wykorzystywane do realizacji szeregu funkcji pomocniczych: wykrywania przyłączenia kabla, rozpoznawania orientacji wtyczki (rysunek 3), ustalania roli portów (host/urządzenie peryferyjne) oraz negocjacji parametrów zasilania. W trybie podstawowym (bez USB-PD) linie CC pozwalają ustalić, czy podłączono akcesorium z samym zasilaniem, czy też pełnoprawne urządzenie USB, a także czy owo urządzenie jest hostem (DFP) czy peryferium (UFP). Służą do tego odpowiednie kombinacje rezystorów podłączanych do CC przez każde urządzenie: host (DFP) ma wbudowane rezystory podciągające (Rp) do VBUS, a urządzenie (UFP) – rezystory do masy (Rd). Po wpięciu wtyczki powstaje dzielnik napięcia, który pozwala wykryć obecność i charakter drugiej strony połączenia. Co więcej, wartość rezystora Rp informuje od razu, jaki maksymalny prąd może dostarczyć port zasilający – standard przewiduje trzy poziomy: domyślny USB (500 mA dla USB 2.0 lub 900 mA dla USB 3.0), 1,5 A oraz 3 A. Przykładowo, jeśli ładowarka USB-C chce zakomunikować, że może dostarczyć 3 A przy 5 V, podpina na linii CC rezystor Rp o określonej wartości. Podłączone urządzenie, po odczytaniu napięcia na CC, rozpozna tę wartość i będzie wiedziało, że może bezpiecznie pobrać do 3 A z portu. To sprytne rozwiązanie wyeliminowało potrzebę stosowania niespójnych standardów związanych z manipulacją liniami danych, znaną ze starych ładowarek USB – w USB-C informacja o dostępnym prądzie przekazywana jest tylko przez dedykowany kanał CC. Linie CC służą też do wykrycia orientacji wtyczki: w kablu USB-C tylko jedno z dwóch połączeń CC (CC1 lub CC2) jest czynne – drugie albo nie jest podłączone, albo pełni rolę doprowadzenia zasilania do „elektroniki kablowej” (linia VCONN). Jeśli host wykryje obciążenie na CC1, oznacza to, że wtyczka jest w jednej orientacji; jeśli na CC2 – w drugiej. Dzięki temu system wie, które linie TX/RX są aktualnie „na górze”, a które „na dole” złącza i może poprawnie skonfigurować multipleksery sygnałów. Ponadto poprzez linie CC realizowana jest pełna komunikacja protokołu USB Power Delivery (PD) oraz inicjalizacja trybów alternatywnych. Jest to fizycznie realizowane jako jednokierunkowa komunikacja typu bi-phase mark coding (BMC) o szybkości około 300 kb/s, modulująca rezystancję obciążenia CC w kablu. Protokół PD omawiamy nieco szerzej w dalszej części artykułu.
Rysunek 3. Ilustracja metody detekcji orientacji kabla USB-C (https://t.ly/YtL7a)

Różne wykonania gniazd – sposób montażu i zestaw pinów

Standaryzacja elektryczna nie oznacza stuprocentowej unifikacji mechanicznej – na rynku istnieje mnóstwo fizycznych odmian gniazd USB typu C, dostosowanych do różnych potrzeb konstrukcyjnych. Przede wszystkim spotyka się gniazda o różnych sposobach montażu na PCB. Zdecydowanie najpopularniejsze, czyli poziome (kątowe, nazywane right-angle), montowane są przy krawędzi płytki i wystają w bok urządzenia, zaś pionowe (vertical) stoją prostopadle do PCB, co umożliwia wpinanie wtyczki od góry. Przykłady obu typów gniazd pokazano na fotografiach 67.

Fotografia 6. Typowe gniazdo USB-C typu leżącego (https://t.ly/wCF0a)
Fotografia 7. Pionowe gniazdo USB-C (https://t.ly/XPdGf)

Gniazda pionowe stosuje się m.in. tam, gdzie brakuje miejsca na krawędziach obwodu (np. w zasilaczach, power-bankach, niektórych hubach) albo gdy port ma służyć do dokowania od góry z uwagi na orientację obudowy urządzenia względem PCB. Złącza poziome są zaś typowe dla smartfonów, dysków przenośnych czy laptopów – można je znaleźć wszędzie tam, gdzie port umieszcza się na bocznej ściance obudowy, prostopadłej do PCB. Rzadziej spotykane (ale również dość łatwo dostępne) są gniazda USB-C, które jednocześnie można określić mianem kątowych i pionowych – najprościej mówiąc, ich główna płaszczyzna jest prostopadła do wcześniej opisanych dwóch typów złączy (fotografia 8).

Fotografia 8. Kątowe gniazdo USB-C do montażu w pionie (https://t.ly/FyUKL)

Odmianą poziomych gniazd kątowych są wersje typu mid-mount, w których korpus gniazda zagłębia się częściowo w wycięciu płytki drukowanej (fotografia 9).

Fotografia 9. Gniazdo USB-C typu mid-mount (https://t.ly/l92X7)

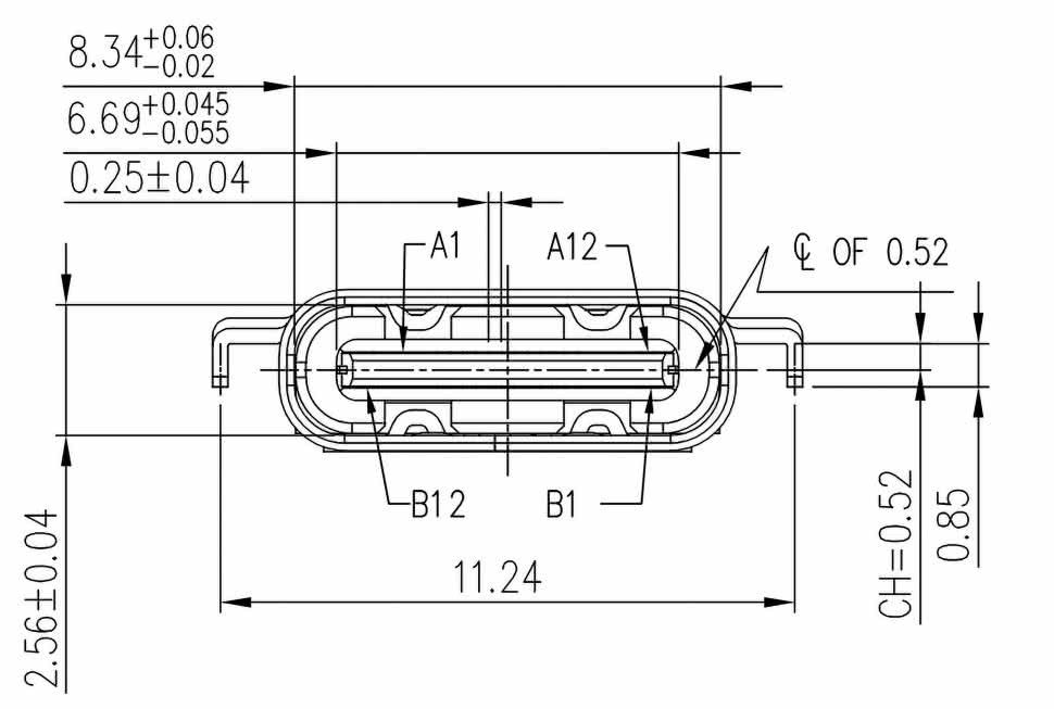
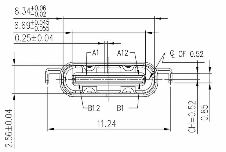
Rozwiązanie to pozwala obniżyć wysokość części gniazda znajdującej się ponad płytką, kosztem komplikacji projektu PCB (istnieje bowiem konieczność wyfrezowania precyzyjnej wnęki). Tego rodzaju gniazda są niezastąpione w ultra-cienkich urządzeniach, gdyż spora część całkowitej wysokości gniazda zostaje niejako „ukryta” w obrębie grubości samego laminatu. Przykładowo jeżeli w projekcie zastosowana zostanie płytka o grubości 1,0 mm ze złączem GSB1C4621DS2HR (rysunek 4), to ponad powierzchnią warstwy górnej PCB będzie wystawał fragment złącza o wysokości zaledwie, 1,08 mm. Przy doborze gniazd wpuszczanych w obrys PCB trzeba koniecznie zwrócić uwagę na podane przez producenta informacje i rysunki montażowe – poszczególne wersje mają bowiem geometrię i wymiary dostosowane do różnych grubości laminatu. Wspomniane wcześniej gniazdo marki Amphenol, w którym odległość płaszczyzny środkowej złącza od powierzchni PCB wynosi 0,52 mm, występuje także w wersjach o analogicznym wymiarze równym: 0,58 mm, 0,78 mm, 0,65 mm oraz 0,97 mm – w przypadku urządzeń silnie zminiaturyzowanych, w których liczy się dosłownie każdy ułamek milimetra, wybór niewłaściwego modelu gniazda może być utrapieniem dla zespołu projektowego, a szczególnie dla konstruktora odpowiedzialnego za obudowę docelowego produktu.

Rysunek 4. Wymiary przykładowego złącza typu mid-mount – GSB1C4621DS2HR (https://t.ly/xu9ps)

Niezależnie od orientacji i położenia płaszczyzny montażowej, na rynku istnieją też odmiany gniazd różniące się sposobem lutowania: większość gniazd USB-C to konstrukcje hybrydowe – styki sygnałowe mają wyprowadzenia SMD, zaś ekran zewnętrzny i kotwice mechaniczne są lutowane w otworach, tak jak elementy THT. Producenci oferują jednak także złącza w „czystych” wersjach SMT, bez pinów przewlekanych – ułatwia to montaż automatyczny i pozwala stosować złącze na PCB o dowolnej grubości (fotografia 10).

Fotografia 10. Złącze USB-C do montażu powierzchniowego (https://t.ly/NaFzE)

Warto przy tej okazji wspomnieć, że przy zastosowaniu gniazda z kotwicami przewlekanymi trzeba zwrócić uwagę na ich długość. W przypadku grubszych płytek część gniazd może okazać się niemożliwa do prawidłowego przylutowania z uwagi na zbyt krótki odcinek kotwicy wystający poza powierzchnię PCB. Z punktu widzenia użytkownika końcowego różnice te są nieodczuwalne, natomiast dla konstruktora urządzenia wybór odpowiedniego wariantu złącza może być istotny (np. dyktowany ograniczeniami miejsca czy wymogami produkcji bądź sposobu integracji urządzenia).

Warto też wspomnieć o złączach USB-C o zredukowanej liczbie pinów. Standardowo pełne gniazdo ma 24 wyprowadzenia i jest gotowe do implementacji wszystkich funkcji przewidzianych przez konsorcjum USB-IF. Jednak do niektórych zastosowań (np. tylko do ładowania/zasilania) produkuje się gniazda USB Type-C z okrojonym zestawem pinów, które w handlu określane są zwykle mianem power-only lub charging receptable. Przykładowo firma CUI Devices oferuje gniazda, w których usunięto wszystkie dodatkowe piny i pozostawiono jedynie wyprowadzenia zasilania, parę różnicową D+/D− oraz styki CC (fotografia 11). Takie złącza mogą mieć fizycznie zaledwie 6 styków zamiast pełnego kompletu 24, co znacznie upraszcza konstrukcję i obniża koszty – wciąż jednak są one w pełni kompatybilne ze wszystkimi wtykami USB-C. Mniejsza liczba pinów to także prostsza implementacja projektu PCB, gdyż nieskomplikowany i dość luźny footprint złącza wpływa diametralnie na układ ścieżek w ciasnym otoczeniu gniazda – zwłaszcza w najbardziej kompaktowych konstrukcjach. Gniazda okrojone w opisany sposób stosuje się np. w ładowarkach, modułach zasilaczy czy przedłużaczach USB-C przeznaczonych wyłącznie do celów zasilania.

Fotografia 11. Złącza USB typu Power-only (https://t.ly/MdrJW)

Daleko idące uproszczenia spotyka się też w kablach – niektóre przewody USB-C (często te dołączane do smartfonów lub innych urządzeń konsumenckich, zwłaszcza tych tańszych) są w istocie kablami USB 2.0, pozbawionymi par SuperSpeed, co ogranicza prędkość transmisji do 480 Mb/s, ale pozwala zredukować liczbę żył i zwiększyć giętkość kabla. Dlatego konstruktor projektujący urządzenie z portem USB-C musi przemyśleć, jakie funkcje interfejsu są potrzebne i dopilnować, by zastosowane gniazdo i kabel je wspierały (np. do pełnej obsługi USB 3.2 Gen2x2 czy Thunderbolt wymagane jest pełne 24-pinowe złącze oraz wysokiej jakości kabel z certyfikatem).

Tryby pracy i dodatkowe funkcjonalności

Samo złącze USB-C jest tylko fizycznym interfejsem – o sposobie jego wykorzystania decydują urządzenia i uzgodnione między nimi protokoły. Najprostszy scenariusz to użycie USB-C jedynie jako portu USB 2.0 wraz z zasilaniem. W takim przypadku po podłączeniu przewodu aktywna jest tylko para D+/D− oraz linie CC do ewentualnego uzgodnienia natężenia prądu (1,5 A/3 A). Jest to wersja wstecznie kompatybilna ze starszym standardem: urządzenie może komunikować się z hostem tak, jakby było podłączone tradycyjnym kablem USB 2.0. Wiele prostych peryferiów (myszki, klawiatury czy rozmaite urządzenia z mikrokontrolerami wyposażonymi w kontroler USB Full Speed) nie potrzebuje niczego więcej.

Złącze USB-C rozwija jednak pełnię możliwości dopiero w trybie USB 3.x/USB4. Po zestawieniu połączenia linie CC negocjują wejście w tryb SuperSpeed i przydzielenie ról: jedno z urządzeń staje się hostem USB (funkcja DFP – Downstream Facing Port), drugie – urządzeniem podrzędnym (UFP – Upstream Facing Port). Następnie do akcji wkraczają linie TX/RX, realizujące transmisję o dużej przepustowości: w zależności od implementacji może to być USB 3.1 Gen1 (5 Gb/s), USB 3.1 Gen2 (10 Gb/s), USB 3.2 Gen2x2 (20 Gb/s) itd. Najnowsze wersje standardu przewidują już protokół USB4, który bazuje na technologii Thunderbolt 3 i potrafi dynamicznie dzielić pulę 40 Gb/s między transmisję danych i obrazu. W praktyce USB4 i Thunderbolt 3/4 są (przynajmniej z punktu widzenia złącza) bardzo podobne – wymagają pełnego okablowania USB-C i wykorzystują wszystkie cztery szybkie pary różnicowe jako dwukierunkowy tunel dla różnych protokołów. Porty obsługujące Thunderbolt/USB4 muszą spełniać dodatkowe wymagania (m.in. aktywne kable o większej długości, certyfikacja Intel), ale fizycznie są to nadal te same złącza USB-C. Dzięki temu na jednym porcie w laptopie możemy np. podłączyć zarówno pamięć SSD (korzystając z USB 3.2 10 Gb/s), jak i monitor 4K (korzystając z alternatywnego trybu DisplayPort), czy nawet specjalny hub eGPU (korzystając z Thunderbolt 40 Gb/s). Przejście do obsługi trybów alt-mode odbywa się po uprzedniej negocjacji przez USB Power Delivery – urządzenia uzgadniają przełączenie określonych linii (zwykle par SuperSpeed i SBU) do alternatywnego funkcjonowania.

Najpopularniejszym trybem alternatywnym jest wspomniany już kilkukrotnie DisplayPort Alt Mode, który umożliwia bezpośrednie podłączenie monitora DisplayPort do portu USB-C (poprzez odpowiedni kabel lub adapter – fotografia 12).

Fotografia 12. Przykładowy kabel USB-DisplayPort zgodny z trybem DisplayPort Alt Mode (https://t.ly/zaE6_)

W tym trybie dostępne są konfiguracje wykorzystujące 2 lub 4 linie SuperSpeed jako tory obrazu, pozwalając np. na przesłanie obrazu 4K @ 60 Hz wraz z danymi USB 2.0. Wreszcie wspomniany wcześniej tryb Audio Accessory Mode pozwalał przesyłać sygnał analogowy audio (fotografia 13) – obecnie jest już wycofywany, ponieważ przemysł przeszedł na rozwiązania z aktywnymi adapterami cyfrowymi (słuchawki USB-C z wbudowanym DAC lub adaptery z własną elektroniką – fotografia 14).

Fotografia 13. Pasywny adapter audio USB-C-jack 3,5 mm (https://t.ly/s75cs)
Fotografia 14. Aktywny adapter audio USB-C-jack 3,5 mm z wbudowanym przetwornikiem DAC (https://t.ly/mBUbz)

Mimo to warto pamiętać, że każdy port USB-C musi obsłużyć przynajmniej tryb USB 2.0 oraz podstawowe zasilanie, nawet jeśli urządzenia uzgadniają wyższy tryb docelowy. Jest to wymóg zgodności – np. monitor podłączony do portu USB-C w trybie alt-mode DP i tak powinien udostępniać kontroler USB 2.0 (jest to tzw. funkcja USB2.0 Billboard Device Class), informujący komputer, że używa Alternate Mode. Dzięki temu użytkownik otrzyma komunikat, gdy np. podłączy urządzenie wymagające alt-mode do niekompatybilnego portu (przykład: port w laptopie bądź smartfonie obsługuje tylko USB, ale nie wspiera transmisji obrazu).

USB Power Delivery (USB-PD)

Jednym z najważniejszych rozszerzeń, jakie wprowadził do powszechnego użytku port USB-C, jest zaawansowany mechanizm negocjacji zasilania o nazwie USB Power Delivery. W starszych standardach USB możliwości zasilania były ograniczone – USB 2.0 dostarczało standardowo 5 V i 0,5 A (2,5 W), w USB 3.0 zwiększono prąd do 0,9 A (4,5 W), a w ramach specyfikacji Battery Charging 1.2 pozwolono na obsługę odbiorników o poborze prądu 1,5 A lub 1,8 A przy 5 V (9 W) poprzez odpowiednią obsługę linii D+/D−. To jednak wciąż było za mało dla wielu urządzeń, takich jak laptopy, monitory itp. USB Power Delivery, wprowadzony początkowo jako osobny standard, a dziś zintegrowany z USB-C, otworzył zupełnie nowe możliwości: pozwala bowiem negocjować wyższe napięcia, większe natężenia, a nawet kierunek przepływu energii – i to niezależnie od roli urządzenia z punktu widzenia danych. W praktyce oznacza to, że przez złącze USB-C na odpowiednim kablu można zasilać np. laptopa prądem 5 A przy napięciu 20 V, co daje moc 100 W – było to nie do pomyślenia w czasach zdominowanych przez „wątłe”: złącza Micro USB. Co więcej, port może być dwukierunkowy: np. tablet z USB-C, na co dzień ładowany zasilaczem, po odpowiedniej negocjacji może sam zasilić inne małe urządzenie (funkcja USB-PD Dual Role).

Protokół USB-PD korzysta – jak już wspomniano – z linii CC (rysunek 5) i w swojej podstawowej wersji (PD 2.0/3.0) definiuje zestaw tzw. profili mocy (Power Data Objects, PDO) z napięciami 5 V, 9 V, 15 V lub 20 V i prądami do 5 A (przy użyciu kabla z tzw. układem E-mark, o czym za chwilę). Przykładowo typowy zasilacz do ultrabooka może ogłaszać, że obsługuje profile: 5 V/3 A, 9 V/3 A, 15 V/3 A i 20 V/3 A. Podłączony laptop analizuje te opcje i jeśli potrzebuje np. 20 V do ładowania, wysyła wiadomość z żądaniem wyboru 20 V i określoną wydajnością prądową. Zasilacz potwierdza wybór i dopiero wtedy podnosi napięcie VBUS z 5 V do 20 V. Cały proces trwa ułamek sekundy i jest praktycznie niewyczuwalny dla użytkownika, poza ewentualnym „przeskokiem” mocy ładowania.

Rysunek 5. Przebiegi na liniach CC w czasie komunikacji za pośrednictwem protokołu USB PD (https://t.ly/2pWzT)

Warto dodać, że w 2017 roku protokół USB-PD otrzymał także wsparcie funkcji określanej mianem PPS (Programmable Power Supply) – czyli płynnej regulacji napięcia w pewnym zakresie (np. od 3,3 V do 11 V co 20 mV). Służy to głównie do efektywnego ładowania ogniw Li-Ion bez wielostopniowej konwersji. Tryb PPS jest stosowany przez niektórych producentów smartfonów do implementacji własnych, szybkich ładowarek w ramach standardu PD (np. Samsung Super Fast Charge).

Do pełnego wykorzystania potencjału USB-PD potrzebny jest odpowiedni kabel. Standardowe przewody USB-C (do ~2 m długości), bez elektronicznego oznacznika, są certyfikowane na maksymalnie 3 A ciągłego prądu. Aby móc przesyłać do 5 A, kabel musi zawierać chip identyfikacyjny (tzw. E-mark – fotografia 15), który podczas negocjacji PD jest odczytywany przez port źródłowy. Dopiero jeśli kabel „przedstawi się” jako 5-amperowy, zasilacz zgodzi się dostarczyć powyżej 3 A. Dzięki temu unikamy niebezpiecznych sytuacji, w których zbyt słaby kabel zostałby przeciążony dużym prądem (co groziłoby przegrzaniem lub stopieniem izolacji). Kable z elektroniczną identyfikacją są zatem przeważnie nieco grubsze (żyły o większym przekroju) i droższe od zwykłych odpowiedników.

Fotografia 15. Widok obu stron płytki drukowanej z wtykiem USB-C i układem E-Mark (https://t.ly/ThOnt)

Specyfikacja USB PD 3.1 (2021 r.) wprowadziła nową kategorię EPR (Extended Power Range), która rozszerza maksymalne napięcie do 48 V (nominalnie 50 V) przy 5 A, co daje 240 W mocy – patrz rysunek 6. Umożliwia to zasilanie przez USB-C urządzeń o naprawdę sporym apetycie na energię – np. dużych monitorów 4K, mocnych laptopów do gier, a potencjalnie nawet elektronarzędzi czy drobnego sprzętu AGD. W praktyce implementacja EPR wymaga spełnienia dodatkowych warunków bezpieczeństwa (m.in. obowiązkowe zabezpieczenia nadnapięciowe po obu stronach, specjalne markery EPR w kablu itd.). Profile EPR przewidują stopnie: 28 V, 36 V i 48 V (wszystkie z ograniczeniem do 5 A). Dla użytkownika końcowego wprowadzono nowe oznaczenia – np. certyfikowane kable 240 W są oznaczane emblematem „240W” zamiast „60W/100W”. Na chwilę obecną (2025 r.) EPR dopiero zaczyna pojawiać się na rynku i głównie dotyczy zasilaczy do laptopów o mocy 140...180 W oraz monitorów. Niemniej USB-C wyraźnie aspiruje do przejęcia funkcji klasycznych wtyków DC i to nawet w większych urządzeniach. Już teraz dostępne są np. listwy zasilające z portami USB-C 65 W czy podtynkowe gniazda sieciowe z USB-C PD. Dzięki regulacjom UE, ładowanie przez USB stanie się niebawem domyślnym standardem dla niemal wszystkich małych i średnich urządzeń zasilanych z sieci.

Rysunek 6. Porównanie zakresów zasilania SPR (standardowy) i EPR (rozszerzony) – https://t.ly/074kP

Podsumowanie

USB-C wydaje się mieć przed sobą długą karierę. Dzięki wspomnianej uniwersalności może on obsłużyć także przyszłe protokoły – już teraz trwają prace nad USB4 wersji 2.0 (przyspieszenie transferu do zawrotnej prędkości 120 Gb/s!) i zapewne jeszcze długo nie pojawi się potrzeba fizycznej zmiany samego złącza. Regulacje prawne, takie jak unijna inicjatywa dotycząca wspólnej ładowarki, tylko umacniają pozycję USB-C jako uniwersalnego łącza następnej dekady. Dla konstruktorów oznacza to pewność, że wybierając USB-C stawiają na standard wspierany globalnie przez większość branży elektronicznej. Jest to jednak interfejs wymagający od nas, praktykujących konstruktorów, sporej uważności – mnogość funkcji idzie w parze z koniecznością stosowania odpowiednich kontrolerów, certyfikowanych kabli, skrupulatnie dobranych złączy czy wreszcie – przestrzegania specyfikacji. Na szczęście organizacja USB-IF udostępnia obszerną dokumentację, a na rynku dostępne są liczne układy scalone integrujące obsługę USB-C/PD (począwszy od prostych przełączników CC, a kończąc na zaawansowanych kontrolerach PD 3.1). W ślad za fizycznymi układami wspierającymi projektowanie urządzeń z obsługą USB-PD idą także nowoczesne mikrokontrolery – jako przykład można podać rodzinę STM32, w ramach której już ponad 500 układów ma wbudowany specjalny blok peryferyjny o nazwie UCPD (USB Power Delivery controller).

Zaprezentowany w artykule opis – siłą rzeczy dość skrótowy – pokazuje jasno, że USB Type-C to dzisiaj coś więcej niż port. To cały ekosystem mający na celu ujednolicenie i uproszczenie sposobu, w jaki zasilamy i łączymy nasze urządzenia. Wraz z wejściem wspomnianych regulacji UE możemy spodziewać się, że w niedalekiej przyszłości widok innego gniazda ładowania niż USB-C w nowych urządzeniach stanie się rzadkością. Dla elektronika projektanta USB-C stanowi więc podstawowy element nowoczesnych projektów, z którym chcąc nie chcąc musi się zaprzyjaźnić i... dobrze zapoznać.

inż. Przemysław Musz, EP

Elektronika Praktyczna Plus lipiec - grudzień 2012

Elektronika Praktyczna Plus

Monograficzne wydania specjalne

Elektronik styczeń 2026

Elektronik

Magazyn elektroniki profesjonalnej

Raspberry Pi 2015

Raspberry Pi

Wykorzystaj wszystkie możliwości wyjątkowego minikomputera

Świat Radio styczeń - luty 2026

Świat Radio

Magazyn krótkofalowców i amatorów CB

Automatyka, Podzespoły, Aplikacje listopad - grudzień 2025

Automatyka, Podzespoły, Aplikacje

Technika i rynek systemów automatyki

Elektronika Praktyczna grudzień 2025

Elektronika Praktyczna

Międzynarodowy magazyn elektroników konstruktorów

Elektronika dla Wszystkich styczeń 2026

Elektronika dla Wszystkich

Interesująca elektronika dla pasjonatów