Modułowy odbiornik nasłuchowy na pasma 40 i 80 m "Dosia" (1)

Modułowy odbiornik nasłuchowy na pasma 40 i 80 m "Dosia" (1)
Pobierz PDF Download icon
Jesień i zima są okresem zwiększonej aktywności konstruktorów-radioamatorów. Opisany w artykule modułowy odbiornik nasłuchowy, odpowiadający na te właśnie zapotrzebowania, jest konstrukcją rozwojową, tworzącą niepowtarzalną okazję zarówno do tego, by poznać różne techniki przetwarzania sygnałów (nie tylko radiowych), jak i skonstruować własne urządzenie odbiorcze. Projekt został pomyślany tak, by jego poszczególne moduły mogły zostać wykorzystane także w innych, całkowicie niezależnych konstrukcjach odbiorczych. Jest to konstrukcja całkowicie otwarta i rozwojowa. W pierwszej części artykułu opisano schemat blokowy urządzenia, jego płytę bazową, która jest wygodną podstawą dla całej konstrukcji, oraz dwa pierwsze moduły: zasilacza i wzmacniacza akustycznego. Rekomendacje: odbiornik przyda się w pracowni każdego radioamatora.

Odbiornik nasłuchowy powinien stanowić podstawowe wyposażenie pracowni każdego radioamatora-krótkofalowca. Może bowiem być nie tylko przydatnym urządzeniem odbiorczym (np. na warunki terenowe), ale pozwolić także np. łatwo skontrolować poprawność odbioru innego (własnego) urządzenia nadawczego. Opisany odbiornik jest w swojej podstawowej koncepcji nieskomplikowaną homodyną (urządzeniem z bezpośrednią przemianą odbieranego sygnału), której niektóre moduły można będzie pominąć lub wymienić na konstrukcje bardziej zaawansowane (o lepszych parametrach). Czułość odbiornika jest zbliżona do 1 uV i w zupełności wystarcza do prowadzenia nasłuchów terenowych także na krótkich antenach heliakalnych (samochodowych lub balkonowych). Urządzenie może być zasilane z akumulatora 12 V lub z zasilacza wtyczkowego o tym samym napięciu znamionowym i wydajności prądowej 1 A. Odbiornik w podstawowej wersji pokrywa pasma radioamatorskie 80 m i 40 m, a także zawiera przełączany filtr audio do odbioru emisji CW i SSB. Wszystkie moduły urządzenia mają zestandaryzowane wymiary około 50 mm×50 mm lub ich wielokrotność.

Opis budowy odbiornika

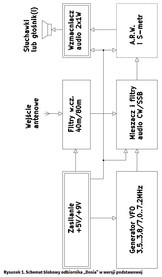
Na rysunku 1 pokazano schemat blokowy odbiornika „Dosia”, a na fotografii 2 jego płytę bazową (AVT-3192), która stanowi także ekran i przenosi masę elektryczną. Płyta bazowa jest dostosowana do zamocowania w obudowie produkcji firmy „KRADEX” typu Z-1, a otwory są dostosowane do śrub M2,5. Na schemacie widać podstawowe bloki: zasilacz stabilizowany +9 V/+5 V (AVT-3193), dwupasmowy filtr wejściowy w.cz., mieszacz odbiorczy (z amplifiltrami CW/SSB), blok automatycznej regulacji wzmocnienia ARW i miernika siły odbieranego sygnału (tzw. S-meter), wzmacniacza audio (AVT-3194) oraz generatora częstotliwości odbieranej (nośnej) VFO (Variable Frequency Oscillator).

Zasilacz dostarcza napięć stabilizowanych +9 V i +5 V dla wszystkich pozostałych bloków odbiornika. Filtr wejściowy w.cz. zapewnia ograniczanie przenikania zakłóceń radiowych spoza obsługiwanych pasm: 80 m (od 3,5 MHz do 3,8 MHz) oraz 40 m (od 7,0 MHz do 7,2 MHz). Mieszacz odbiorczy przesuwa odbierany sygnał w.cz. w pasmo akustyczne, tak by możliwy był nasłuch). W tym module zawarto także filtry akustyczne Sallena-Keya, które ograniczają pasmo odbieranego sygnału audio do zakresu emisji SSB lub CW. Blok wzmacniacza ARW i S-metra zapewniają: automatyczne dopasowanie poziomu sygnału odbieranego do panujących warunków propagacyjnych (ułatwia odbiór bez ciągłej regulacji poziomu głośności) oraz pomiar jego poziomu. Przerywana linia na rys. 1 sygnalizuje to, że w prostszej wersji urządzenia można go po prostu pominąć. Ostatnim z podstawowych bloków urządzenia jest generator VFO, pracujący na pasmach 40 m oraz 80 m (7,0…7,2 MHz i 3,5…3,8 MHz). Jest to generator w pełni analogowy, jednak z racji sterowania mieszacza sygnałem cyfrowym, także to VFO dostarcza takiego właśnie sygnału.

W dalszej części artykułu omówiono szczegółowo budowę dwóch modułów odbiornika nasłuchowego: zasilacza i wzmacniacza akustycznego. Pozostałe będą omówione w kolejnych częściach.

Moduły składowe

Na fotografii 3 pokazano uruchomioną wersję roboczą odbiornika w okrojonej wersji (jako VFO testowo wykorzystano płytę ewaluacyjną AVT-5574 z mikroprocesorem ARM, kodekiem audio i potrójną, szerokopasmową syntezą VCO/PLL, która została opisana w EP 2/2017). Na polach płyty bazowej „A”, „E” i „C” zamontowano kolejno: dwunapięciowy zasilacz stabilizowany, mieszacz z amplifiltrami oraz wzmacniacz audio.

Na fotografii 4 przybliżono szczegóły montażu modułu zasilacza, a na rysunkach 5 i 6 pokazano jego schemat elektryczny oraz schemat montażowy. W zasilaczu zastosowane kaskadowe połączenie stabilizatorów liniowych LM7809 oraz LM7805 w obudowach TO220. Zasilanie +12 V wprowadzono na złącze P1 (ARK2), natomiast złącze P2 umożliwia pobranie z modułu zasilacza tego napięcia do przyszłych zastosowań. Dioda D1 (Schottky) zabezpiecza przed odwrotnym dołączeniem zasilania (wbrew pozorom, w pośpiechu łatwo jest o takie błędy), kondensatory C1...C6 zapewniają filtrację zasilania i zabezpieczają przed przenoszeniem się zakłóceń między zasilanymi modułami. Dioda LED (D2) z rezystorem R1 sygnalizuje włączenie zasilania. Masa zasilania oraz napięcia wyjściowe są wyprowadzone na złącza „goldpin” (P3…P6), z których można je pobrać standaryzowanymi, wsuwanymi kablami połączeniowymi lub docelowo zalutować na stałe krótszymi kablami (rozwiązanie rekomendowane).

Na fotografii 7 pokazano montaż modułu wzmacniacza akustycznego, a na rysunkach 8 i 9 jego schemat elektryczny i montażowy. Wzmacniacz oparto o popularny, niedrogi układ scalony wzmacniacza stereofonicznego TDA2822M (U1), który przy zasilaniu +9 V jest w stanie oddać około 300 mW na kanał przy obciążeniu 32 Ohm lub nawet 1 W przy 8 Ohm (częstotliwość f=1 kHz, zniekształcenia THD=10%).

Aplikację wzmacniacza wykonano zgodnie z notą aplikacyjną producenta z tą jednak różnicą, że zwarto oba wejścia stereofoniczne, aby na obu wyjściach uzyskać takie same sygnały o jak najbardziej zbliżonych poziomach.

Zasilanie modułu +9 V wprowadzono na port P1 (złącze „goldpin” – podobnie, jak P2, P4 i P5). Sygnał wejściowy należy wprowadzić na port P2, gdzie dalej przez kondensator C3, potencjometr montażowy RV1, potencjometr regulacyjny RV2 oraz kondensatory C4 i C8 trafia on na oba wejścia stereo układu. Potencjometr RV2 służy do regulacji głośności w normalnej eksploatacji, natomiast RV1 (montażowy) pozwala dopasować maksymalny poziom sygnału do własnych upodobań. Kondensatory C1 i C2 filtrują zaburzenia zasilania, a rezystory R1…R4 oraz kondensatory C5….C7 i C9…C11 są elementami standardowej aplikacji producenta.

Sygnał wyjściowy audio wyprowadzono na gniazdo P3 „mini-jack” stereo (3,5 mm), zawierające przełącznik sygnałów. Po odłączeniu słuchawek stereo sygnał audio będzie dostępny na P4 i P5, skąd można go podać na jeden lub dwa głośniki celem zwiększenia głośności.

Montaż i uruchomienie

Montaż obu modułów powinien zasadniczo przebiegać podobnie, to znaczy zaczynając od elementów najniższych i stopniowo montując coraz wyższe komponenty. Warto zwrócić uwagę jedynie na montaż stabilizatorów U1 i U2 w module zasilacza, które można zalutować dopiero po starannym wygięciu nóżek i posmarowaniu od spodu pastą termoprzewodzącą. Górna powierzchnia płytki drukowanej zasilacza, pokryta od góry szeroką powierzchnią masy i stanowi także wraz z całą płytką drukowana radiator dla stabilizatorów. Natomiast nie należy stosować pod U1 i U2 podkładek izolacyjnych, ponieważ stopki tych układów również pracują na potencjale masy.

Na rysunku 10 pokazano zwymiarowaną płytę bazową, a na fotografii 11 oba moduły zamontowane na płycie bazowej w obudowie „KRADEX” Z-1. Moduły przykręcono do płyty bazowej śrubami M2,5 o długości około 20 mm za pośrednictwem izolacyjnych tulei dystansowych o długości 10 mm. Do prawidłowego zamocowania modułów wystarczy przykręcenie ich w dwóch przeciwległych narożnikach, natomiast izolowanie od płyty podstawy nie jest wskazane z uwagi na pracę na potencjale masy zarówno narożników modułów, jak i samej płyty bazowej. Płytę bazową montujemy do obudowy wkrętami w co najmniej dwóch przeznaczonych do tego celu punktach.

Uruchomienie obu modułów sprowadza się do sprawdzenia obecności napięć zasilających +9 V i +5 V, doprowadzenia zasilania +9 V do modułu wzmacniacza audio oraz sprawdzenia za pomocą słuchawek lub głośnika czy wzmacniacz działa (po dotknięciu palcem do potencjometru RV2 powinien być słyszany lekki przydźwięk sieciowy). Regulację potencjometru RV1 będzie należało wykonać dopiero po montażu i uruchomieniu kolejnych modułów odbiornika.

Podsumowanie projektu

W artykule opisano założenia działania oraz dwa pierwsze moduły projektu taniego i łatwego w realizacji odbiornika nasłuchowego na dwa pasma amatorskie, dedykowanego zarówno osobom, które chcą po prostu wejść w posiadanie takiego urządzenia, jak i tym, które chcą poszerzyć swoją wiedzę w zakresie konstrukcji radiowych lub zmodernizować posiadany już sprzęt. Powinna ułatwić to modułowość projektu. Został on pomyślany tak, że stopień złożoności prezentowanych modułów będzie wzrastał z każdym odcinkiem publikacji (tu przedstawiono najprostsze zdaniem autora moduły), co powinno zachęcić mniej doświadczonych konstruktorów do bezbolesnego rozpoczęcia tej przygody. Postępy prac będą też na bieżąco (w skrócie) relacjonowane na stronie WWW autora http://sq5rwq.pl/?p=596. Po przedstawieniu całego projektu w obecnej wersji planowana jest też kontynuacja tego cyklu w kierunku odbiornika o lepszych parametrach i większej ilości pasm, a docelowo także pełnego transceivera HF o dobrych parametrach użytkowych.

Adam Sobczyk SQ5RWQ
sq5rwq@gmail.com
http://sq5rwq.pl/

 

Artykuł ukazał się w
Elektronika Praktyczna
wrzesień 2017
DO POBRANIA
Pobierz PDF Download icon
Elektronika Praktyczna Plus lipiec - grudzień 2012

Elektronika Praktyczna Plus

Monograficzne wydania specjalne

Elektronik listopad 2025

Elektronik

Magazyn elektroniki profesjonalnej

Raspberry Pi 2015

Raspberry Pi

Wykorzystaj wszystkie możliwości wyjątkowego minikomputera

Świat Radio listopad - grudzień 2025

Świat Radio

Magazyn krótkofalowców i amatorów CB

Automatyka, Podzespoły, Aplikacje listopad - grudzień 2025

Automatyka, Podzespoły, Aplikacje

Technika i rynek systemów automatyki

Elektronika Praktyczna listopad 2025

Elektronika Praktyczna

Międzynarodowy magazyn elektroników konstruktorów

Elektronika dla Wszystkich grudzień 2025

Elektronika dla Wszystkich

Interesująca elektronika dla pasjonatów