Internet Rzeczy w pomiarach środowiskowych (17). Zastosowanie czujnika MQ-7 do pomiaru tlenku węgla (CO)

Internet Rzeczy w pomiarach środowiskowych (17). Zastosowanie czujnika MQ-7 do pomiaru tlenku węgla (CO)

Z roku na rok pomiary stężenia różnych gazów nabierają coraz większego znaczenia w szerokim zakresie aplikacji. Niedrogie, rezystancyjne czujniki substancji chemicznych zapewniają niemal gotowe rozwiązanie sensoryczne, ale wymagają starannego projektowania obwodów współpracujących. W artykule został zaprezentowany sposób realizacji wiarygodnych pomiarów poziomu CO z zastosowaniem popularnego czujnika MQ-7.

Czujniki rezystancyjne stanowią niedrogie rozwiązanie do pomiaru stężeń szerokiej gamy gazów w zastosowaniach takich jak sterowanie przemysłowe, systemy HVAC, ochrona zdrowia czy też bezpieczeństwo. Ponieważ ich konstrukcja opiera się na elemencie grzewczym, w praktycznych aplikacjach występują trudności z zapewnieniem dokładnego pomiaru rezystancji czujnika – trzeba bowiem odpowiednio kontrolować pracę elementu grzewczego w celu utrzymania właściwej temperatury.

Spośród dostępnych czujników gazu, sensory metalowo-tlenkowe zapewniają ekonomiczne rozwiązanie, które jest w stanie dostarczyć wiarygodnych wyników nawet w trudnych warunkach pracy. W tych czujnikach zmiana stężenia cząsteczek gazu w powietrzu powoduje zmianę rezystancji czujnika (RS). Zmiana ta może osiągnąć nawet kilka rzędów wielkości (w zakresie roboczym czujnika). Zależność między rezystancją (RS) a stężeniem gazu jest wyrażona charakterystyką określoną przez producenta w dokumentacji technicznej [1]. W praktyce czujniki będą wykazywać szybkie zmiany rezystancji przy niskich stężeniach, ale znacznie wolniejsze zmiany przy stężeniach wysokich.

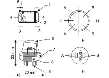
Rysunek 1. Czujnik MQ-7 [3]

Oprócz elementu pomiarowego, czujniki zawierają także element rezystancyjny, który podgrzewa strukturę do temperatury optymalnej do wykonywania pomiarów. Wyzwaniem dla konstruktora jest zatem zapewnienie dokładnego pomiaru rezystancji czujnika przy jednoczesnym utrzymaniu odpowiedniej temperatury elementu grzejnego.

Czujnik rezystancyjny wymaga dostarczenia odpowiedniego, stabilnego zasilania struktury pomiarowej. Można mierzyć rezystancję czujnika (Rs) za pomocą różnych metod, w tym poprzez:

  • umieszczenie czujnika w prostym dzielniku napięcia,
  • zasilanie sensora za pomocą stałego źródła napięcia,
  • zasilanie sensora za pomocą stałego źródła prądu.

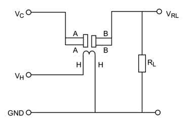
Przydatność każdego z wymienionych podejść zależy od wymagań aplikacji i docelowego stosunku złożoności układu pomiarowego do jakości metrologicznej. Zdecydowanie najprostsza konfiguracja to dzielnik napięcia, w którym struktura czujnika jest włączona w szereg ze stałym rezystorem RL (rysunek 2).

Rysunek 2. Standardowy układ pracy czujnika MQ-7 [4]

Niezależnie od podejścia zastosowanego podczas projektowania układu element pomiarowy musi zostać podgrzany do określonej temperatury, aby uzyskać optymalne rezultaty. Podobnie jak czujnik, grzałka jest elementem rezystancyjnym, który wymaga stabilnego źródła napięcia lub prądu, aby utrzymać wymaganą temperaturę. Należy upewnić się, że obwód sterownika grzałki zapobiega wahaniom, które mogą zmienić czułość czujnika. W przypadku stałego źródła napięcia można użyć konwencjonalnego, liniowego regulatora napięcia (LDO), który jest w stanie sprostać wymaganiom napięcia i mocy danego czujnika.

Czujnik MQ-7

Czujnik MQ-7 to zintegrowany układ analogowy, który wykrywa stężenie CO (tlenku węgla) w powietrzu [2]. Sam czujnik, jak i moduły zbudowane z jego zastosowaniem są oferowane przez wielu dostawców. Sensor ma obudowę z metalową siatką, na którą może być nałożona plastikowa osłona w różnych kolorach. Jednak odnośniki do pliku danych czujnika prowadzą do jednego producenta – firmy Henan Hanwei Electronics. Niestety, w sieci dostępne są dwa pliki firmowe danych czujnika, z różnymi parametrami i opisami [3, 4].

Pierwszy dokument [3] zawiera szerszy opis i on jest podstawą opracowanego rozwiązania. Dla porównania w nawiasach klamrowych {} zostały podane wartości pochodzące z drugiego dokumentu [4]. Także na stronach dystrybutorów podawane są często różniące się wartości poszczególnych parametrów.

Parametry czujnika MQ-7 [3]:

  • Zakres pomiaru CO: {10 ppm...2000 ppm}
  • Vc (zasilanie czujnika): 5 V ±0,1 V
  • Rs (rezystancja czujnika): 2...20 kΩ (@ 100 ppm CO)
  • Rl (rezystancja obciążenia): 10 kΩ ± 5% (typ) (5...47 kΩ)
  • Parametry grzałki [3]:
    • Rh (rezystancja wewnętrzna): 33 Ω ± 5% {31 Ω ± 3 Ω}
    • Vh (wysokie napięcie grzania): 5 V ±0,1 V {±0,2 V}
    • Vh (niskie napięcie grzania): 1,4 V ±0,1 V {1,5 V ±0,1 V}
    • Ph (moc grzania): {≤350 mW}
    • Th (czas fazy wysokiego napięcia): 60 s ±1 s
    • Tl (czas fazy niskiego napięcia): 90 s ±1 s
    • Wstępne wygrzewanie: > 48 h
    • I = ≤150 mA (@ 5 V)
  • Czułość S: ≥5 dla Rs(powietrze)/Rs(100 ppm CO)
  • Nachylenie charakterystyki α: ≤0,5 (R300 ppm/R100 ppm CO) {≤0,5}
  • Temperatura pracy: od –20 do 50°C
  • RH: ≤95%
  • Typowe warunki pracy: RL=10 Ω, RH=65%, T=20°C, O2: 21%, CO: 100 ppm

Rezystancja czujnika może dryfować odwracalnie po długotrwałym przechowywaniu bez zasilania. Należy zatem wstępnie podgrzać czujnik, aby osiągnąć wewnętrzną równowagę chemiczną. Napięcie wstępnego podgrzewania jest takie samo, jak wysokie napięcie grzania (5 V). Sugerowane jest wstępne podgrzewanie po braku aktywności dłuższym niż 48 godzin.

Struktura i konfiguracja czujnika gazu MQ-7 zostały pokazane na rysunku 1. Czujnik jest złożony z mikrorurki ceramicznej AL2O3 (5), warstwy wrażliwej chemicznie na bazie SnO2 (1), grzejnika (4), elektrod pomiarowych (3) i siatki ze stali nierdzewnej (6). W obudowie MQ-7 cztery piny służą do odbioru sygnałów pomiarowych, a pozostałe 2 służą do dostarczania prądu grzejnego.

Standardowy układ pracy czujnika MQ-7 składa się z dwóch obwodów (rysunek 2). Do czujnika należy podłączyć dwa napięcia: zasilanie grzejnika (VH) i zasilanie struktury pomiarowej (VC).

Zasilanie grzejnika (styki H) jest dostarczane w cyklu pomiarowym 2,5 min, składającym się z dwóch faz [3]:

  • faza grzania (czyszczenia): 5 V przez 60 sekund. W wysokiej temperaturze pochłonięty CO i inne związki odparowują z płytki czujnika,
  • faza pomiaru: 1,4 V przez 90 sekund. Podczas fazy niskiej temperatury CO jest absorbowany na płytce, co generuje „nowe” dane pomiarowe.

Zasilanie części pomiarowej należy doprowadzić do styków A, zaś do wyprowadzeń oznaczonych literami B jest dołączony rezystor obciążenia RL, z którego zbierany jest napięciowy sygnał wyjściowy.

Praca czujnika MQ-7 została pokazana na rysunku 3. Przy niskim stężeniu CO sygnał pomiarowy w fazie grzania szybko rośnie i powoli spada. W fazie pomiaru sygnał szybko opada i utrzymuje się na tym pułapie, z lekką tendencją wzrostową.

Rysunek 3. Typowy sposób pracy z czujnikiem MQ-7 [3]

Pomiar rezystancji czujnika (Rs) uzyskuje się poprzez pomiar sygnału napięciowego na rezystancji obciążenia RL, która jest połączona szeregowo z Rs. Relacje między nimi wynoszą [6]:

Rs\RL=(Vc-VRL)/VRL

Typowa czułość czujnika MQ-7 na różne gazy w standardowych warunkach pracy jest pokazana na rysunku 4. Wartość R0 to rezystancja czujnika przy stężeniu CO równym 100 ppm, Rs to aktualna rezystancja czujnika podczas pomiaru.

Rysunek 4. Typowa czułość czujnika MQ-7 na różne gazy [3]

Sensor MQ-7 dostarcza tylko ilościowych danych dotyczących stężenia gazów w otoczeniu. Aby uzyskać dane jakościowe, należy cały układ skalibrować – a to wydaje się zagadnieniem dosyć karkołomnym, choćby ze względu na wątpliwą powtarzalność i stabilność pomiarów.

Moduły z czujnikiem MQ-7

Na rynku oferowanych jest wiele płytek z czujnikiem MQ-7. Na najprostszym module znajduje się tylko czujnik i rezystor obciążenia (DFRobot SEN132). Najwięcej spośród oferowanych produktów zapewnia zgodność z płytką modMQ-7 [6]. Typowo różnią się one tylko nadrukami, czasami zastosowane są trochę inne wersje elementów pasywnych. Zazwyczaj nie jest także dostępny schemat ideowy modułów – wyjątkiem jest płytka MQ-7 Gas Sensor (SKU: 9532) firmy Waveshare [5]. Układ jest w zasadzie taki sam jak w przypadku płytki modMQ-7, ale ma dodatkowo zamontowaną przetwornicę DC/DC. Przy napięciu wejściowym 2,5...5 V daje ona stałe napięcie 5 V do zasilania czujnika. Niestety przetwornica powoduje w sygnale wyjściowym zakłócenia szpilkowe o amplitudzie dochodzącej nawet do 50% poziomu sygnału pomiarowego. Ten mankament sprawia, że moduł okazuje się praktycznie nieprzydatny do jakichkolwiek rzetelnych pomiarów.

W module firmy Paralllax (obecnie niedostępnym w sprzedaży) został zastosowany tranzystor PNP do kluczowania zasilania grzałki, ale... tylko z jednym poziomem mocy. Przeprowadzone próby z trzema egzemplarzami czujników wykazały, że każdy dawał inne wartości sygnału, a w dodatku – inne po całym tygodniu pracy.

W jednym z ciekawszych projektów zastosowano do kluczowania zasilania całego modułu tranzystor NPN [7]. Układ pracuje w dwóch fazach. W fazie nagrzewania tranzystor pozostaje włączony na stałe (5 V). W fazie pomiaru jest sterowany sygnałem PWM 62,5 kHz, a uśrednione napięcie zasilania odpowiada danym katalogowym – teoretycznie producent dopuszcza bowiem zasilanie AC czujnika MQ-7.

Odczyty danych analogowych są uśredniane (ok. 1000×). O ile wyniki pomiarów są przez autora projektu uznawane za wiarygodne, o tyle wykonane próby własne z PWM od 20 kHz do 100 kHz pokazały, że tak nie jest.

Moduł modMQ-7 z czujnikiem tlenku węgla

Moduł modMQ-7 [6] jest wyposażony w wyjście analogowe oraz dodatkowe wyjście cyfrowe, wyzwalane przekroczeniem ustalonego progu. Moduł przy zasilaniu 5 V pobiera do 150 mA prądu.

Rysunek 5. Moduł modMQ-7 [6]

Elementy płytki modułu modMQ-7 pokazano na rysunku 5. Nie jest dostępny schemat modułu modMQ-7 [6], lecz jest on zbliżony do modułu MQ-7 Gas Sensor firmy Waveshare pokazanego na rysunku 6 [5]. Rezystor MQ_R2 ma wartość 1 kΩ (z równolegle dołączonym kondensatorem). Linia VCC jest połączona z szyną +5 V. Na wejściu VCC=+5 V znajduje się kondensator, wpięty pomiędzy VCC i GND.

Rysunek 6. Schemat modułu MQ-7 Gas Sensor firmy Waveshare (fragment) [5]

Zasilanie elementu pomiarowego i grzejnika MQ-7 jest dołączone do tego samego napięcia VCC. Prąd grzałki ogranicza rezystor MQ_R1. Nie ma możliwości zmiany napięcia zasilania grzałki. Napięcie z rezystora obciążenia MQ_R2 jest podawane bezpośrednio na wyjście AOUT oraz na wejście komparatora LM393. Poziom zadziałania komparatora można ustawić potencjometrem MQ_R4.

Modyfikacja modułu modMQ-7

Czujnik MQ-7 wymaga zastosowania dwóch różnych napięć: do zasilnia grzejnika i obwodu pomiarowego [3]. Dlatego trzeba zmodyfikować moduł modMQ-7. Próby z kluczowaniem zasilania [7] zainspirowały autora do zastosowania prostego i skutecznego rozwiązania tego problemu.

Najpierw należy usunąć z płytki niepotrzebne elementy: MQ_L2, MQ_R1, MQ_R4, MQ_R3, MQ_L1, MQ_C1. Rezystor MQ_R2 należy zamienić na 10 kΩ. Pomiędzy DOUT (MQ_P1.4) a masę trzeba dodać rezystor 1 MΩ. Sposób dalszej modyfikacji pokazano na rysunku 7.

Rysunek 7. Modyfikacja modułu modMQ-7

Rezystor Rg1 (5,1 Ω) należy dołączyć do wyprowadzenia 5 czujnika MQ1 oraz do tranzystora N-MOSFET (IRLML0060 [8]) i rezystora Rg2 o wartości 84 Ω. Tranzystor jest sterowany z wyprowadzenia DOUT – złącze MQ_P1.4 (wejście zamiast wyjścia).

Widok płytki modułu modMQ-7 po modyfikacji został pokazany na fotografii 1. Elementy zostały położone bezpośrednio na płytkę drukowaną i dolutowane do wolnych pól lutowniczych. Dodatkowe połączenia wykonano przy użyciu przewodów. Rezystor Rg2 został złożony z dwóch oporników w rozmiarze 0603 połączonych szeregowo.

Fotografia 1. Płytka modułu modMQ-7 po modyfikacji (opis w tekście)

Moduł modMQ-7 po modyfikacji pobiera z szyny 5 V:

  • w fazie grzania (H) ok. 129 mA – tranzystor włączony,
  • w fazie pomiaru (L) ok. 43 mA prądu – tranzystor wyłączony.

Napięcie na grzejniku wynosi:

  • w fazie H: 4,34 V (561 mW),
  • w fazie L: 1,42 V (62 mW).

Próby zostały przeprowadzone z zastosowaniem modułu Pico 2 oraz modułu z 16-bitowym przetwornikiem ADC typu ADS1115.

Po umieszczeniu czujnika w czystym powietrzu i wygrzewaniu – praca ciągła (dwufazowa) przez czas ok. 8 godzin – czujnik bardzo stabilnie powtarzał pomiary. Aby wcześniej zakończyć wygrzewanie, można monitować poziom sygnału wyjściowego pod koniec cyklu pomiarowego. Jeśli jest on stabilny, to można zakończyć wygrzewanie.

W trakcie stabilnych pomiarów w czystym powietrzu, w fazie grzania (60 s), sygnał pomiarowy szybko rośnie do ok. 2,68 V, po czym opada powoli do ok. 2,42 V. W fazie pomiaru (90 s) sygnał pomiarowy szybko maleje do ok. 780 mV i utrzymuje się na tym poziomie z tendencją do niewielkiego wzrostu.

Podsumowanie

Czujnik MQ-7 – poza zaletami w postaci bardzo niskiej ceny oraz dużej dostępności – wykazuje też pewne wady. Wymaga zasilania 5 V, co w dobie powszechności układów 3,3 V stwarza problemy. Powtarzalność pomiaru (pomiędzy różnymi egzemplarzami czujnika) i jego stabilność są dosyć wątpliwe. Układ wymaga dużej mocy zasilania i praktycznie pracy ciągłej. Jednak po łatwej modyfikacji dostępnych modułów można go z powodzeniem zastosować do wykrywania obecności groźnego tlenku węgla (w zastosowaniach niewymagających wysokiej niezawodności, oczekiwanej np. od komercyjnych, atestowanych czujek CO – przyp. red.). Seria czujników MQ pozwala na wykrywanie także wielu innych gazów, przy czym nie wymagają one przełączania napięcia zasilania grzałki.

Innym rozwiązaniem do wykrywania CO jest zastosowanie modułu z czujnikiem GM-702B o prądzie roboczym 20 mA (3,3 V) i żywotności 5 lat (praca w powietrzu). W tym przypadku występuje jednak ten sam problem, dotyczący innego napięcia pracy grzejnika w fazie czyszczenia (2,5 V) oraz pomiaru (0,5 V), czego nie umożliwia standardowy moduł fabryczny.

Henryk A. Kowalski
Instytut Informatyki
Politechnika Warszawska

Literatura:
[1] Designing Accurate Gas Monitoring Systems with Chemiresistive Devices, DigiKey, 2018-03-14, https://www.digikey.pl/en/articles/designing-accurate-gas-monitoring-systems-with-chemiresistive-devices?dclid=CMXClcP0iYoDFUed_Qcd9fkvGw
[2] MQ-7 – czujnik stężenia tlenku węgla (CO), https://kamami.pl/gazu/211324-mq-7-czujnik-stezenia-tlenku-wegla-co.html
[3] Technical data MQ-7 gas sensor, Hanwei Electronics, https://files.waveshare.com/upload/2/2c/MQ-7.pdf
[4] MQ-7 Semiconductor Sensor for Carbon Monoxide, Henan Hanwei Electronics, https://dl.btc.pl/kamami_wa/mq_7_ds.pdf
[5] MQ-7 Gas Sensor SKU: 9532 Waveshare, https://www.waveshare.com/mq-7-gas-sensor.htm
[6] modMQ-7 – moduł z czujnikiem stężenia czadu (tlenku węgla), https://kamami.pl/czujniki-gazow/211362-modmq-7-modul-z-czujnikiem-stezenia-czadu-tlenku-wegla.html
[7] Arduino CO Monitor Using MQ-7 Sensor, https://www.instructables.com/Arduino-CO-Monitor-Using-MQ-7-Sensor/
[8] IRLML0060, Infineon, https://www.infineon.com/cms/en/product/power/mosfet/n-channel/irlml0060/

Artykuł ukazał się w
Elektronika Praktyczna
maj 2025
Elektronika Praktyczna Plus lipiec - grudzień 2012

Elektronika Praktyczna Plus

Monograficzne wydania specjalne

Elektronik listopad 2025

Elektronik

Magazyn elektroniki profesjonalnej

Raspberry Pi 2015

Raspberry Pi

Wykorzystaj wszystkie możliwości wyjątkowego minikomputera

Świat Radio listopad - grudzień 2025

Świat Radio

Magazyn krótkofalowców i amatorów CB

Automatyka, Podzespoły, Aplikacje listopad - grudzień 2025

Automatyka, Podzespoły, Aplikacje

Technika i rynek systemów automatyki

Elektronika Praktyczna listopad 2025

Elektronika Praktyczna

Międzynarodowy magazyn elektroników konstruktorów

Elektronika dla Wszystkich grudzień 2025

Elektronika dla Wszystkich

Interesująca elektronika dla pasjonatów