Moduł wyjść dużej mocy z kontrolą poprzez I2C

Moduł wyjść dużej mocy z kontrolą poprzez I2C
Pobierz PDF Download icon

Minimoduł czterech wyjść ze stopniem mocy i monitorowaniem stanu obciążenia znajdzie zastosowanie w bardziej wymagających aplikacjach, gdzie oprócz możliwości sterowania wyjściem, konieczne jest też zabezpieczenie obciążenia oraz monitorowanie jego stanu np. cewki elektromagnesu, zaworu lub ciągłości grzałki. Będzie dobrym rozszerzeniem możliwości płytek typu Arduino, Raspberry Pi, itp.

Podstawowe parametry:
  • zakres napięcia na wyjściach: 5…30 V,
  • maksymalne obciążenie każdego z wyjść: 5,4 A
  • wbudowane zabezpieczenia przed przekroczeniem temperatury, zwarciem, zbyt wysokim napięciem zasilania,
  • układ łagodzący udar prądowy w momencie załączenia,
  • zasilanie części sterującej: 2,7…5 V,
  • sterowanie i kontrola poprzez interfejs I2C.

Budowa i działanie

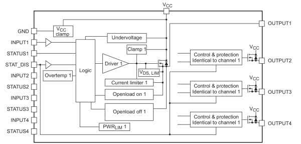
Moduł zbudowany jest w oparciu o dobrze znany ekspander ośmiu wejść/wyjść cyfrowych MCP23008S oraz układ czterokanałowego drivera High-Side typu VNQ5160K-E. Schemat wewnętrzny układu VNQ5160K-E pokazano rysunku 1.

Rysunek 1. Schemat wewnętrzny VNQ5160K-E (za notą ST)

Schemat ideowy modułu został pokazany na rysunku 2. Sygnały magistrali I2C wraz z zasilaniem części cyfrowej doprowadzone są do złącz I2Cx umożliwiających podłączenie zgodne ze standardami spotykanymi w najpopularniejszych zestawach uruchomieniowych.

Rysunek 2. Schemat modułu

Układ ekspandera U1 ma możliwość ustawienia adresu bazowego I2C przy pomocy zwór A0, A1, A2, co pozwala na podłączenie do jednej magistrali maksymalnie ośmiu modułów. Wyprowadzenia wyjściowe (GP1, GP3, GP5, GP7) podłączone są bezpośrednio do wejść IN1...IN4 układu VNQ5160K-E. Wyprowadzenia które pracują jako wejścia (GP0,GP2, GP4, GP6) posiadają dodatkowe rezystory ograniczające prąd, zabezpieczające je w przypadku błędnej konfiguracji MCP23008.

Sygnały wyjściowe z driverów U2 doprowadzone są do złącza OUT. Bufory typu High-Side, dostosowane są do pracy z obciążeniem podłączonym do masy układu, w stanie aktywnym podając napięcie zasilania na zaciski wyjściowe. Część wysokoprądowa modułu wymaga osobnego zasilania, doprowadzonego poprzez złącze OUT. Układ U2 pracuje poprawnie w zakresie napięć 4,5...36 V, umożliwiając sterowanie obciążeń do 5 A (5,4 A to limit ogranicznika prądowego) na kanał. Przy obciążeniu wszystkich wyjść należy zmniejszyć prąd ze względu na temperaturę U2, lub zastosować odpowiednie chłodzenie. VNQ5160K-E steruje obciążeniami rezystancyjnymi i indukcyjnymi posiadając wbudowane zabezpieczenia przed przekroczeniem temperatury, zwarciem, zbyt wysokim napięciem zasilania oraz dodatkowo układ łagodzący udar prądowy w momencie załączenia.

Każde z wyjść posiada wyjście statusu określające stan obciążenia min. rozwarcie wysterowanego wyjścia lub zwarcie do plusa w stanie wyłączonym. Umożliwia to określenie podstawowych usterek takich jak np. przerwa w cewce zaworu lub elektromagnesu, przepalenie się włókna żarówki, usterka okablowania, odłączenie elementu wykonawczego od układu itp. Wyjścia statusu U2 są typu otwarty dren i wymagają załączenia rezystora podwieszającego na wyprowadzeniach U1.

Moduł może być zasilany napięciami z zakresu 2,7...5 V dla logiki i 5...30 V dla części mocy. Dioda LD sygnalizuje obecność zasilania. Kondensator odsprzęgający CE1, zapewnia minimalną wymagana filtrację, przy obciążeniach pobierających duże prądy impulsowo należy zadbać o dodatkową filtrację.

Montaż i uruchomienie

Moduł zmontowany został na dwustronnej płytce drukowanej. Rozmieszczenie elementów pokazano na rysunku 3. Sposób montażu jest klasyczny i nie wymaga opisu, należy zwrócić tylko uwagę na prawidłowe przylutowanie pada termicznego U2.

Rysunek 3. Schemat płytki drukowanej

Dla sprawdzenia modułu podłączonego do Raspberry Pi można użyć narzędzia z pakietu i2ctools. Przed podłączeniem modułu, należy ustawić zworkami adres I2C, domyślnie 0x20, czyli wszystkie zwory w położeniu 0. Poleceniem i2cdetect -y 1 sprawdzamy obecność modułu na magistrali:

Wykaz elementów:
Rezystory:
  • R1: 2,2 kΩ (SMD0805)
  • R2, R3: 10 kΩ (SMD0805)
  • R7…R10: 220 Ω (SMD0805)
Kondensatory:
  • C1: 0,1 μF/10 V SMD0805
  • C2: 0,1 μF/50 V SMD1206
  • CE1: 220 μF/50 V elektrolityczny
Półprzewodniki:
  • LD: led zielona SMD0805
  • U1: MCP23008SS SSOP20
  • U2: VNQ5160K-E POWERSO24
Inne:
  • A0, A1, A2: złacze SIP3, 2,54 mm + zwora
  • I2CB: złącze SIP4, 2,54 mm
  • I2CC: złącze JST4, 1 mm
  • OUT: złącze śrubowe 5 mm 6 pin
 
Artykuł ukazał się w
Elektronika Praktyczna
maj 2020
DO POBRANIA
Pobierz PDF Download icon
Elektronika Praktyczna Plus lipiec - grudzień 2012

Elektronika Praktyczna Plus

Monograficzne wydania specjalne

Elektronik listopad 2025

Elektronik

Magazyn elektroniki profesjonalnej

Raspberry Pi 2015

Raspberry Pi

Wykorzystaj wszystkie możliwości wyjątkowego minikomputera

Świat Radio listopad - grudzień 2025

Świat Radio

Magazyn krótkofalowców i amatorów CB

Automatyka, Podzespoły, Aplikacje listopad - grudzień 2025

Automatyka, Podzespoły, Aplikacje

Technika i rynek systemów automatyki

Elektronika Praktyczna listopad 2025

Elektronika Praktyczna

Międzynarodowy magazyn elektroników konstruktorów

Elektronika dla Wszystkich grudzień 2025

Elektronika dla Wszystkich

Interesująca elektronika dla pasjonatów