Czujniki optyczne (4). Sensory koloru oraz czujniki i moduły multispektralne

Czujniki optyczne (4). Sensory koloru oraz czujniki i moduły multispektralne

W czwartym, ostatnim artykule z krótkiej serii nt. nowoczesnych czujników optycznych, zaprezentujemy wybór najciekawszych naszym zdaniem propozycji z rynku optoelektroniki, przeznaczonych do pomiarów kolorymetrycznych, jak i omówimy wybrane sensory, pozwalające na prowadzenie badań multispektralnych.

„Tam sięgaj, gdzie wzrok nie sięga” – krótkie wprowadzenie do kolorymetrii i spektrofotometrii

Przytoczony w tytule tej części artykułu cytat – pochodzący ze słynnej Ody do Młodości Adama Mickiewicza – doskonale oddaje sens nowoczesnych pomiarów optycznych, prowadzonych za pomocą czujników multispektralnych. Rozpatrując widzenie barwne, które u człowieka bazuje na trzech rodzajach barwników, pełniących w pewnym sensie rolę naturalnych filtrów dla komórek wzrokowych, nie zastanawiamy się zwykle nad tym, że odbierany przez nas obraz świata jest de facto… wielkim oszustwem, które zgotował nam mózg. Jak wiadomo, barwy podstawowe ulegają mieszaniu (rysunek 1), dzięki czemu – przykładowo – oświetlenie receptorów wzrokowych jednocześnie światłem czerwonym i zielonym daje wrażenie, że obserwujemy światło żółte. Mózg ludzki nie jest zatem w stanie odróżnić, czy rejestrowane światło jest efektem swego rodzaju złudzenia optycznego, czy też faktycznie stanowi monochromatyczną falę o danej długości.

Rysunek 1. Addytywne mieszanie barw w wyniku nakładania monochromatycznych plam światła o różnych długościach fali (https://t.ly/WVgsh)

Jeżeli technicznie realizowany pomiar koloru ma znaczenie dla „ludzkich zastosowań” (np. w celu dobrania koloru farby lub lakieru), to rzeczywisty skład widmowy światła nie ma większego znaczenia – z tego też względu do aplikacji typowo użytkowych w zupełności wystarczające są czujniki koloru, zdolne do rozróżniania trzech barw podstawowych – czerwieni, zieleni i barwy niebieskiej (rysunek 2). Warto w tym miejscu nadmienić, że techniczna realizacja pomiaru koloru może przebiegać na dwa sposoby, które roboczo nazwiemy pomiarem aktywnym oraz pasywnym.

Rysunek 2. Ilustracja zasad widzenia barwnego – obiekty o różnych kolorach odbijają poszczególne składowe padającej na nie wiązki światła białego w zróżnicowanych proporcjach, co daje możliwość rozróżniania koloru powierzchni. Te same zasady mogą być stosowane w refleksyjnych czujnikach koloru, bazujących na 3-kanałowej detekcji RGB (https://t.ly/5cJ8X)
  • Pomiar aktywny – badana powierzchnia jest „sztucznie” oświetlana przez wbudowany iluminator, a ilość światła odbitego mierzy się za pomocą fotodetektora (zwykle – z uwagi na liniowość – w roli tej występuje fotodioda). W zależności od przyjętej koncepcji, czujnik może składać się z białej diody LED współpracującej z potrójnym detektorem (trzy osobne fotoelementy z filtrami RGB – fotografia 1) lub trójkolorowego oświetlacza (dioda LED RGB) z pojedynczym fotodetektorem, rejestrującym całkowite natężenie światła w pełnym spektrum, pokrywającym się mniej lub bardziej z pasmem widzialnym – rysunek 3.
Fotografia 1. Moduł na bazie scalonego czujnika koloru TCS34725, współpracującego z oświetlaczem w postaci białej diody LED SMD (https://t.ly/zJPtI)
Rysunek 3. Ilustracja metody wykrywania koloru powierzchni z użyciem trójkolorowego oświetlacza i pojedynczego, szerokopasmowego fotodetektora (https://t.ly/a_vyr)
  • Pomiar pasywny – układ pomiarowy zawiera co najmniej trzy fotoelementy, wyposażone w różne filtry optyczne (RGB), choć często producenci „dokładają” doń także czwarty detektor, pozbawiony filtra i rejestrujący sumaryczne natężenie światła w szerokim przedziale widma (fotografia 2).
Fotografia 2. Moduł „pasywnego” czujnika koloru, bazujący na układzie ISL29125 – sensor może rejestrować światło padające prosto ze źródła lub odbite od badanej powierzchni, jednak nie zawiera własnego oświetlacza (https://t.ly/5mLDE)

Z zupełnie inną sytuacją mamy jednak do czynienia, jeżeli dane dotyczące składu widmowego światła mają stanowić podstawę dla bardziej zaawansowanych technik pomiarowych, np. analizy składu chemicznego czy też pomiaru stężeń znanych substancji w próbkach roztworów za pomocą spektrofotometru.

W tym przypadku trzy, dość szerokie przedziały widma optycznego to zdecydowanie za mało – konieczne jest podzielenie spektrum na węższe pasma i pomiar natężenia światła w każdym z nich z osobna. Podział pasma może być przy tym wykonany na dwa sposoby:

  • rozszczepienie rejestrowanej wiązki (np. za pomocą pryzmatu) i „skanowanie” przy użyciu monochromatora z ruchomą przesłoną, kierującego wybraną część światła na fotodetektor (rysunek 4),
Rysunek 4. Schemat koncepcyjny, pokazujący (w mocno uproszczony sposób) konstrukcję klasycznego spektrofotometru z monochromatorem, wyposażonym w ruchomą szczelinę (https://t.ly/p5N_V)
  • rozszczepienie wiązki w polichromatorze i jednoczesna rejestracja całego pasma za pomocą macierzy fotoelementów (np. liniału CCD) – patrz rysunek 5.
Rysunek 5. Zasada działania spektrometru o statycznej konstrukcji, zawierającej siatkę dyfrakcyjną oraz jednowymiarową macierz detektorów (https://t.ly/yRFpS)

Każda z metod ma pewne wady i zalety – przykładowo, mechaniczne skanowanie realizowane poprzez przesuw szczeliny monochromatora pozwala uzyskać wysoką rozdzielczość widmową, ale wymaga złożonej konstrukcji i – co gorsza – jest bardzo powolne, co ogranicza zakres aplikacyjny jedynie do zastosowań statycznych. Wersja druga – zawierająca w pełni statyczny układ monochromatora (np. na bazie siatki dyfrakcyjnej) i detektora liniowego – może być zrealizowana w bardzo kompaktowej, niedrogiej postaci i umożliwia dokonywanie analiz w czasie rzeczywistym, ale ma ograniczenia w zakresie rozdzielczości widmowej oraz bitowej (dostępne liniały mają zwykle dość przeciętny kontrast i zakres dynamiki). Należy pamiętać, że przy zastosowaniu siatki dyfrakcyjnej trzeba uwzględnić specyfikę zjawisk fizycznych, stojących za rozszczepieniem światła – w przeciwieństwie do pryzmatu, siatka dyfrakcyjna „generuje” bowiem nie jedną wiązkę wachlarzową, ale szereg wiązek różnych rzędów, co stwarza ryzyko niepożądanych odbić wewnątrz obudowy spektrometru, a ponadto wymusza dokładne ustawienie geometrii całego układu optycznego (fotografia 3).

Fotografia 3. Rozszczepienie światła na siatce dyfrakcyjnej (https://t.ly/zNKox)

Podstawowe czujniki koloru

Bodaj najprostszą możliwą realizację czujnika koloru oferuje firma Kingbright. Sensor KPS-5130PD7C (fotografia 4, rysunek 6) składa się z 3-sekcyjnej fotodiody, wyposażonej w filtry optyczne RGB. Tego typu elementy, choć dają znaczną elastyczność projektową, pozostają jednak w dzisiejszych czasach rzadkością – znacznie popularniejsze, z uwagi na łatwość implementacji i kompaktowość, są scalone czujniki cyfrowe, zawierające „na pokładzie” nie tylko struktury światłoczułe, ale także układ ASIC, odpowiedzialny za przetwarzanie A/C, cyfrowe kondycjonowanie wyników pomiaru, a w niektórych przypadkach nawet autokalibrację, czy też redukcję zakłóceń pochodzących np. ze świetlówek.

Fotografia 4. Widok czujnika koloru KPS-5130PD7C (https://t.ly/oxZkt)
Rysunek 6. Charakterystyka spektralna czujnika KPS-5130PD7C (https://t.ly/1sj7Z)

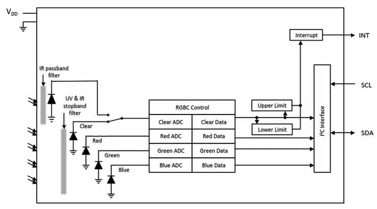
Czujnik TCS3400 (rysunek 7) marki ams-OSRAM zawiera już znacznie bardziej rozbudowaną, pierścieniową macierz fotoelementów, składającą się z czterech powtarzalnych sekcji, przesuniętych kątowo względem siebie co kolejne 90° (fotografia 5).

Rysunek 7. Schemat blokowy czujnika TCS3400 (https://bit.ly/48xCmT4)
Fotografia 5. Widok struktury światłoczułej sensora TCS3400 (https://t.ly/88LQ-)

Takie rozmieszczenie pozwala na uniezależnienie wartości odczytów poszczególnych kanałów od kierunku padania światła na strukturę sensora. Środkowe pole pełni rolę dodatkowej fotodiody, czułej już tylko na promieniowanie podczerwone (rysunek 8) – rozwiązanie to ma na celu umożliwienie rozpoznawania źródła światła przez nadrzędny procesor. Czujnik zapewnia programowalny czas integracji oraz regulowane wzmocnienie torów pomiarowych, co w połączeniu z przyzwoitą rozdzielczością przetworników ADC pozwala uzyskać zakres dynamiki równy 1000000:1.

Rysunek 8. Charakterystyka spektralna sensora TCS3400 (https://bit.ly/48xCmT4)

Obok klasycznych czujników koloru RGB, coraz popularniejsze stają się tzw. sensory XYZ (określane też mianem tristimulus sensor), które za sprawą nieco inaczej „nastrojonych” filtrów, są w stanie znacznie lepiej odwzorowywać charakterystykę ludzkiego widzenia barwnego, w porównaniu do klasycznej technologii RGB. Przykładem zaawansowanego układu, należącego do tej kategorii, może być czujnik AS73211. Jego charakterystyka spektralna wykazuje silniejsze przesunięcie piku czułości kanału zielonego w stronę pasma czerwieni (rysunek 9) – czyli znacznie lepiej odwzorowuje sposób działania ludzkich czopków (fotoreceptorów siatkówkowych, odpowiedzialnych za widzenie barwne w warunkach dobrego oświetlenia).

Rysunek 9. Charakterystyka spektralna czujnika AS73211 (https://ibit.ly/5bjUE)

Aby lepiej zrozumieć omawiane zagadnienie, warto porównać znormalizowaną charakterystykę spektralną czopków (rysunek 10) z odpowiednimi wykresami dla sensora AS73211, a następnie z pokazanymi wcześniej charakterystykami KPS-5130PD7C (rysunek 6) oraz TCS3400 (rysunek 8).

Rysunek 10. Znormalizowana charakterystyka czułości spektralnej czopków siatkówki ludzkiego oka (https://t.ly/hpX3w)

Odczyty uzyskiwane za pomocą czujników XYZ odnoszą się do przestrzeni barw CIE 1931 (rysunek 11) – ten sposób numerycznej reprezentacji kolorów stał się zresztą podstawą dla wielu innych systemów zapisu barw. Co ciekawe – ta leciwa (bo opracowana przeszło dziewięć dekad temu, właśnie w 1931 roku) przestrzeń barw sama w sobie nadal pozostaje w intensywnym użyciu, czego przykładem mogą być właśnie nowoczesne, scalone czujniki koloru, których noty katalogowe wprost odnoszą się do CIE 1931.

Rysunek 11. Przestrzeń barw CIE 1931; CIE XYZ (https://t.ly/D8zYb)

Jeszcze dalej poszli inżynierowie Texas Instruments, którzy opracowali sensor o nazwie OPT4048. Choć w tym przypadku wszystkie cztery kanały korzystają ze współdzielonego toru pomiarowego z przetwornikiem ADC oraz przestrajalnym wzmacniaczem (rysunek 12), to układ oferuje większą funkcjonalność pod względem obróbki danych pomiarowych. Oprócz współrzędnych wg CIE 1931, czujnik OPT4048 umożliwia także pomiar natężenia oświetlenia (w luksach), a nawet tzw. skorelowanej temperatury barwowej, czyli CCT (ang. Correlated Color Temperature) – co ważne, ostatni z parametrów jest obliczany z rozdzielczością nieporównywalnie wyższą, niż spotykane w opisach technicznych żarówek czy białych diod LED wartości temperatury barwowej, które zwykle są podawane ze zgrubnym krokiem co 100 lub nawet 500 K.

Rysunek 12. Schemat blokowy czujnika OPT4048 (https://bit.ly/45gA6wB)

Dalece bardziej rozbudowane rozwiązanie zaproponowała wspomniana już wcześniej firma ams-OSRAM w najnowszym (w chwili pisania niniejszego artykułu jeszcze niedostępnym na rynku) układzie TCS3408. Sześć osobnych przetworników ADC (rysunek 13) odpowiada za pomiar ilości światła w trzech kanałach barwnych (w tym przypadku jednak o klasycznej charakterystyce RGB), jednym kanale obejmującym pełne widmo światła widzialnego, a także trzech dodatkowych kanałach: WB (szerokopasmowym) oraz FD1 i FD2 (używanych do detekcji migotania, spowodowanego przez oświetlenie elektryczne).

Rysunek 13. Schemat blokowy czujnika TCS3408 (https://bit.ly/46aQX5n)

Pełną charakterystykę znormalizowanej czułości widmowej pokazano na rysunku 14.

Rysunek 14. Charakterystyka widmowa czujnika TCS3408 (https://bit.ly/46aQX5n)

Warto zwrócić uwagę na fakt, iż opisane wcześniej czujniki zawierały – oprócz kanałów RGB – także dodatkowe kanały określane mianem Clear lub Wideband, a obejmujące albo całe pasmo widzialne, albo także fragment widma bliskiej podczerwieni. Jedynym wyjątkiem był układ TCS3400, który oferował dodatkowy fotodetektor, czuły tylko i wyłącznie na ostro odgrodzony fragment pasma NIR.

W przypadku czujnika TCS3430, przeznaczonego głównie do zaawansowanej korekcji barwnej ekranów urządzeń mobilnych (rysunek 15, fotografia 6), producent poszedł już w stronę znacznie bardziej zróżnicowanej charakterystyki widmowej. W układzie znalazły się bowiem aż dwa kanały mierzące podczerwień i to w różnych jej podpasmach, obejmujących w przybliżeniu zakresy 700...850 nm oraz 830...950 nm (przy czym wartości graniczne podano dla połowicznej czułości każdego z detektorów – rysunek 16). Można zatem uznać, że układ TCS3430 zahacza niejako już o kolejną kategorię sensorów optycznych – mowa o czujnikach multispektralnych.

Rysunek 15. Schemat blokowy czujnika TCS3430 (https://bit.ly/3ZBId5M)
Fotografia 6. Przykład zastosowania czujnika TCS3430 do kompensacji temperatury barwowej otoczenia w celu uzyskania efektu, określanego jako paper-like display. To samo zdjęcie zostało wydrukowane dwukrotnie, po czym wycięto w nim otwór, w którym umieszczono smartfona. Po lewej stronie widać efekt zastosowania czujnika TCS3430 – balans bieli na wyświetlanej części fotografii został tak dopasowany do ciepłego światła otoczenia, że obraz niemal „zlewa się” z wydrukiem. Po prawej stronie analogiczny test, ale bez użycia kompensacji (https://t.ly/9dUXX)
Rysunek 16. Charakterystyka spektralna czujnika TCS3430 (https://bit.ly/3ZBId5M)

Czujniki multispektralne VIS-IR

Czujniki multispektralne to wyspecjalizowana grupa sensorów optycznych, które zdolne są do pomiaru widma optycznego w poszczególnych, stosunkowo wąskich pasmach. Rzecz jasna, zwyczajowo nie zaliczamy do tej kategorii czujników RGB – pomimo iż częściowo pasują one do wspomnianej definicji, to mianem czujników multispektralnych nazywamy sensory o liczbie kanałów większej niż 3. Nie ma w tym zresztą nic dziwnego, zważywszy na fakt, iż określenie „multispektralny” jest także stosowane do systemów obrazowania, które mają dodatkowe pasma promieniowania elektromagnetycznego, oprócz standardowych trzech kanałów RGB (doskonałym przykładem może być zaawansowany model kamery 8-pasmowej MSC2-VIS8-1-A marki Spectral Devices – fotografia 7). Na szczęście, o ile kamery multispektralne stanowią jak na razie grupę urządzeń zdecydowanie mało przystępnych cenowo (choć doskonale rokujących pod względem zastosowań w rolnictwie, badaniach naukowych czy też konserwatorstwie zabytków), to prostsze czujniki wielokanałowe są dostępne od ręki i to za przysłowiowe grosze.

Fotografia 7. Kamera multispektralna MSC2-VIS8-1-A (https://bit.ly/3PvUTWY)

Interesujące rozwiązanie w tym zakresie znów pochodzi ze stajni ams-OSRAM. Seria trzech układów AS72651, AS72652 oraz AS72653 umożliwia pomiar pasma widzialnego oraz bliskiej podczerwieni (VIS+IR) w zakresie od 410 nm aż do 940 nm, co ciekawe – w aż 18 (!) wąskich przedziałach spektrum (patrz rysunek 17). Doskonałą selektywność zapewniają nowoczesne filtry interferencyjne, naniesione w ramach specjalnej odmiany procesu CMOS bezpośrednio na poszczególne fotodiody. Taka technologia zapewnia doskonałą stabilność termiczną filtrów i zostawia daleko w tyle konwencjonalne filtry barwne, nanoszone w osobnych procesach technologicznych.

Rysunek 17. Wykres pokazujący nałożone na siebie charakterystyki spektralne czujników z serii AS7265x (https://bit.ly/46f9c9G)

Podłączenie wszystkich trzech układów AS7265x na wspólnej szynie I²C daje możliwość bardzo prostej (pod względem sprzętowym) implementacji cyfrowego spektro(foto)metru – co zresztą zrealizowała firma SparkFun w ramach modułu o nazwie AS7265x Spectral Triad (fotografia 8) – znacznie ułatwiającego rozpoczęcie pracy z sensorami. O ile jednak komplet trzech czujników AS7265x prezentuje naprawdę obiecujące możliwości w rozmaitych obszarach aplikacyjnych, to praktyczna przydatność zastosowanego w module SparkFun ułożenia czujników zdaje się być wątpliwa. Wprawdzie przy odpowiednim zaprojektowaniu układu optycznego możliwa jest analiza wąskiej wiązki światła (np. w aplikacjach spektrofotometrycznych), jednak znacznie lepiej byłoby mieć… jeden czujnik, obejmujący kilkanaście pików widma. Na szczęście, inżynierowie ams-OSRAM opracowali i takie czujniki.

Fotografia 8. Moduł AS7265x Spectral Triad marki SparkFun (https://bit.ly/3rs0xSi)

Układ AS7341 (rysunek 18, fotografia 9) zawiera już 11 kanałów, z czego 8 przypada na zakres pasma widzialnego, zaś trzy dodatkowe to detektor typu Clear, fotodioda podczerwieni oraz fotodioda do detekcji migotania (rysunek 19).

Rysunek 18. Schemat aplikacyjny czujnika AS7341 (https://bit.ly/3EXeo62)
Fotografia 9. Widok czujnika AS7341 (https://bit.ly/3EXeo62)
Rysunek 19. Charakterystyka widmowa czujnika AS7341, znormalizowana do kanału F8 (https://bit.ly/48C74ub)

Jeszcze ciekawiej prezentuje się 14-kanałowy czujnik AS7343 (rysunek 20), dostępny w takiej samej, fantastycznie kompaktowej obudowie o wymiarach zaledwie 3,1×2,0×1,0 mm. Charakterystykę spektralną AS7343 można obejrzeć na rysunku 21.

Rysunek 20. Schemat blokowy czujnika AS7343 (https://t.ly/uDy9e)
Rysunek 21. Charakterystyka spektralna czujnika AS7343 (https://t.ly/aFE4n)

Czujniki specjalnego przeznaczenia

Wśród czujników opracowanych przez firmę ams-OSRAM znalazł się ciekawy model sensora, przeznaczonego do pomiarów promieniowania ultrafioletowego we wszystkich trzech pasmach, rozpatrywanych pod względem skutków biologicznych (UV-A, UV-B oraz UV-C). Układ AS7331 (fotografia 10) zawiera filtry doskonale rozdzielające badany fragment widma elektromagnetycznego (rysunek 22), co w połączeniu z bardzo wysoką czułością (2,38 nW/cm²) pozwala prowadzić dokładne pomiary UV w rozmaitych aplikacjach medycznych oraz przemysłowych.

Fotografia 10. Widok układu AS7331 (https://t.ly/SssIp)
Rysunek 22. Charakterystyka widmowa czujnika AS7331 (https://t.ly/YxvIR)

Innym przykładem niezwykle interesującego czujnika jest układ C13272-03 marki Hamamatsu (fotografia 11). Sensor umożliwia prowadzenie pomiarów podczerwieni w zakresie od 1550 do 1850 nm, co ciekawe – przy użyciu przestrajalnego filtru MEMS, opartego na topologii interferometru Fabry’ego-Perota. Schematyczny przekrój takiej konstrukcji można zobaczyć na rysunku 23 – dwa specjalne zwierciadła są umieszczone w pewnej odległości od siebie, przy czym szerokość szczeliny powietrznej jest przestrajana elektrostatycznie, czyli za pomocą napięcia, przyłożonego do obydwu luster. Rolę detektora, umieszczonego za filtrem MEMS-FPI, pełni fotodioda PIN, wykonana na bazie InGaAs.

Fotografia 11. Przestrajalny czujnik C13272-03 marki Hamamatsu (https://t.ly/lurCs)
Rysunek 23. Schematyczny przekrój przez strukturę filtru MEMS-FPI (https://t.ly/lurCs)

Co ciekawe, analogiczna technologia znalazła już zastosowanie w budowie kamer hiperspektralnych, czego najlepszym dowodem może być moduł Monarch II PCB Multispectral Camera Module (fotografia 12), oferowany przez firmę Unispectral. Urządzenie umożliwia rejestrację wideo z rozdzielczością przestrzenną 1280×1024 px, przy czym dla każdego ustawienia filtru w zakresie 705...920 nm ±5 nm obraz jest przechwytywany w stosunkowo wąskim paśmie 40 nm ±10 nm. Warto dodać, że ten sam producent oferuje także moduł miniaturowego filtru MEMS-FPI – ColorIR™ – o zakresie spektralnym 688..938 nm. Wymiary modułu, pokazanego na fotografii 13, są imponujące – to zaledwie 3,4×3,4×1,25 mm (!).

Fotografia 12. Kamera multispektralna Monarch II marki Unispectral (https://t.ly/tsFo1)
Fotografia 13. Przestrajalny filtr MEMS – ColorIR™ marki Unispectral (https://t.ly/Owkr9)

Podsumowanie

W artykule opisaliśmy przekrój aktualnej oferty czujników optycznych, przeznaczonych do pomiarów kolorymetrycznych oraz multispektralnych. Jak widać, szczytowe osiągnięcia monolitycznych technik półprzewodnikowych pozwalają dziś z niebywałą dokładnością analizować widmową strukturę światła. Oprócz „przyziemnych” zastosowań (z myślą o których de facto powstała większość omówionych czujników), należy pamiętać także o wielu innych aplikacjach z zakresu przemysłu, medycyny czy badań naukowych. Z użyciem sensorów multispektralnych możemy wszak także analizować kolory powierzchni przedmiotów, barwę światła generowanego przez różne źródła (np. białe diody LED), czy też badać próbki roztworów w celu identyfikacji ich stężeń bądź składu materiałowego.

Opisem czujników kolorymetrycznych i multispektralnych kończymy nasz krótki cykl artykułów, poświęconych sensorom optycznym. Mamy nadzieję, że zaprezentowany materiał zainteresuje naszych Czytelników i skłoni ich do samodzielnych poszukiwań interesujących rozwiązań optoelektronicznych, często dostępnych „z półki” i to w naprawdę przystępnych cenach.

inż. Przemysław Musz, EP

Artykuł ukazał się w
Elektronika Praktyczna
październik 2023
Elektronika Praktyczna Plus lipiec - grudzień 2012

Elektronika Praktyczna Plus

Monograficzne wydania specjalne

Elektronik listopad 2025

Elektronik

Magazyn elektroniki profesjonalnej

Raspberry Pi 2015

Raspberry Pi

Wykorzystaj wszystkie możliwości wyjątkowego minikomputera

Świat Radio listopad - grudzień 2025

Świat Radio

Magazyn krótkofalowców i amatorów CB

Automatyka, Podzespoły, Aplikacje listopad - grudzień 2025

Automatyka, Podzespoły, Aplikacje

Technika i rynek systemów automatyki

Elektronika Praktyczna listopad 2025

Elektronika Praktyczna

Międzynarodowy magazyn elektroników konstruktorów

Elektronika dla Wszystkich grudzień 2025

Elektronika dla Wszystkich

Interesująca elektronika dla pasjonatów