Przetwornik termopary z interfejsem 1Wire

Przetwornik termopary z interfejsem 1Wire

Układ MAX31850/MAX31851 realizuje funkcję digitalizacji sygnału z termopar typu K, J, N, T, S, R lub E. Komunikacja z mikrokontrolerem odbywa się poprzez magistralę 1-Wire, gdzie szyna danych może spełniać, także rolę szyny zasilającej.

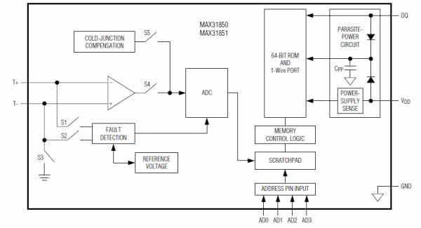
W strukturze układów zawarte są wszystkie komponenty niezbędne do precyzyjnego odczytu termopary (rysunek 1). Przetworniki zapewniają rozdzielczość odczytu temperatury na poziomie 0,25°C, przy zakresie pomiarowym od -270 do +1768°C. W zakresie od -200 do +700°C dokładność pomiarowa wynosi ±2°C.

Rysunek 1. Schemat wewnętrzny układu MAX31850/MAX31851

Zestawienie wersji układów do odpowiednich rodzajów termopar zostało pokazane na rysunku 2.

Rysunek 2. Zestawienie wersji układów do odpowiednich rodzajów termopar

Magistrala 1-Wire z definicji wymaga tylko jednej linii danych (i masy) do komunikacji. Zasilanie układu może być otrzymywane bezpośrednio z linii danych metodą tzw. zasilania pasożytniczego, eliminując potrzebę zewnętrznego zasilania. Każdy egzemplarz układu posiada unikalny 64-bitowy numer seryjny, który umożliwia działanie wielu jednostek na tej samej magistrali 1-Wire. Dzięki temu możliwe jest uzyskanie monitorowania temperatury wielu termopar rozmieszczonych na dużym obszarze. Dodatkowe cztery wejścia adresowe upraszczają mapowanie poszczególnych jednostek do określonych lokalizacji.

Strona producenta: https://bit.ly/3sJtCE7

Strona dystrybutora: https://bit.ly/39yhC0p

Elektronika Praktyczna Plus lipiec - grudzień 2012

Elektronika Praktyczna Plus

Monograficzne wydania specjalne

Elektronik listopad 2025

Elektronik

Magazyn elektroniki profesjonalnej

Raspberry Pi 2015

Raspberry Pi

Wykorzystaj wszystkie możliwości wyjątkowego minikomputera

Świat Radio listopad - grudzień 2025

Świat Radio

Magazyn krótkofalowców i amatorów CB

Automatyka, Podzespoły, Aplikacje listopad - grudzień 2025

Automatyka, Podzespoły, Aplikacje

Technika i rynek systemów automatyki

Elektronika Praktyczna listopad 2025

Elektronika Praktyczna

Międzynarodowy magazyn elektroników konstruktorów

Elektronika dla Wszystkich grudzień 2025

Elektronika dla Wszystkich

Interesująca elektronika dla pasjonatów