MSP430FR2433. Mikrokontroler z FRAM i zestaw startowy

MSP430FR2433. Mikrokontroler z FRAM i zestaw startowy
Pobierz PDF Download icon

Texas Instruments konsekwentnie rozwija własne rozwiązania 16-bitowe wykorzystujące pamięć FRAM. Do opisanych wcześniej FR5969 oraz FR4133 dołączył niedawno zestaw Launchpad MSP-EXP430FR2433.

Cechą wyróżniającą należący do serii Value Line Sensing Microcontroler, procesor MSP430FR2433, jest przeznaczenie do aplikacji pomiarowych. Dzięki elastyczności i niewielkiemu poborowi mocy układ doskonale nadaje się także do aplikacji noszonych (wearable) monitorujących i rejestrujących np. funkcje organizmu. Launchpad jest wspierany przez środowisko Code Composer, IAR Workbench oraz darmową, wzorowaną na Arduino – Energię (od wersji 1.6.10E18) i stanowi doskonałą alternatywę dla starszych MSP430G2xxx lub wszechobecnych procesorów ARM.

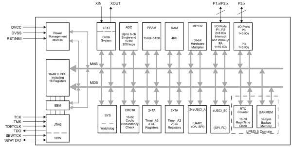
Rysunek 1. Schemat blokowy MSP430FR2433 (za notą TI)

Schemat blokowy mikrokontrolera MSP430FR2433 pokazano na rysunku 1. Jego najważniejsze parametry to:

  • 16-bitowa architektura RISC,
  • zegar do 16 MHz,
  • wbudowane oscylatory 32 kHz, 10 kHz, 16 MHz,
  • szeroki zakres napięcia zasilania 1,8…3,6 V i niewielki pobór mocy 126 μA/MHz,
  • do 15,5 kB szybkiej pamięci FRAM,
  • 4 kB pamięci RAM,
  • zegar czasu rzeczywistego,
  • do 19 wyprowadzeń I/O,
  • 4 liczniki 16-bitowe,
  • 8-kanałowy przetwornik A/C o rozdzielczości 10 bitów,
  • wbudowane źródło napięcia odniesienia 1,5 V,
  • interfejsy szeregowe, SPI, UART, IrDA, I2C,
  • dostępne miniaturowe obudowy VQFN24 (4 mm×4 mm), DSBGA24 (2,29 mm×2,34 mm).

Aby szybko sprawdzić możliwości nowych układów, TI udostępnił zestaw startowy Launchpad MSP430FR2433 (rysunek 2). Zestaw zawiera (odłączalny) programator/emulator eZ-FET oraz część testową z procesorem. Peryferia zestawu ograniczają się do dwóch przycisków i dwóch LED dołączonych do GPIO. Opcjonalnie układ może być zasilany z superkondensatora (EEC-S0HD224H 0,22 F niewchodzącego w skład zestawu). Programator dzięki zworkom może zostać odłączony od układu, aby nie obciążać dodatkowo źródła zasilania w układzie testowym. Jak w większości Launchpadów zastosowano technologię EnergyTrace pozwalającą na bieżąco monitorować pobór prądu przez procesor. Wyprowadzenia GPIO dostępne są na złączach szpilkowych w standardzie 2×10 pinów umożliwiających podłączenie zgodnych Booster-Packów także w wersji przelotowej (tj. płytki rozszerzeń można łączyć zarówno od dołu, jak i góry zestawu). W opakowaniu zestawu znajdziemy kabelek micro USB oraz krótką instrukcję szybkiego startu, czyli wszystko, co jest konieczne do uruchomienia zestawu, a o czym zdarza się zapominać innym producentom.

Rysunek 2. Zestaw MSP-EXP430FR2433

Wyposażenie zestawu jest skromne, ale zestaw katalogowo kosztuje 9,99 USD (Ti Store), a w ofercie promocyjnej tylko 4,30 USD, co jest ceną bardzo przystępną.

Rysunek 3. Adres portu szeregowego dla aplikacji

Dla celów edukacyjnych udostępniono dwa projekty wraz z kompletnymi kodami źródłowymi. Jeden to oczywiście „nieśmiertelny” blink (BlinkLED_MSP430FR2433), drugi to rejestrator temperatury z aplikacją rejestrująca dane w chmurze (OutOfBox_MSP430FR2433). Rejestrator jest aplikacją działającą po wyjęciu Launchpada z pudełka. Dla sprawdzenia jej funkcjonalności konieczna jest instalacja rozszerzenia przeglądarki www – TICloudAgent Bridge. Po jego zainstalowaniu i uruchomieniu https://goo.gl/vcjACJ warto z menu uaktualnić firmware Launchpada. Po aktualizacji i wybraniu aktywnego portu szeregowego UART (rysunek 3) można wybrać jeden z dostępnych trybów pracy aplikacji – odczyt bezpośredni z wizualizacją temperatury (live) i sygnalizacją na LED-ach przekroczenia zadanego progu lub rejestrator (logged) temperatur do pamięci FRAM z cyklicznym ich odczytem.

 
 
Rysunek 4. Bieżący odczyt temperatury
Rysunek 5. Odczyt wyników pomiarów zapisanych w FRAM

Przykładowe zrzuty ekranu podczas działania aplikacji przedstawiają rysunki 4 i 5. Dane do aplikacji przesyłane są poprzez port szeregowy (115200,8,n,1) w trybie tekstowym, więc można je podejrzeć w dowolnym terminalu. Sposób logowania jest zmieniany przyciskami S1 i S2 (rysunek 6).

Rysunek 6. Tekstowa transmisja temperatur

Po przetestowaniu pozostaje tylko życzyć udanych aplikacji mikrokontrolerów testowanych z użyciem zestawu.

Adam Tatuś, EP

Artykuł ukazał się w
Elektronika Praktyczna
styczeń 2018
DO POBRANIA
Pobierz PDF Download icon
Elektronika Praktyczna Plus lipiec - grudzień 2012

Elektronika Praktyczna Plus

Monograficzne wydania specjalne

Elektronik listopad 2025

Elektronik

Magazyn elektroniki profesjonalnej

Raspberry Pi 2015

Raspberry Pi

Wykorzystaj wszystkie możliwości wyjątkowego minikomputera

Świat Radio listopad - grudzień 2025

Świat Radio

Magazyn krótkofalowców i amatorów CB

Automatyka, Podzespoły, Aplikacje listopad - grudzień 2025

Automatyka, Podzespoły, Aplikacje

Technika i rynek systemów automatyki

Elektronika Praktyczna listopad 2025

Elektronika Praktyczna

Międzynarodowy magazyn elektroników konstruktorów

Elektronika dla Wszystkich grudzień 2025

Elektronika dla Wszystkich

Interesująca elektronika dla pasjonatów