FRAM w natarciu - zestaw z MSP430FR4133

FRAM w natarciu - zestaw z MSP430FR4133
Pobierz PDF Download icon

Pomimo zalewu mikroprocesorów opartych na rdzeniu Cortex-M, firma Texas Instruments konsekwentnie rozwija własne rozwiązania 16-bitowe. Do opisanego w EP 7/14 zestawu z mikrokontrolerem MSP430FR5969 z pamięcią FRAM niedawno dołączył kolejny, z MSP430FR4133.

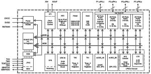
Rysunek 1. Schemat blokowy mikrokontrolera MSP430FR4133

Cechą wyróżniającą procesor MSP430-FR4133 jest wbudowany, elastyczny, sprzętowy interfejs wyświetlacza LCD (4×36 lub 8×32 segmenty). Mikrokontroler ma też wbudowaną pompę ładunku, zegar czasu rzeczywistego oraz interfejs klawiatur dotykowych dostępny na każdym z 60 wyprowadzeń GPIO procesora.

Taki zestaw w zasadzie determinuje zastosowanie w aplikacjach pomiarowych i sterujących wyposażonych w interfejs HMI z wykorzystaniem wszystkich zalet technologii FRAM, w tym niewielkiego poboru mocy.

Najważniejszymi cechami zastosowanego w MSP-EXP430FR4133 procesora są:

  • 16-bitowa architektura RISC.
  • Taktowanie przebiegiem o częstotliwości do 16 MHz.
  • Szeroki zakres napięcia zasilania 1,8...3,6 V i niewielki pobór mocy 126 mA/MHz.
  • 15,5 kB szybkiej pamięci FRAM.
  • Wbudowany moduł zegara czasu rzeczywistego.
  • 10-kanałowy przetwornik A/C o rozdzielczości 10 bitów.
  • Układy transmisji szeregowej: SPI, UART, I²C.
  • Kontroler segmentowego wyświetlacza LCD.
  • Modulator podczerwieni.
  • Dostępne obudowy: LQFP64, TSSOP56, TSSOP48.

Schemat blokowy układu mikrokontrolera MSP430FR4133 pokazano na rysunku 1. Duża elastyczność GPIO, dostępne obudowy TSSOP ułatwiają aplikację procesorów i typowych wyświetlaczy segmentowych LCD. Bogate wyposażenie procesora FR4133 umożliwia tworzenie aplikacji o znacznie większym stopniu komplikacji niż dla najsilniejszych procesorów z linii G2, w tym np. wszelkiego rodzaju inteligentnych układów pomiarowych wykorzystujących wbudowany przetwornik AD i sterownik LCD.

Fotografia 2. Zestaw MSP-EXP430FR4133

Aby szybko sprawdzić możliwości nowych układów, TI udostępnił zestaw startowy Launchpad MSP430FR4133 (fotografia 2). Zestaw tradycyjnie zawiera (odłączalny) programator/emulator oraz część testową z procesorem FR4133.

Dodatkowo do płytki został wlutowany segmentowy wyświetlacz LCD FH-1138P umożliwiający wyświetlanie 6 znaków składających się z 14 segmentów i kilkunastu znaków pomocniczych, takich jak: symbole, kropki dziesiętne i dwukropki pomiędzy cyframi (rysunek 3). Dzięki zastosowaniu zworek programator może być odłączony, aby dodatkowo nie obciążać zewnętrznego źródła zasilania w układzie docelowym.

Na pozostałe wyposażenie składają się dwa przyciski i dwie LED. W dalszym ciągu jest dostępne 20-pinowe złącze do booster-packów w wersji "przelotowej" (tj. płytki rozszerzeń można łączyć zarówno od dołu jak i od góry zestawu).

Jest jak zwykle skromnie, ale za to w przystępnej cenie 13,99 $. W opakowaniu zestawu znajdziemy także kabelek micro USB oraz krótką instrukcję szybkiego startu, czyli wszystko, co jest konieczne do uruchomienia zestawu, a o czym zdarza się zapominać innym producentom.

Jak przystało na mikrokontroler reklamowany jako o bardzo małym poborze mocy, zestaw jest zgodny z technologią EnergyTrace. Na stronie www.ti.com jest dostępna instrukcja i pełna dokumentacja techniczna ułatwiająca jego wykorzystanie.

Jedyną uwagą, którą można mieć do launchpada FR4133, jest wlutowanie LCD bezpośrednio w płytkę. Przydałyby się gniazda kielichowe, aby łatwiej połączyć launchpad z innym wyświetlaczem, np. tanim typowym, numerycznym z licznika energii elektrycznej i nie tracić przy tym możliwości wykorzystania LCD polecanego przez TI.

Rysunek 3. Układ znaków LCD

W pamięci mikrokontrolera zapisano aplikację testową sprawiającą, że zestaw "ożywa" od razu po włączeniu zasilania. Jest to program demonstrujący załączanie wszystkich segmentów LCD oraz mający funkcjonalność stopera i termometru. Na stronie TI jest dostępne źródło aplikacji demonstracyjnej oraz aplikacji wykorzystującej wbudowany modulator podczerwieni (MSP-EXP430FR4133_Software_Examples_windows.zip).

Jako środowiska programowe można wybrać pomiędzy komercyjnymi CCS dostarczanym przez TI i Workbench IAR oraz bezpłatnym środowiskiem Energia (ver0016), do którego sukcesywnie dopisywane są biblioteki umożliwiające pełne wykorzystanie bloków FR4133, m.in.: LCD_Launchpad obsługująca kontroler LCD w podstawowym zakresie funkcjonalnym. Po zainstalowaniu najnowszej wersji Energii jest konieczne uaktualnienie oprogramowania launchpada.

Do celów edukacyjnych udostępniono także kompletny projekt referencyjny termostatu TIDM opartego na FR4133, na którym można się wzorować, tworząc własne rozwiązania.

Adam Tatuś, EP

Artykuł ukazał się w
Elektronika Praktyczna
grudzień 2015
DO POBRANIA
Pobierz PDF Download icon
Elektronika Praktyczna Plus lipiec - grudzień 2012

Elektronika Praktyczna Plus

Monograficzne wydania specjalne

Elektronik listopad 2025

Elektronik

Magazyn elektroniki profesjonalnej

Raspberry Pi 2015

Raspberry Pi

Wykorzystaj wszystkie możliwości wyjątkowego minikomputera

Świat Radio listopad - grudzień 2025

Świat Radio

Magazyn krótkofalowców i amatorów CB

Automatyka, Podzespoły, Aplikacje listopad - grudzień 2025

Automatyka, Podzespoły, Aplikacje

Technika i rynek systemów automatyki

Elektronika Praktyczna listopad 2025

Elektronika Praktyczna

Międzynarodowy magazyn elektroników konstruktorów

Elektronika dla Wszystkich grudzień 2025

Elektronika dla Wszystkich

Interesująca elektronika dla pasjonatów