AD5593R - programowalne GPIO

AD5593R - programowalne GPIO
Pobierz PDF Download icon
Niedawno do oferty Analog Devices dołączył układ programowalnego GPIO AD5592R/AD5593R mający oprócz funkcji cyfrowych również analogowe, ponieważ ma wbudowane przetworniki A/C i C/A. Elastyczne możliwości konfiguracyjne pozwalają na nieco odmienne podejście do projektowania interfejsu wejść/wyjść.

Nowy układ interfejsowy AD5593 przyda się szczególnie w razie konieczności zapewnienia uniwersalności, na przykład w modułach interfejsowych sterowników przemysłowych, budynkowych, w których elastyczność znacząco ułatwia projektowanie oraz minimalizuje koszty aplikacji.

Jest to istotne w sytuacjach, w których potrzebne są mieszane funkcje wejść/ wyjść sterownika PLC zmuszające do użycia kilku typów modułów I/O i pozostawienie niepodłączonych, "zapłaconych", a jednak niewykorzystanych wejść/wyjść.

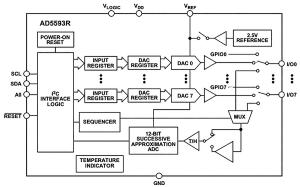
Rysunek 1. Schemat blokowy układów z rodziny AD5593

Fotografia 2. Zestaw uruchomieniowy dla AD5593R

Schemat blokowy AD5593 pokazano na rysunku 1. Jest on odpowiednikiem funkcjonalnym ze zmienionym interfejsem szeregowym - zamiast I²C ma interfejs SPI.

Układ AD5593R ma 8 wyprowadzeń GPIO (kanałów). Każde z nich może być skonfigurowane programowo jako wejście/wyjście cyfrowe (z możliwą topologią trójstanową, przeciwsobną lub z otwartym drenem; możliwe jest również dołączenia każdego z wyprowadzeń do masy poprzez programowo załączany rezystor 85 kV) lub może pełnić funkcję wejścia/wyjścia analogowego o rozdzielczości 12-bitowej.

Fotografia 3. Platforma uruchomieniowa SDP-CB1Z

Rysunek 4. Zainicjowany moduł SDP

Wbudowany przetwornik C/A jest podwójnie buforowany. Każdy kanał ma odrębny rejestr danych i rejestr przetwornika. W zależności od potrzeb jest możliwy zapis bezpośredni, czyli napięcie w danym kanale zostanie zmienione bezzwłocznie po zapisie rejestru danych, co jest przydatne przy niezależnej pracy kanałów C/A. Możliwy jest też synchroniczny zapis wszystkich kanałów - po zapisaniu rejestrów danych i jednoczesnym przepisaniu ich zawartości do rejestrów przetwornika.

Przetwornik A/C współpracuje z 8-kanałowym multiplekserem ze wspomaganiem odczytu sekwencyjnego. Oba przetworniki mają możliwość współpracy z wbudowanym źródłem napięcia odniesienia Vref=2,5 V i możliwość ustawienia programowego zakresu napięć wejścia/wyjścia na 0...Vref/0...2×Vref.

Dodatkowo, AD5593 ma wbudowany czujnik temperatury oraz może pracować z zewnętrznym źródłem napięcia odniesienia, a rejestry GPIO mają możliwość odczytu wstecznego bez ingerowania w zawartość. Układ jest dostępny w obudowach TSSOP16 i WLCSP16.

Rysunek 5. Konfigurowanie AD5593R

Rysunek 6. Zakładka przetwornika C/A

Ocenę przydatności układu oraz jego zastosowanie prototypach ułatwia zaprezentowany na fotografii 2 zestaw startowy umożliwiający (dostępny jest także zestaw z bliźniaczym AD5592). Szybkie uruchomienie jest możliwe za pomocą oprogramowania AD5593R Evaluation Software.

Jako interfejs USB służy pokazana na fotografii 3 płytka SDP-CB1Z. Jest to wprowadzona przez Analog Devices platforma uruchomieniowa (uniwersalny programator) oparta o procesor Blackfin ADSP-BF527. Moduł dysponuje interfejsami SPI, SPORT, TWI, I²C, PPI oraz równoległym, zapewniającym spore możliwości łączeniowe i obsługę większości nowych zestawów uruchomieniowych Analoga.

Rysunek 7. Zakładka przetwornika C/A

Rysunek 8. Zakładka GPIO

Po połączeniu płytek EVAL i SDP, zasilania i instalacji oprogramowania (dołączonych na CD do zestawu AD5593R), SDP zgłasza się w Menedżerze Urządzeń jako Analog Devices System Demonstration Platform SDP-8 ( rysunek 4). Po uruchomieniuoprogramowania jest możliwa konfiguracja funkcji każdego z wyprowadzeń (rysunek 5).

Dostęp do poszczególnych bloków, zapis, odczyt i rejestracja danych możliwa jest poprzez zakładki DAC/ADC/GPIO - pokazano je na rysunkach 6...8. Dzięki dobremu wsparciu sprzętowemu jak i programowemu, można zapoznać się z możliwościami układów AD5593 i szybko przejść do tworzenia własnych aplikacji. Przykładowe aplikacje AD5593R zostaną przedstawione w kolejnych artykułach.

Adam Tatuś, EP

Artykuł ukazał się w
Elektronika Praktyczna
wrzesień 2015
DO POBRANIA
Pobierz PDF Download icon
Elektronika Praktyczna Plus lipiec - grudzień 2012

Elektronika Praktyczna Plus

Monograficzne wydania specjalne

Elektronik listopad 2025

Elektronik

Magazyn elektroniki profesjonalnej

Raspberry Pi 2015

Raspberry Pi

Wykorzystaj wszystkie możliwości wyjątkowego minikomputera

Świat Radio listopad - grudzień 2025

Świat Radio

Magazyn krótkofalowców i amatorów CB

Automatyka, Podzespoły, Aplikacje listopad - grudzień 2025

Automatyka, Podzespoły, Aplikacje

Technika i rynek systemów automatyki

Elektronika Praktyczna listopad 2025

Elektronika Praktyczna

Międzynarodowy magazyn elektroników konstruktorów

Elektronika dla Wszystkich grudzień 2025

Elektronika dla Wszystkich

Interesująca elektronika dla pasjonatów