STM32 dla początkujących (i nie tylko). RTC, czyli zegar i kalendarz

STM32 dla początkujących (i nie tylko). RTC, czyli zegar i kalendarz
Pobierz PDF Download icon
Układ zegara RTC stanowi integralną część kontrolerów STM32. Podane informacje i przykłady powinny pomóc w jego zastosowaniu w różnych aplikacjach wymagających odmierzania czasu.

Rysunek 1. Elementy zewnętrzne niezbędne do pracy RTC

W artykule omówiono wybrane zastosowania modułu RTC zaimplementowanego w STM32. Opisano funkcje biblioteczne służące do obsługi RTC oraz Backup Domain. Zaprezentowano przykładowe procedury obsługi służące do odczytu czasu, daty, korekty daty. Na koniec zaprezentowano program demonstracyjny, w którym praktycznie zrealizowano przykładowy zegar.

RTC zastosowania

Najbardziej oczywistym sposobem wykorzystania zegara RTC (Real-time clock) jest budowa różnego typu czasomierzy z kalendarzem i budzikiem, jednak zastosowań może być znacznie więcej. Dołączenie do kontrolera pamięci wymiennej typu karta SD i zapis danych w formacie standardowych plików wymaga podania rzeczywistego czasu i daty ich utworzenia.

Można oczywiście markować te wartości, ale znacznie rozsądniej jest użyć odczytanego z zegara realnego czasu. Za pomocą RTC można też określać i zapamiętywać moment wystąpienia rejestrowanych zdarzeń. W różnego typu sterownikach zegar można wykorzystać do inicjowania akcji w zależności od pory dnia czy daty, do pomiaru czasu itd. Zegar RTC może być użyty do wybudzenia urządzenia zasilanego z baterii z trybu obniżonego poboru mocy.

W dalszej części tekstu skupimy się na podstawowych sposobach wykorzystania RTC do pomiaru czasu. Z kwestiami precyzyjnego strojenia zegara czy jego nietypowego użycia np. do wybudzania systemu można się zapoznać chociażby w notach aplikacyjnych dostępnych na stronach www. st.com powiązanych z konkretnym typem mikrokontrolera.

RTC zasada działania i budowa

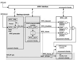
Rysunek 2. Schemat blokowy zegara RTC

Układ RTC do działania potrzebuje źródła precyzyjnych impulsów zegarowych. W mikrokontrolerze STM32 można wykorzystać w tym celu np. wewnętrzne impulsy taktujące, jednak lepiej posłużyć się specjalnym oscylatorem, którego działanie jest podtrzymywane za pomocą dodatkowej baterii litowej.

Na rysunku 1 pokazano dodatkowe elementy zewnętrzne potrzebne do pracy RTC w takiej właśnie konfiguracji. Standardowo stosuje się zewnętrzny oscylator kwarcowy pracujący z częstotliwością 32768 Hz (215 Hz). Bateria litowa o napięciu 3 V bateria podtrzymuje działanie zegara RTC w czasie, gdy zasilanie główne mikrokontrolera jest wyłączone. Gdy napięcie zasilania zostanie załączone, to następuje automatyczne przełączenia RTC z baterii na zasilanie mikrokontrolera. Po przełączeniu pobór prądu z baterii jest minimalny, co przedłuża jej żywotność.

Na rysunku 2 pokazano schemat blokowy zegara RTC stanowiącego integralną część kontrolera. Głównym elementem jest 32 bitowy rejestr RTC_CNT. Rejestr zlicza precyzyjnie odmierzone impulsy czasowe o częstotliwości 1 Hz, czyli o okresie 1 s. Impulsy formowane są w bloku podzielnika RTC prescaler z impulsów zewnętrznego rezonatora kwarcowego 32768 Hz.

Rejestr RTC_CNT współdziała z rejestrem RTC_ALR. Gdy zawartość obydwu jest równa generowany zostaje sygnał alarmu RTC_Alarm. Sygnał alarmu może być źródłem przerwania lub służyć do wybudzenia kontrolera z trybu uśpienia oczywiście o ile jest w tym czasie podłączony do zasilania. Innymi źródłami przerwań mogą być sygnały sekund z podzielnika RTC prescaler i sygnał RTC_Overflow generowany w momencie przepełnienia rejestru RTC_CNT.

Jak to wcześniej napisałem główne bloki zegara są nieprzerwanie zasilane albo napięciem zasilania mikrokontrolera, albo podtrzymywane bateryjnie. Na rys. 2 te bloki zaznaczono ciemniejszym kolorem. Z pozostałymi układami kontrolera zegar RTC komunikuje się poprzez wewnętrzną magistralę APB1. Dokładny opis budowy i omówienie rejestrów układu RTC mikrokontrolera STM32F103 można znaleźć w dokumencie Reference manual (CD00171190.pdf) w sekcji Real-time clock (RTC).

RTC i Backup Domain

Obwody zegara nie są jedynymi, których zawartość jest podtrzymywana bateryjnie w czasie odłączenia napięcia zasilania od kontrolera. W STM32F103 jest wydzielony blok dziesięciu 16-bitowych rejestrów, które razem z układami RTC tworzą tzw. Backup Domain.

Są to rejestry ogólnego przeznaczenia i można je wykorzystać do przechowywania najważniejszych danych, które nie powinny być utracone, gdy mikrokontroler nie jest zasilany. Niektóre z tych dziesięciu rejestrów będą wykorzystane przez przykładowe oprogramowanie zegara z kalendarzem.

Ponieważ zawartość rejestrów z Backup Domain musi być chroniona przed przypadkowym zapisem np. w czasie przełączania napięć zasilania, dostęp do ich zawartości jest nieco bardziej skomplikowany niż do zwykłych rejestrów pamięci RAM kontrolera. Przede wszystkim, po restarcie należy zainicjować dostęp do RTC i rejestrów w Backup Domain. Najwygodniej zrobić to posługując się funkcjami dostarczanymi przez bibliotekę STM32F10x Standard Peripherals Firmware Library.

Funkcje biblioteczne

Przejrzenie funkcji STM32F10x Standard Peripherals Firmware Library związanych z zegarem czasu rzeczywistego jest możliwe po otworzeniu pliku stm32f10x_stdperiph_lib_um.chm i wpisaniu w polu wyszukiwarki skrótu RTC. Po wybraniu opcji STM32F10x Standard Peripherals Library:Footer i potem RTC_Exported_Functions zostanie wyświetlona lista dostępnych funkcji.

Na szczególna uwagę zasługują RTC_GetCounter() i RTC_SetCounter() pozwalające na odczyt i zapis rejestru zegara RTC_CNT. Funkcja RTC_SetAlarm() pozwala zapisać nową wartość do rejestru alarmu RTC_Alarm. Istotne są także dwie ostatnie funkcje na liście: RTC_WaitForLastTask() - czuwająca nad prawidłowym zakończeniem kolejnej operacji związanej z dostępem do rejestrów RTC oraz RTC_WaitForSynchro() -synchronizująca przepływ danych pomiędzy blokami RTC a magistralą APB1.

W podobny sposób można podejrzeć funkcje związane z rejestrami z Backup Domain. W pasku wyszukiwarki należy wpisać BKP. Z wyświetlonej listy najbardziej interesujące są funkcje BKP_ReadBackupRegister() i BKP_WriteBackupRegister(). Dzięki nim jest ułatwiony odczyt i zapis 16-bitowej danej do wybranego rejestru z Backup Domain.

Inicjowanie RTC

Listing 1. Inicjowanie zegara czasu rzeczywistego

W czasie wyłączenia głównego zasilania zegar RTC jest podtrzymywany przez baterię jednak po restarcie należy każdorazowo zainicjować dostęp do jego rejestrów. Inicjacja jest szczególnie potrzebna po każdorazowym odłączeniu i dołączeniu baterii. Jeżeli w tym czasie główne zasilanie kontrolera także było odłączone wszystkie rejestry w Backup Domain zostaną wyzerowane, a oscylator kwarcowy 32768 Hz zatrzymany. Procedura inicjowania może wyglądać, jak na listingu 1.

Najpierw do Backup Domain jest dołączany wewnętrzny zegar i uruchamiana komenda zezwalająca na dostęp do rejestrów. Dołączany i uruchamiany jest zewnętrzny oscylator 32768 Hz i oprogramowanie oczekuje aż jego działanie się ustabilizuje. Następnie ustawiany jest preskaler tak aby na jego wyjściu pojawiał się sygnał o okresie 1s.

Dodatkowo w procedurze inicjacji może być ustawiane zezwolenie na przerwanie wywoływane przez alarm RTC. Zezwolenie na przerwanie wywoływane przez impulsy sekund RTC_ITConfig(RTC_IT_SEC, ENABLE) jest wyłączone (odpowiednia linia listingu jest opatrzona komentarzem). Po zakończeniu procedury inicjacji zegar RTC działa, możliwy jest także dostęp do jego rejestrów i rejestrów w Backup Domain.

Oprogramowanie przykładowe

Wykorzystanie wewnętrznego zegara RTC do stworzenia zegara z kalendarzem i alarmem wymaga napisania trochę dodatkowego własnego oprogramowania. Przykład PanEduSTM32F_Demo1_RTC pokazuje jak można to zrobić wykorzystując Panel Edukacyjny. Możliwości programu demonstracyjnego są następujące:

  • Wyświetlanie czasu: godzin, minut sekund i daty: dnia, miesiąca, 2 ostatnich cyfr roku.
  • Ręczne ustawianie i korygowanie czasu i daty.
  • Programowanie alarmu w trybie 24-godzinnym.

Do prawidłowego działania program wymaga:

  • Włożenia baterii 3 V do gniazda na Panelu Edukacyjnym.
  • Założenie zworek JP5 i JP3.
  • Włożenie wyświetlacza LCD 2×16 znaków do gniazda J5.

Do obsługi jest używanych 5 przycisków klawiatury multipleksowanej Panelu Edukacyjnego:

  • S1 i S2 służą do przesuwu kursora w poziomie. Kończenie niektórych funkcji wymaga wyjścia kursora poza wyświetlacz.
  • S5 i S8 służą do przesuwu kursora w pionie. Kończenie niektórych funkcji wymaga wyjścia kursora poza wyświetlacz.
  • S12 służy do inicjowania funkcji ustawiania parametrów zegara oraz kalendarza i akceptowania trybu alarmu.

Oprogramowanie zostało zaadaptowane z opublikowanego wcześniej w EP projektu zegara-minutnika. Ponieważ chodziło o zademonstrowanie sposobów użycia zegara RTC niektóre funkcje wcześniejszego projektu zostały usunięte, a niepotrzebne fragmenty kodu opatrzone komentarzem. Obsługę modułu zegara RTC uproszczono dla zwrócenia uwagi na najważniejsze funkcje.

Podstawowe procedury związane z dostępem do zegara RTC znajdują się w plikach Procedury_RTC.c i Procedury_RTC.h. W plikach Funkcje_Zegara.c, Funkcje_Alarmu.c i Funkcje_Alarmu_Odliczanie.c umieszczono kod odpowiedzialny za działanie zegara, kalendarza i alarmu. Procedury z tych plików odwołują się do podstawowych procedur z pliku Procedury_RTC.c.

Dla łatwiejszego zrozumienia zasady działania przykładowego programu najpierw zajmiemy się procedurami podstawowymi. Najpierw odczytem bieżącego czasu.

Odczyt bieżącego czasu z RTC

Listing 2. Odczytanie czasu z zegara RTC

Procedura RTC_Odczyt_czasu() odczytuje zawartość licznika RTC_CNT i zamienia ją na ilość sekund, minut i godzin, które upłynęły od początku doby (listing 2). Procedura używa struktury s_TimeStructVar do przechowywania skonwertowanej liczby sekund odczytanej z rejestru RTC_CNT na liczbę dziesiątek i jednostek godzin, minut i sekund, które upłynęły od początku doby, czyli godziny 00:00:00. Dodatkowo, w buforze wskazywanym przez *p_buf jest umieszczany łańcuch z informacją o odczytanym czasie przygotowany do wyświetlenia na wyświetlaczu LCD.

Odczyt bieżącej daty

Listing 3. Inicjowanie kalendarza

Odczyt bieżącej daty realizuje procedura Kalendarz_Inicjacja(). Bieżąca data pamiętana jest w jednym z rejestrów Backup Domain czyli BKP_REJESTR_KALENDARZA. Dla zaoszczędzenia miejsca numery bieżącego roku, miesiąca i dnia są zapisane na kolejnych bitach i rozwijane przez procedurę zamieszczoną na listingu 3.

Do przechowywania odczytanej daty jest wykorzystywana struktura s_DateStructVar. Po odczycie inna procedura RTC_Odczyt_Daty() formatuje odczytaną datę w łańcuch przygotowany do wyświetlenia na wyświetlaczu LCD. Funkcję odwrotną wykonuje procedura Kalendarz_kompresja(), która zwija zapisaną w strukturze datę do rozmiarów 16-bitowego rejestru i zapisuje w BKP_REJESTR_KALENDARZA.

Aktualizowanie daty

Listing 4. Korygowanie daty

Po upływie doby następuje aktualizacja kalendarza, zajmuje się tym procedura CheckForDaysElapsed(). Pokazano ją na listingu 4.

Najpierw sprawdza ona czy wartość rejestru RTC_CNT jest większa niż SECONDS_IN_DAY (86400). Jest to liczba sekund odliczanych w czasie 24 godzin. Jeżeli odczytana wartość przekracza SECONDS_IN_DAY w pętli jest wywoływana procedura korekty daty, czyli doliczenia kolejnego dnia.

Na zakończenie, do RTC_CNT jest wpisywana liczba sekund, która upłynęła od początku bieżącej doby. Procedura prawidłowo skoryguje datę zarówno wywołana o północy jak i o dowolnej porze dnia nawet po kilkudniowym wyłączeniu głównego zasilania kontrolera.

Korekta daty

Listing 5. Aktualizowanie daty po upływie dnia

Ze względu na skomplikowaną strukturę kalendarza (różna liczba dni zależnie od miesiąca a nawet roku) aktualizacja daty nie może po prostu doliczać kolejnego dnia, ale musi uwzględniać wspomniane komplikacje. Dla tego doliczaniem zajmuje się wyspecjalizowana procedura DateUpdate(). Pokazano ją na listingu 5. Zależnie od sytuacji procesdura:

  • Dolicza kolejny dzień miesiąca.
  • Zmienia numer miesiąca na kolejny.
  • Zmienia numer roku na kolejny.
  • Dodatkowo, jest wywoływana procedura pomocnicza CheckLeap() umożliwiająca wykrycie roku przestępnego i prawidłową korektę daty w lutym.

Program demo: wszystko razem

Po zerowaniu program najpierw inicjuje poszczególne układy w tym zegar RTC. Następnie sprawdza, w jakim stanie znajdował się w momencie wyłączenia zasilania: normalnego wyświetlania czasu i daty czy odliczania czasu pozostałego do alarmu.

Zależnie od tego następuje wyświetlenie winiety powitalnej albo natychmiastowe przejście do wyświetlania czasu pozostałego do alarmu. Następnie następuje działanie programu w trybie automatu stanu. Zależnie od bieżącego stanu procedura Automat_Stanu_Urzadzenia() wywołuje odpowiednie procedury.

Jeżeli zegar znajduje się w trybie wyświetlania czasu i daty, to co pewien czas wywoływane są procedury aktualizacji czasu i daty. Jeżeli zegar znajduje się w trybie zaprogramowanego alarmu zamiast bieżącej daty i godziny wyświetlany jest czas pozostały do alarmu. Po wystąpieniu alarmu następuje powrót do normalnego wyświetlania czasu i daty.

Ryszard Szymaniak, EP

Artykuł ukazał się w
Elektronika Praktyczna
luty 2015
DO POBRANIA
Pobierz PDF Download icon
Elektronika Praktyczna Plus lipiec - grudzień 2012

Elektronika Praktyczna Plus

Monograficzne wydania specjalne

Elektronik listopad 2025

Elektronik

Magazyn elektroniki profesjonalnej

Raspberry Pi 2015

Raspberry Pi

Wykorzystaj wszystkie możliwości wyjątkowego minikomputera

Świat Radio listopad - grudzień 2025

Świat Radio

Magazyn krótkofalowców i amatorów CB

Automatyka, Podzespoły, Aplikacje listopad - grudzień 2025

Automatyka, Podzespoły, Aplikacje

Technika i rynek systemów automatyki

Elektronika Praktyczna listopad 2025

Elektronika Praktyczna

Międzynarodowy magazyn elektroników konstruktorów

Elektronika dla Wszystkich grudzień 2025

Elektronika dla Wszystkich

Interesująca elektronika dla pasjonatów