Sterownik wyświetlacza graficznego LCD typu EG2801S

Sterownik wyświetlacza graficznego LCD typu EG2801S
Pobierz PDF Download icon
Wyświetlacze graficzne LCD bez wbudowanego układu kontrolera mają dość złożony sposób sterowania, zmuszającym zazwyczaj konstruktorów do sięgania po specjalizowane układy scalone sterowników LCD. Jak jednak pokazuje praktyka, obsługa takich wyświetlaczy jest także możliwa bezpośrednio przez mikrokontroler, bez konieczności stosowania raczej trudno dostępnych kontrolerów graficznych typu S1D13xxx. Przykład takiego rozwiązania był już prezentowany na łamach Elektroniki Praktycznej. Artykuł przedstawia kolejny sposób dołączenia do mikrokontrolera typu STM32F107 graficznego wyświetlacza LCD bez wbudowanego układu kontrolera.

Fotografia 1. Wyświetlacz graficzny LCD typu EG2801S-AR firmy EPSON

Pokazany na fotografii 1 moduł typu EG2801S-AR firmy EPSON jest monochromatycznym, graficznym wyświetlaczem LCD o rozdzielczości ekranu 512×64 piksele. Należy on do rodziny wyświetlaczy LCD, które nie są wyposażone w układ kontrolera, a jedynie w drajwery wierszy i kolumn.

Zwykle wyświetlacze tego typu mają wbudowany jeden układ scalony sterownika wierszy i od jednego do kilkunastu połączonych szeregowo scalonych układów sterowników kolumn. Przykładowe modele wyświetlaczy tego typu umieszczono na wykazie w tabeli 1.

Wyświetlacz EG2801S-AR jest wyposażony w jeden układ sterownika wierszy SED1190F i 8 układów sterowników kolumn SED1180F. Interesujący może być fakt, iż moduł EG4401SAR o rozdzielczości 256×128 pikseli ma taki sam schemat elektryczny.

Różnica w budowie obu wyświetlaczy polega jedynie na tym, iż w module EG2801S cały łańcuch 8 układów SED1180F steruje jedną linią w panelu LCD, natomiast w module EG4401S pierwsze 4 układy SED1180F z łańcucha sterują linią w górnej połówce ekranu, podczas gdy kolejne 4 układy z łańcucha sterują linią w dolnej połówce ekranu. Odmianą modułu EG2801S-AR jest także wyświetlacz firmy EPSON typu ECM-A0083. W zasadzie jest to moduł EG2801S-AR z zainstalowanym podświetleniem powierzchni ekranu za pomocą folii EL.

Tabela 1. Moduły graficznych wyświetlaczy LCD firmy EPSON rodziny EGxxxS o współczynniku multipleksowania 1/64

Wszystkie sygnały sterujące układów SED1180F i SED1190F oraz linie zasilania są wyprowadzone w wyświetlaczu EG2801SAR na 14-pinowe złącze krawędziowe GoldPin o rastrze 2,54 mm. Rozmieszczenie wyprowadzeń opisuje tabela 2.

Sekwencje sygnałów sterujących modułem EG2801S przedstawia rysunek 2. Dane do wyświetlacza są wpisywane synchronicznie w takt sygnału zegara danych XSCL. Zapis danych jest wykonywany opadającym zboczem tego sygnału. W jednym takcie zegara wpisywane są stany czterech kolejnych punktów w linii Cx, Cx+1, Cx+2, Cx+3 (gdzie x=1, 5, 9, ..61), odpowiadające odpowiednio bitom b3, b2, b1 i b0.

Tabela2. Rozmieszczenie wyprowadzeń wyświetlacza EG2801S i ich funkcje

Ustawiony bit odpowiada zapalonemu pikselowi. Po każdym 16- tym impulsie sygnału zegara danych XSCL opadające zbocze na linii XECL aktywuje odbiór danych w kolejnym układzie sterownika kolumn SED1180F w łańcuchu, w wyniku czego następne 16 słów danych (czyli stany 64 pikseli) jest zapisywane w tym układzie.

Po zapisie zawartości całej linii obrazu, co w przypadku wyświetlacza EG2801S zajmuje 128 takty zegara XSCL, opadające zbocze na linii LP zatrzaskuje w sterownikach kolumn wpisane dane. Od tego momentu rozpoczyna się ich wyświetlanie, a do rejestrów przesuwnych sterowników kolumn SED1180F wpisywana jest zawartość kolejnej linii obrazu, po czym cały cykl się powtarza. Obraz jest wyświetlany dynamicznie, linia po linii.

Listing 1. Funkcja konfigurująca układy mikrokontrolera STM32 do obsługi wyświetlacza EG2801S

Wybór kolejnych wyświetlanych linii obrazu jest realizowany przez układ sterownika wierszy SED1190F. Podczas trwania pierwszej linii obrazu na wejście DIN sterownika jest podawany stan wysoki, który jest zapisywany opadającym zboczem sygnału zegara wierszy YSCL. W tym momencie jest aktywowane wyświetlanie pierwszej linii obrazu.

Kolejne impulsy zegara YSCL powodują przesuwanie tego stanu na następne wyjścia układu i tym samym wyświetlanie kolejnych linii obrazu. Aby obraz był stabilny, przełączanie wierszy musi się odbywać synchronicznie z zapisem do sterowników kolumn wyświetlanych danych, a więc tuż przed sygnałem LP zapisu linii. Standardowa częstotliwość odświeżania obrazu dla wyświetlacza EG2801S wynosi 60 obrazów na sekundę [1.], co przekłada się na częstotliwości sygnałów zegarowych YSCL i XSCL odpowiednio równe: 3840 Hz i 491520 Hz.

Oprócz sygnałów sterujących wpisywaniem do wyświetlacza danych i wybieraniem kolejnych wyświetlanych linii obrazu, moduł EG2801S wymaga dodatkowego sygnału kontrolnego FR. Sygnał ten zmienia swój stan na przeciwny na początku każdego pola obrazu i jest wykorzystywany przez sterowniki wierszy i kolumn do generowania napięć sterujących panelem LCD o zerowej składowej stałej.

Jak więc widać, sterowanie wyświetlaczem EG2801S jest dość złożone. Problem stanowi zarówno liczba sygnałów sterujących jak i ich wzajemne zależności czasowe. Z tego też powodu do obsługi wyświetlaczy graficznych LCD firma EPSON opracowała specjalizowane układy sterowników, np. E-1330. Jednak w przeciwieństwie do samych wyświetlaczy, układy te są mało popularne i trudno dostępne.

Okazuje się jednak, że wyświetlacz EG2801S może być sterowany bezpośrednio przez mikrokontroler rodziny STM32, bez potrzeby używania specjalizowanego układu sterownika LCD. Co więcej, taka obsługa wyświetlacza LCD może być zrealizowana w mikrokontrolerze w sposób całkowicie sprzętowy, nie obciążający jednostki centralnej.

Sterownik wyświetlacza na bazie mikrokontrolera STM32

Rysunek 2. Przebiegi sterujące wyświetlaczem EG2801S-AR (Cx - numer kolumny, Wy - numer wiersza)

Mikrokontrolery STM32 nie są wyposażone w układ sterownika wyświetlaczy graficznych LCD, który pozwalałby na bezpośrednią obsługę modułu EG2801S. Tym niemniej taki sterownik może zostać zrealizowany na bazie układów peryferyjnych mikrokontrolera. Przykład implementacji podobnego sterownika dla wyświetlacza typu EG9018S był już opisany w Elektronice Praktycznej [2].

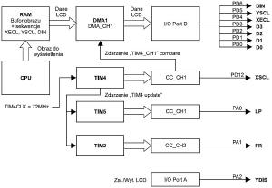
Tamten wyświetlacz ma jednak znacznie prostsze sterowanie w porównaniu z modułem EG2801S, przez co jego sterownik nie może być użyty do obsługi wyświetlacza EG2801S. Przedstawiony w artykule sterownik modułu EG2801S stanowi zmodyfikowaną wersję wspomnianego wcześniej układu, zapewniającą generowanie wszystkich koniecznych sygnałów sterujących wyświetlaczem EG2801S. Schemat blokowy układu przedstawia rysunek 3.

Sterownik wyświetlacza EG2801S jest zbudowany z trzech układów czasowo-licznikowych TIM4, TIM5 i TIM2 oraz układu DMA1. Timer TIM4 pracuje jako generator sygnału zegara danych XSCL. Układ ten jest taktowany niepodzielonym sygnałem zegarowym magistrali APB1 i odmierza okres sygnału XSCL. Kanał CH1 tego timera pracuje w trybie PWM generując na swoim wyjściu przebieg prostokątny o wypełnieniu 50%, którego opadające zbocze występuje w połowie okresu zliczania TIM4. Sygnał ten jest doprowadzony do modułu LCD jako zegar danych XSCL.

Rysunek 3. Schemat blokowy sterownika wyświetlacza EG2801S-AR zbudowanego na bazie układów peryferyjnych mikrokontrolera STM32

Zdarzenie przeładowania licznika TIM4 (tj. TIM4 update event) taktuje układy czasowo- licznikowe TIM5 i TIM2, dzięki czemu generowane przez nie sygnały są zsynchronizowane z sygnałem zegara danych XSCL. Timer TIM5 odmierza czas trwania jednej linii obrazu, wynoszący w przypadku modułu EG2801S 128 takty zegara XSCL.

Analogicznie to timera TIM4, kanał CH1 układu TIM5 także pracuje w trybie PWM. Zmienia on stan swego wyjścia z niskiego na wysoki podczas ostatniego taktu zegara XSCL w danej linii, generując tym samym dla wyświetlacza LCD impuls LP zapisu zawartości linii obrazu.

Układ czasowo-licznikowy TIM2 realizuje z kolei syntezę sygnału FR. W tym celu timer TIM2 odmierza czas trwania dwóch pełnych pól obrazu, co w przypadku wyświetlacza EG2801S trwa 16384 takty zegara XSCL. Kanał CH2 tego timera pracuje w trybie PWM generując przebieg prostokątny o wypełnieniu 50%, zmieniający swój stan na przeciwny podczas każdego pola obrazu.

Fotografia 4. Układ testowy, który posłużył do opracowania sterownika wyświetlacza EG2801S-AR (tutaj z podłączonym modułem typu ECM-A0083)

Sekwencje pozostałych sygnałów sterujących wyświetlaczem LCD, tj.: zegar wyboru drivera kolumn XECL, zegar wierszy YSCL, znacznik początku pola obrazu DIN, są zapisane w pamięci RAM w buforze obrazu razem z danymi do wyświetlenia. Sekwencje przebiegów XECL, YSCL i DIN są zapisane odpowiednio na bitach nr b4, b5 i b6, podczas, gdy dane obrazu są zapisane na bitach b3...b0.

Przesyłanie danych z bufora obrazu do portów I/O PD6..PD0 mikrokontrolera realizuje kanał 1 kontrolera DMA1, pracującego w trybie kołowym z postinkrementacją adresu pamięci. Transmisja danych jest inicjowana przez zdarzenie porównania z kanału CH1 timera TIM4 (tj. TIM4_CH1 compare event). Ma ono miejsce w połowie okresu zliczania układu TIM4, tj. w momencie opadającego zbocza sygnału zegara XSCL.

W odpowiedzi na to zdarzenie kontroler DMA1 przesyła jeden bajt z pamięci bufora obrazu do rejestru wyjściowego ODR portu PD. Przy częstotliwości sygnału zegara magistrali AHB równej 72 MHz, transmisja ta zajmuje ok. 120...160 ns. Takie jest też opóźnienie zboczy sygnałów XECL, YSCL i DIN w stosunku do zbocza opadającego sygnału zegara XSCL.

Ostatni z sygnałów kontrolnych wyświetlacza EG2801S, tj. YDIS sterujący załączaniem i wyłączaniem modułu LCD, jest uzyskiwany w drodze programowej obsługi linii nr 2 portu PA.

Realizacja praktyczna sterownika

Listing 2. Funkcja inicjalizująca bufor obrazu

Model sterownika został wykonany na bazie zestawu uruchomieniowego STM32 Butterfly, wyposażonego w mikrokontroler STM32F107 (fotografia 4). Schemat połączeń modułu wyświetlacza EG2801S z płytką STM32 Butterfly pokazano na rysunku 5. Wyświetlacz LCD jest bezpośrednio dołączony do portów mikrokontrolera. Co prawda, moduł EG2801S jest przeznaczony do sterowania sygnałami logicznymi w standardzie 5V, jednak jak wykazały próby z egzemplarzem wyświetlacza typu EG2801S-AR oraz typu ECM-A0083, sterowanie tych modułów sygnałami o poziomie +3,3V działa poprawnie.

Linia YDIS sterująca załączaniem / wyłączaniem modułu EG2801S jest dodatkowo spolaryzowana rezystorem R1 do masy. Dzięki temu podczas restartu mikrokontrolera, jak również podczas jego programowania, linia YDIS znajduje się w stanie niskim, wymuszając tym samym wyłączenie modułu wyświetlacza, co zabezpiecza panel LCD przed uszkodzeniem wskutek pojawienia się na nim napięcia o niezerowej składowej stałej.

Sytuacja taka może mieć miejsce przy braku sygnałów sterujących wyświetlaczem LCD. Układ zabezpieczający wykorzystuje fakt, iż podczas restartu mikrokontrolera wszystkie jego porty I/O, w tym linia PA2, są konfigurowane jako niespolaryzowane wejścia. O poziomie napięcia w linii YDIS decyduje w takich warunkach rezystor R1.

Do generacji ujemnego napięcia VLCD, koniecznego do polaryzacji panelu LCD, wykorzystano pompę ładunkową z układu MAX232. W temperaturze pokojowej optymalny kontrast obrazu uzyskano przy napięciu na wejściu VLCD równym -7V, natomiast obraz całkowicie znikał / był całkowicie zaczerniony przy napięciu na wejściu VLCD odpowiednio równym -6V i -9V.

Poziom napięcia ujemnego dostarczanego przez układ MAX232 okazał się w warunkach modelowych zupełnie wystarczający. Należy jednak mieć na uwadze, iż nie jest to regułą i w innych warunkach może być konieczny znacznie szerszy zakres regulacji napięcia VLCD. Podawany przez producenta wyświetlacza EG2801S zakres regulacji napięcia polaryzacji panelu LCD zawiera się w granicach -4...-17V [1]

Oprogramowanie

Rysunek 5. Schemat podłączenia wyświetlacza EG2801S do zestawu uruchomieniowego STM32 Butterfly

Kod źródłowy funkcji LCD_Init() konfigurującej układy peryferyjne mikrokontrolera STM32F107 do pracy jako sterownik wyświetlacza EG2801S zamieszczono na listingu 1. Programowanie poszczególnych układów nie różni się w sposób znaczący od konfiguracji peryferii mikrokontrolera STM32, szczegółowo opisanej przy okazji omawiania konstrukcji sterownika dla wyświetlacza EG9018C.

Z tego też względu osoby zainteresowane szczegółami programowania poszczególnych układów peryferyjnych powinny sięgnąć do tamtego artykułu. Jedyną nowością w stosunku do sterownika EG9018C jest wywołanie funkcji LCD_InitFrameBuffer() ( listing 2). Jej zadanie jest dwojakie. Po pierwsze, czyści ona pamięć obrazu, zapisując na pozycjach bitowych b3..b0 wartości zerowe.

Listing 3. Funkcje realizujące zaświecanie i gaszenie piksela

Po drugie, funkcja ta zapisuje w buforze obrazu sekwencje sygnałów XECL, YSCL i DIN sterujących wyświetlaczem. W przypadku sygnału XECL inicjalizacja polega na ustawieniu bitu b4 w każdym 16-tym bajcie w buforze obrazu, co odpowiada wygenerowaniu dodatniego impulsu na linii XECL podczas każdego 16-tego impulsu zegara XSCL.

Z kolei w przypadku sygnału YSCL funkcja inicjalizacji bufora obrazu ustawia bit b5 w każdym ostatnim słowie danych należącym do danej linii obrazu, co odpowiada wygenerowaniu dodatniego impulsu na linii YSCL razem z impulsem LP zapisu danych w tej linii. Wreszcie w przypadku sygnału DIN, inicjalizacja bufora obrazu polega na ustawieniu bitu b6 w ostatnim bajcie pierwszej linii i pierwszym bajcie drugiej linii, w wyniku czego na linii DIN pojawia się stan wysoki podczas pierwszego opadającego zbocza zegara YSCL w danym polu obrazu.

Fotografia 6. Efekty pracy programu demonstracyjnego "Life": a) ekran startowy, b) jeden z kroków symulacji, c) koniec symulacji

Skonfigurowany sterownik wyświetlacza LCD nie wymaga dalszej uwagi ze strony jednostki centralnej. Generacja sygnałów sterujących wyświetlaczem oraz przesyłanie do niego danych do wyświetlenia są realizowane w tle. Z poziomu programu użytkownika obsługa wyświetlacza ogranicza się do operacji wykonywanych na pamięci bufora obrazu. Zapalenie na wyświetlaczu piksela wymaga ustawienia w buforze obrazu bitu odpowiadającego temu punktowi, natomiast zgaszenie piksela - skasowania tego bitu. Kody funkcji realizujących obie operacje przedstawia listing 3.

Same funkcje sterowania pojedynczym pikselem nie są zazwyczaj wywoływane w programie użytkownika bezpośrednio, lecz służą do budowy funkcji wyższej warstwy, np. rysujących odcinki, figury geometryczne, czy też wyświetlających mapy bitowe. Nie inaczej jest w przypadku sterownika wyświetlacza EG2801S.

Znajdujący się w dołączonych do artykułu materiałach moduł programowy lcd_EG2201_4801.c, poza funkcją LCD_Init(), zawiera także podstawowe funkcje rysowania odcinków, prostokątów, okręgów, map bitowych oraz tekstów. Są to te same funkcje, które zostały stworzone na potrzeby wspomnianego wcześniej sterownika wyświetlacza EG9018C. Ich dokładniejsze omówienie można znaleźć w artykule opisującym ten sterownik.

W celu demonstracji działania omówionego w artykule sterownika wyświetlacza EG2801S, został opracowany prosty program realizujący dobrze wszystkim znaną grę w życie. Algorytm programu implementuje oryginalne reguły zdefiniowane przez autora tej gry, brytyjskiego matematyka Johna Conwaya [3]. Efekty działania programu pokazano na fotografii 6.

Podsumowanie

Opisany sterownik wyświetlacza LCD został praktycznie przetestowany z modułami typu EG2801S-AR oraz ECM-A0083, jednak powinien on również działać z innymi wyświetlaczami LCD o takiej samej konstrukcji. Łatwo je rozpoznać po zamontowanych na obwodzie drukowanym wyświetlacza układach sterowników wierszy SED1190F i sterowników kolumn SED1180F. Deklaracje w pliku nagłówkowym lcd_EG2201_4801.h umożliwiają przystosowanie sterownika do obsługi każdego z typów wyświetlaczy wymienionych w tabeli 1, bez konieczności dokonywania jakichkolwiek zmian w kodzie programu.

Ponieważ zaprezentowany sterownik realizuje bezpośrednie sterowanie drajwerami kolumn i wierszy panelu LCD, umożliwia on zaimplementowanie funkcji nieprzewidzianej oryginalnie przez producenta wyświetlacza, a mianowicie uzyskanie na wyświetlaczu dodatkowego stopnia szarości. W tym celu należy powiększyć dwukrotnie rozmiar bufora obrazu, tak aby obejmował on dwa kolejne obrazy.

Dodatkowy stopień szarości jest uzyskiwany w takiej konfiguracji przez odpowiednie kodowanie stanu piksela w obu obrazach. Jeżeli w obu obrazach dany piksel będzie wyzerowany, to będzie on zgaszony. Z kolei, jeżeli w obu obrazach piksel będzie ustawiony, to będzie on zaświecony. Natomiast w przypadku kombinacji stanu piksela w obu obrazach równej 10 lub 01 uzyskany zostanie półton.

W powyższej konfiguracji bufora obrazu możliwe jest też zrezygnowanie z generowania sygnału kontrolnego FR przez układ czasowo- licznikowy TIM2 i zapisanie sekwencji tego sygnału w buforze obrazu na pozycji nieużywanego obecnie bitu b7. Bit ten powinien być równy 0 we wszystkich słowach danych pierwszego obrazu i być ustawiony we wszystkich słowach danych drugiego obrazu.

Aleksander Borysiuk
alex_priv@wp.pl

Bibliografia
[1] Specifications for 1/64 Multiplexing LCD Module EG2201S-AR (128 x 64 dots), EG2401S-AR (256 x 64 dots), EG2801SAR (512 x 64 dots), EG4401S-AR (256 x 128 dots), EG4801S-AR (512 x 128 dots), informacje techniczne firmy Seiko Epson Corporation
[2] Aleksander Borysiuk, Sterownik graficznego wyświetlacza LCD 8,4" typu EG9018C z mikrokontrolera STM32, Elektronika Praktyczna 11/2013
[3] Gra w życie, http://pl.wikipedia.org/wiki/ Gra_w_życie

Artykuł ukazał się w
Elektronika Praktyczna
lipiec 2014
DO POBRANIA
Pobierz PDF Download icon
Elektronika Praktyczna Plus lipiec - grudzień 2012

Elektronika Praktyczna Plus

Monograficzne wydania specjalne

Elektronik listopad 2025

Elektronik

Magazyn elektroniki profesjonalnej

Raspberry Pi 2015

Raspberry Pi

Wykorzystaj wszystkie możliwości wyjątkowego minikomputera

Świat Radio listopad - grudzień 2025

Świat Radio

Magazyn krótkofalowców i amatorów CB

Automatyka, Podzespoły, Aplikacje listopad - grudzień 2025

Automatyka, Podzespoły, Aplikacje

Technika i rynek systemów automatyki

Elektronika Praktyczna listopad 2025

Elektronika Praktyczna

Międzynarodowy magazyn elektroników konstruktorów

Elektronika dla Wszystkich grudzień 2025

Elektronika dla Wszystkich

Interesująca elektronika dla pasjonatów