Internet Rzeczy w pomiarach środowiskowych (3). Moduł czujników środowiska SEN5x firmy Sensirion

Internet Rzeczy w pomiarach środowiskowych (3). Moduł czujników środowiska SEN5x firmy Sensirion

Moduł czujników środowiska SEN5x firmy Sensirion to platforma sensoryczna przeznaczona do dokładnego pomiaru różnych parametrów środowiskowych, takich jak cząstki stałe, lotne związki organiczne (LZO), tlenki azotu (NOx), a także wilgotność i temperatura powietrza. Dzięki autorskim algorytmom moduł umożliwia łatwą integrację z różnymi aplikacjami. Dane pomiarowe są w pełni skalibrowane.

Warunki środowiskowe mają ogromny wpływ na nasze samopoczucie, komfort i produktywność. Rozwiązania czujnikowe firmy Sensirion dostarczają szczegółowych i wiarygodnych danych na temat kluczowych parametrów środowiskowych, takich jak wilgotność, temperatura, lotne związki organiczne (VOC, Volatile Organic Compounds), cząstki stałe (PM2,5), formaldehyd, NOx i CO2. Monitorowanie środowiska otwiera nowe możliwości tworzenia inteligentniejszych urządzeń, które poprawiają nasz komfort i samopoczucie, a także zwiększają efektywność energetyczną w szerokiej gamie zastosowań.

Rodzina modułów SEN5x składa się z czujników identycznych pod względem wymiarowym, układowym i interfejsowym, ale różniących się liczbą informacji wyjściowych. SEN50 wykonuje tylko pomiar cząstek stałych. SEN54 realizuje pomiary stężenia cząstek stałych, VOC, wilgotności i temperatury. SEN55 mierzy dodatkowo stężenie NOx. Konstrukcja modułów jest wynikiem rozległego doświadczenia firmy Sensirion w zakresie badania środowiska i oferuje najlepszą możliwą wydajność pomiarową, wyjątkową trwałość, a także kompaktową obudowę. Czujniki SEN5x dostarczają w pełni skalibrowane dane za pomocą interfejsu cyfrowego. Zastrzeżone algorytmy umożliwiają prostą integrację z aplikacjami HVAC i urządzeniami do pomiaru jakości powietrza.

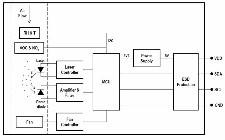
Schemat blokowy modułu czujników środowiska SEN55 został pokazany na rysunku 1 [2]. W module zintegrowane zostały rozwiązania z czujnika pyłów typu SPS30, opisanego w artykule „Czujnik pomiaru pyłów SPS30 firmy Sensirion” [9].

Rysunek 1. Schemat blokowy modułu czujników środowiska SEN55 [2]

Szersze omówienie czujników pyłów Czytelnicy znajdą natomiast w artykule „Cyfrowe czujniki pyłów” [7]. Drugie zastosowane w module rozwiązanie pomiarowe to czujnik VOC typu SGP41. Szerszy opis czujników gazu znalazł się w artykule „Cyfrowe czujniki gazu” [8].

Parametry modułu SEN55 [1]:

  • Pomiar pyłów (PM)
    • Dokładność pomiaru masowego: ±10%
    • Zakres pomiaru masowego: 0...1000 μg/m³
    • Czas pracy: > 10 lat
    • Rozmiary cząstek: PM1,0, PM2,5, PM4, PM10
  • Temperatura (T)
    • Dokładność: 0,45°C
    • Zakres: –10...+50°C
    • Czas odpowiedzi (τ63%): < 60 s
  • Wilgotność względna (RH)
    • Dokładność: 4,5% RH
    • Zakres: 0…90% RH
    • Czas odpowiedzi: (τ63%) 20 s
  • Lotne związki organiczne (VOC)
    • Indeks VOC: 0...500
    • Zakres pomiaru (TVOC): 0...1000 ppm
    • Czas odpowiedzi (τ63%): < 10 s
    • Czas detekcji (po włączeniu): < 60 s
    • Czas osiągnięcia pełnej dokładności (po włączeniu): < 1 h
    • Kompensacja wilgotności
  • Parametry ogólne
    • Zasilanie (min./typ./max.): 4,5/5,0/5,5 V
    • Pobór prądu (średni): 63 mA
    • Pobór prądu (szczytowy): 110 mA
    • Interfejs komunikacyjny: I²C
    • Rozmiar (DxSxW): 52,8×43,6×22,3 mm

Pomiar poziomu pyłów (PM)

Materiał w postaci pyłu zawieszonego, w skrócie PM (Particulate Matter), jest mieszaniną unoszących się w powietrzu cząstek stałych i kropelek cieczy, które – wdychane przez człowieka – mogą powodować poważne problemy zdrowotne. Kategoria PM obejmuje cząstki o różnych właściwościach – tj. kształcie, właściwościach optycznych, wielkości i składzie – ale najczęściej dzieli się je na podkategorie na podstawie rozmiaru. Różne kategorie składowych są zwykle określane zgodnie ze wspólną nomenklaturą PM.x, gdzie „x” określa maksymalną średnicę cząstek w ich mieszance w powietrzu lub „aerozolu” [7].

Typowa definicja PM obejmuje cząstki o wielkości od 0,1 do 10 mikrometrów. Najczęściej spotykaną klasyfikacją rozmiarową jest podział na dwie frakcje [2]:

  • PM2,5 – wszystkie aerozole atmosferyczne o wielkości cząstek 2,5 mikrometra lub mniejszej, w skład których wchodzą zwykle stosunkowo reaktywne związki organiczne i nieorganiczne (np. azotan amonu), smog, bakterie, drobny kurz;
  • PM10 – wszystkie cząstki o wielkości 10 mikrometrów lub mniejszej, w skład których wchodzą zwykle stosunkowo obojętne chemicznie związki, takie jak krzemionka i tlenki metali, kurz, pyłki roślinne, zarodniki pleśni.

Cząstki PM10 i PM2,5 są niewidoczne gołym okiem.

Czujniki pyłów firmy Sensirion to optyczne liczniki cząstek w czasie rzeczywistym (OPC) działające w oparciu o rozpraszanie laserowe. Wszystkie OPC kierują zawieszone pyły z otoczenia do komory pomiarowej (zawierającej źródło światła – np. laser – i fotodetektor) wewnątrz urządzenia (rysunek 1). W wyniku interakcji cząstek i fotonów część przychodzącego światła ulega rozproszeniu w kierunku fotodetektora (rysunek 2).

Rysunek 2. Sposób pracy czujnika poziomu pyłów [6]

Zebrany sygnał jest przeliczany na aktualne wartości liczby cząstek i stężenia masowego, podawane odpowiednio w #/cm³ i μg/m³. Chociaż OPC są dość porównywalne pod względem wydajności przy zliczaniu cząstek, algorytm przekształcający zmierzony sygnał na stężenie masowe jest prawdziwym czynnikiem różnicującym wydajność urządzeń dostarczanych przez różnych producentów. Dzieje się tak dlatego, że parametry optyczne pyłów (takie jak współczynnik załamania światła i kształt) mają duży wpływ na oszacowanie masy cząstki. Z tego też względu pośredni pomiar optyczny (laserowy) charakteryzuje się pewną rozbieżnością w porównaniu z dokładniejszymi metodami grawimetrycznymi (opartymi na masie) [7]. Jeśli jednak czujniki PM mają być stosowane w produktach komercyjnych przy rozsądnych kosztach, najwygodniejszą i najbardziej praktyczną implementacją technologii pomiaru okażą się OPC.

VOC – lotne związki organiczne

Gazy redukujące to związki, które reagują z tlenem atmosferycznym katalizowanym na nagrzanych powierzchniach, takich jak warstwa tlenku metalu czujników SGP4x. Przykładami gazów redukujących są wodór (H2), lotne związki organiczne (LZO), tlenek węgla (CO) i metan (CH4). Typowe czujniki VOC typu MOX (jak układy SGP4x) reagują tylko na H2 i LZO.

VOC (lotne związki organiczne) to zbiorcze określenie substancji zawierających wiązania węgiel-wodór, które odparowują w temperaturze pokojowej lub wyższej. Pochodzą one z bardzo różnych źródeł i pod wieloma względami nie zostały dokładnie zdefiniowane. VOC są emitowane przez istoty żywe, źródła naturalne, chemikalia lub procesy spalania. Należy również pamiętać, że ludzie także wydychają gazowy H2, więc typowy czujnik VOC MOX będzie reagował również na wodór, nawet jeśli stężenie VOC jest niskie. Chociaż ludzki nos stanowi doskonały detektor gazów, nie jest w stanie wykryć gazów bezwonnych lub tych, które występują w niskich stężeniach.

NOx – tlenki azotu

NOx to – obok VOC – główne zanieczyszczenia gazowe w pomieszczeniach zamkniętych. Mówiąc najprościej, gazy utleniające to wysoce reaktywne gazy, które dostarczają więcej tlenu do procesów spalania niż zwykłe powietrze.

Najczęstszymi przykładami są tlenki azotu (NOx), ozon (O3) i sam tlen (O2). NOx odnosi się głównie do tlenku azotu (NO) i dwutlenku azotu (NO2), które współistnieją. Ich wysoka reaktywność oznacza, że są niestabilne w kontakcie z powierzchnią. Dlatego też gazów utleniających w pomieszczeniach zamkniętych jest zwykle znacznie mniej w porównaniu z VOC. Jeśli jednak istnieje stałe źródło, stężenia NOx we wnętrzach budynków mogą osiągnąć szkodliwy poziom. Tlenki azotu powstają w wyniku spalania paliw kopalnych i przyczyniają się do zwiększania zanieczyszczeń cząstkami stałymi. Gotowanie na kuchenkach gazowych lub zanieczyszczone powietrze zewnętrzne, dostające się z ruchliwych dróg, wpływa na jakość powietrza w pomieszczeniach. Jednakże tlenki azotu powstają również w wyniku naturalnych procesów atmosferycznych. Związki te – zwłaszcza dwutlenek azotu – podrażniają i uszkadzają układ oddechowy. Podwyższone ich stężenia w powietrzu, którym oddychamy, mają negatywny wpływ na czynność płuc.

Sensirion Gas Index Algorithm

Oprogramowanie Sensirion Gas Index Algorithm wylicza indeks VOC i NOx na podstawie surowych sygnałów wejściowych. Algorytm ten umożliwia niezawodne wykrywanie zmian VOC i NOx przy minimalnych różnicach pomiędzy danymi z różnych czujników. Algorytm opiera się na statystycznej normalizacji wzmocnienia oraz przesunięcia i stale dostosowuje oba parametry, stosując wykładniczo malejącą funkcję wyuczonych parametrów, aby móc dostosować się do zmieniających się warunków środowiskowych. Ważne jest, aby surowe sygnały podawać do odpowiedniego algorytmu ze stałym interwałem próbkowania, który musi pokrywać się z okresem odczytu surowych sygnałów z czujnika. Domyślny interwał próbkowania zastosowany w algorytmie wynosi 1 s. Algorytm oblicza sygnały indeksu VOC i NOx rekurencyjnie na podstawie pojedynczej wartości mierzonej przez czujnik w każdym kroku czasowym, a także aktualizowanych synchronicznie zmiennych stanu. Te stany wewnętrzne to przede wszystkim rekurencyjnie oszacowana średnia i wariancja odpowiedniego sygnału, a także dodatkowe zmienne, takie jak czas pracy urządzenia. Po oszacowaniu stanów algorytm konwertuje surowe sygnały w znacznikach – odpowiednio – na indeks VOC lub NOx i stosuje adaptacyjny filtr dolnoprzepustowy.

Algorytm domyślnie odwzorowuje odczyty VOC na skalę VOC od 1 do 500, gdzie 100 odnosi się do średniego stanu, a wartości NOx są odwzorowywane na skalę NOx od 1 do 500, w której wszystkie wartości powyżej 1 są nieprawidłowe [5].

Tryby pracy modułu czujników środowiska

Moduł czujników SEN5x oferuje trzy różne tryby pracy: uśpienia, pomiaru pełnego i pomiaru RHT/Gas-Only. Po włączeniu moduł SEN5x przechodzi automatycznie w tryb uśpienia. Z tego trybu czujnik można przełączyć w jeden z pozostałych stanów. Rysunek 3 prezentuje tryby pracy modułu SEN5x:

  • Tryb uśpienia
    • Moduł znajduje się w trybie uśpienia po włączeniu zasilania lub zresetowaniu.
    • Większość wewnętrznej elektroniki zostaje wyłączona, co redukuje zużycie energii.
    • Wentylator i laser pozostają wyłączone.
    • Moduł jest gotowy do przyjęcia i realizacji dowolnego polecenia.
  • Tryb pomiaru pełnego
    • Cała elektronika włączona (maksymalny pobór prądu).
    • Pomiar trwa i moduł w sposób ciągły przetwarza dane pomiarowe.
    • Nowe odczyty są dostępne co sekundę.
  • Tryb pomiaru RHT/Gas-Only
    • Wentylator i laser są wyłączone, aby zmniejszyć zużycie energii.
    • RHT i czujnik gazu są włączone. Trwa pomiar RHT oraz gazu, a moduł w sposób ciągły przetwarza dane pomiarowe.
    • Nowe odczyty są dostępne co sekundę.
    • Do trybu pomiaru RHT/Gaz można wejść z trybów uśpienia i pomiaru pełnego.
    • Pomiar pyłu zwraca stałą wartość równą 0xFFFF.
Rysunek 3. Tryby pracy modułu czujników środowiska SEN5x [2]

W trybie pomiaru SEN5x dostarcza nowe dane z interwałem próbkowania wynoszącym jedną sekundę. W niektórych zastosowaniach podawanie wartości PM z taką częstotliwością nie jest konieczne, warto więc wtedy przełączyć moduł w tryb RHT/Gas-Only, w którym wentylator i laser są wyłączone, ale włączone pozostają czujniki VOC, NOx i RHT (jeśli występują w rozważanym wariancie urządzenia). W przypadku SEN50 tryb obniżonego poboru mocy uzyskuje się, przełączając pomiędzy trybem pomiarowym a trybem uśpienia.

Skrócenie czasu pomiaru PM pozwala znacznie zaoszczędzić zużycie energii. Kiedy czujnik pyłów znajduje się w trybie pomiarowym (po pierwszych 60 sekundach), typowy średni prąd zasilania wynosi 63 mA, natomiast maksymalnie sięga 70 mA. Biorąc pod uwagę tryb rozruchu i inne tryby pracy, maksymalny prąd szczytowy wynosi 110 mA. W trybie pomiaru RHT/Gas-Only pobór prądu zostaje zmniejszony do 6,8 mA [4].

Właściwe, naprzemienne używanie tych trybów pracy, w sposób pokazany na rysunku 4, może zmniejszyć zużycie energii 7...9 razy przy minimalnym uszczerbku dla wydajności systemu czujników.

Rysunek 4. Jeden pełny cykl pracy ze zmniejszoną mocą [4]

Tryb pomiarowy podzielony jest na dwa etapy: charakterystyczne dla pierwszej fazy w trybie pomiarowym jest uruchomienie wentylatora i gromadzenie danych statystycznych przez algorytm PM. Na tym etapie dane pomiarowe SEN5x nie są stabilne i należy je odrzucić. W drugiej fazie dane PM, VOC, NOx i RHT są aktualizowane co sekundę. Z tego trybu moduł można przełączyć na tryb pomiaru RHT/Gas-Only, w którym dane VOC, NOx i RHT również są aktualizowane co sekundę. W celu ponownego uzyskania PM cykl jest powtarzany.

Optymalizacja czasu pracy w trybie pomiaru

Gdy czujnik pyłów zostanie wprowadzony w tryb pomiarowy, laser i wentylator ulegną automatycznemu włączeniu. Aby oszczędzać energię, można ustawić sensor na tryb pomiaru RHT/Gas-Only. Aby jednak zachować wysoką dokładność ogólnego pomiaru, należy wziąć pod uwagę różne czynniki ograniczające minimalny czas pracy w trybie pełnym.

Ze względu na bezwładność wentylatora, osiągnięcie docelowej prędkości obrotowej zajmuje kilka sekund. Efekt ten można zaobserwować także na wyjściu czujnika w ciągu pierwszych sekund pracy. Ponieważ do wykrywania cząstek stałych wymagane są statystyki, czas do osiągnięcia typowej stabilnej wartości wyjściowej zależy również od stężenia cząstek w próbkowanym powietrzu. Przy niższych stężeniach czujnik potrzebuje więcej czasu niż przy stężeniach wyższych.

Dalsza optymalizacja jest możliwa poprzez dostosowanie czasu rozruchu do faktycznie zmierzonego stężenia – zgodnie z typowymi czasami rozruchu podanymi w arkuszu danych SEN5x. Należy pamiętać, że typowe wartości tego parametru są wartościami średnimi, rzeczywisty czas rozruchu bywa różny dla poszczególnych modeli czujników i różnych typów aerozoli.

Dwie główne zmienne wpływające na całkowite zużycie energii, które należy uwzględnić w wydajności systemu, to czasy spędzone w trybach pełnego pomiaru oraz w trybie RTH/Gas-Only.

Można zastosować następujący przykładowy algorytm w celu dostosowania czasu rozruchu do rzeczywistego stężenia cząstek stałych [5]:

  • Pomiar po 16 sekundach
    • Jeśli stężenie >100 #/cm³ → dane pomiarowe nadają się do przetworzenia.
    • Jeżeli stężenie ≤100 #/cm³ → rozruch nie został zakończony, należy dokonać ponownego pomiaru po 30 sekundach.
  • Pomiar po 30 sekundach → dane pomiarowe są gotowe do przetworzenia.

Po okresie rozruchowym zaleca się pobranie kilku punktów danych dla pomiaru PM i uśrednienie ich w celu uzyskania stabilnego pomiaru. Dobrym punktem wyjścia dla osiągnięcia najlepszej dokładności jest uśrednienie wartości pomiarów z kolejnych 30 sekund po okresie uruchamiania, co oznacza, że całkowity czas pracy w trybie pomiarowym wynosi 60 sekund. Dokument [5] pokazuje przykład kodu implementacji tej procedury. Krótszy okres uśredniania pozwoli zaoszczędzić energię, ale może skutkować zmniejszoną powtarzalnością pomiaru.

Automatyczne czyszczenie wentylatora

Gdy moduł pracuje w trybie pomiaru, uruchamiana jest procedura automatycznego czyszczenia wentylatora po upływie określonego czasu pracy. Powoduje to przyspieszenie wentylatora do maksymalnej prędkości na 10 sekund, aby wydmuchać kurz nagromadzony wewnątrz niego.

  • Wartości pomiarów nie są aktualizowane, gdy trwa czyszczenie wentylatora.
  • Interwał czyszczenia jest ustawiony na 604 800 sekund (tj. 168 godzin lub 1 tydzień) z tolerancją ±3%.
  • Interwał można skonfigurować za pomocą polecenia Ustaw interwał automatycznego czyszczenia.
  • Ustaw interwał na 0, aby wyłączyć automatyczne czyszczenie.
  • Reset czujnika pyłów przestawia częstotliwość czyszczenia do wartości domyślnej.
  • Jeśli czujnik pyłów zostanie wyłączony, licznik czasu ulegnie zresetowaniu do 0. Należy uruchomić cykl czyszczenia przynajmniej raz w tygodniu, jeśli czujnik jest okresowo wyłączany i włączany (np. raz dziennie).
  • Procedurę czyszczenia można także rozpocząć ręcznie za pomocą polecenia Rozpocznij czyszczenie.

Kompensacja temperatury

Domyślnie sygnały wyjściowe temperatury i wilgotności z czujnika są kompensowane ze względu na samonagrzewanie się modułu. Jeśli moduł został zamontowany w urządzeniu, może zaistnieć potrzeba skorygowania kompensacji temperatury, aby uwzględnić zmianę sprzężenia termicznego i wpływ temperatury innych elementów urządzenia [2].

Podłączanie modułu SEN5x

Moduł ma małą obudowę (o rozmiarach zewnętrznych 52,5×43,3×22,3 mm) o dosyć nieregularnym kształcie (rysunek 5) [2].

Rysunek 5. Usytuowanie złącza komunikacyjnego modułu czujników SEN55 [2]

Wiatraczek modułu pracuje bardzo cicho (24 dB(A)). Sygnały i zasilanie dostępne są na nietypowym złączu 6-pinowym z rozstawem 1,25 mm (rysunek 5). Rozmieszczenie sygnałów na złączu komunikacyjnym modułu SEN55 pokazane zostało w tabeli 1. Obudowa nie ma połączenia z zaciskiem masy (2) i powinna pozostać odizolowana lub dołączona do uziemienia.

Razem z modułem SEN5x w zestawie dostarczane są dwa kable z wtyczkami do gniazdka złącza komunikacyjnego (fotografia tytułowa [1]). Z drugiej strony pierwszego kabla znajduje się wtyczka RJ-45 przeznaczona do dołączenia do mostka SEK-SensorBridge. Natomiast z drugiej strony kabla drugiego zamocowane zostały wtyczki BLS, kompatybilne z gniazdkami typu goldpin.

Interfejs I²C

Moduł obsługuje transmisję protokołu I²C z prędkością 100 kbit/s. Aby prawidłowo wybrać interfejs I²C, pin wyboru interfejsu (SEL) trzeba dołączyć do GND przed lub w tym samym czasie, gdy moduł otrzymuje zasilanie. Obie linie SCL i SDA są wejściami/wyjściami z otwartym drenem i należy podłączyć je do zewnętrznych rezystorów podciągających (np. R=10 kΩ). Moduł ma stały adres I²C: 0x69. Polecenia odczytu i zapisu przesyłają dane w 2-bajtowych pakietach, po których następuje 8-bitowa suma kontrolna, obliczana w sposób podany w dokumencie [2].

Moduł SEN5x można łatwo zastosować we własnej aplikacji dzięki firmowym bibliotekom programowym. Dostępne są uniwersalne drivery w językach C i Python, a także biblioteki dla platform Raspberry Pi (język C) oraz Arduino [1].

Mostek SEK-SensorBridge

Mostek SEK-SensorBridge firmy Sensirion jest przeznaczony do jednoczesnej obsługi dwóch portów w celu dołączenia dwóch zestawów ewaluacyjnych z czujnikami marki Sensirion [10].

Mostek może być wpięty do komputera poprzez gniazdko microUSB (zestaw staje się widoczny w systemie operacyjnym jako wirtualny port szeregowy) albo poprzez łącze transmisji szeregowej w standardzie RS485 (fotografia 1, po lewej). Nie ma ograniczeń co do liczby mostków SensorBridge, podłączonych do tego samego komputera.

Każde z dwóch złączy pomiarowych RJ45 może zostać użyte do podłączenia jednego zestawu ewaluacyjnego czujnika za pomocą dostarczonego kabla (fotografia 1, po prawej). Na złączu znajduje się masa, zasilanie (ustawiane w zakresie 1,2 V...5,5 V) oraz linie komunikacyjne w standardach I²C (do 1 MHz), UART i SPI.

Fotografia 1. Mostek SEK-SensorBridge, widok z tyłu (z lewej) i z przodu (po prawej) [12]

SensorBridge zachowuje kompatybilność z oprogramowaniem ControlCenter firmy Sensirion. Czujniki kompatybilne z płytką SensorBridge pracują od razu po podłączeniu do mostka. Firma Sensirion udostępnia też bibliotekę w języku Python, która umożliwia połączenie z czujnikiem poprzez mostek SensorBridge.

Oprogramowanie ControlCenter

ControlCenter firmy Sensirion to aplikacja umożliwiająca natychmiastowe rozpoczęcie pracy z czujnikami producenta [11]. Sensoryczne moduły ewaluacyjne mogą być dołączone do komputera poprzez mostek SensorBridge lub bezpośrednio poprzez konwerter USB-UART. Główną funkcjonalnością ControlCenter jest wykonywanie i wizualizacja pomiarów na żywo z różnych czujników. Po pobraniu najnowszej wersji aplikacji ze strony ControlCenter [11] należy ją zainstalować razem z driverami.

Zestaw ewaluacyjny SEK-SEN5x

Najszybszy sposób na rozpoczęcie eksperymentu z modułem SEN5x to użycie zestawu ewaluacyjnego SEK-SEN5x firmy Sensirion [3] w połączeniu z mostkiem SEK-SensorBridge i oprogramowaniem Sensirion ControlCenter. W zestawie dostarczane są dwa kable z wtyczkami do gniazdka złącza komunikacyjnego modułu SEN5x, opisane we wcześniejszej części artykułu.

  1. Dedykowanym kablem podłącz zestaw ewaluacyjny SEK-SEN5x (z modułem SEN55) do gniazdka złącza pomiarowego RJ45 mostka SEK-SensorBridge.
  2. Kablem microUSB podłącz mostek SEK-SensorBridge do komputera.
  3. Uruchom aplikację ControlCenter.
  4. Kliknij Refresh (jeśli potrzeba). Przy kolejnych uruchomieniach aplikacji czujnik SEN55 będzie już automatycznie identyfikowany, a dodatkowo wygenerowany zostanie zestaw predefiniowanych wykresów.

Częstotliwość wykonywania pomiarów jest ustawiana domyślnie na 1 Hz. Można pobierać każdą próbkę – lub co 2/5/10/100/1000 (decymacja). Można też wykonywać uśrednianie na próbkach z ustawionego zakresu. Automatyczne czyszczenie czujnika pyłów ustawione jest domyślnie na okres co 7 dni, ale istnieje również opcja natychmiastowego wykonania czyszczenia na żądanie użytkownika.

Oś czasu wykresów ustawiona została na czas upływający od uruchomienia pomiaru. Druga możliwość to czas astronomiczny. Domyślne ustawienie długości pokazywanego przebiegu to 300 s. Zakres wartości osi pionowej jest ustalany automatycznie i ma predefiniowany poziom minimalny.

Na rysunku 6 widnieje ekran aplikacji ControlCenter po podłączeniu modułu SEN55. Wykresy pokazują policzone koncentracje w czerech zakresach PM1,0, PM2,5, PM4 oraz PM10. Pomiar rozpoczęto w pomieszczeniu o małej zawartości pyłów. Zwraca uwagę długi czas (ok. 60 s) potrzebny na dojście krzywych do prawdziwej wartości pomiarowej. W zakładce Particle Computation można zobaczyć pomiary zliczania cząstek. Zakładka NOx pokazuje indeks NOx, jednak ze względu na brak istotnego stężenia takich związków w badanym powietrzu wyświetlana jest stała wartość „1”.

Rysunek 6. Zakładka PM Mass Concentration aplikacji ControlCenter z podłączonym modułem SEN55

Nic nie stoi na przeszkodzie, by do mostka SEK-SensorBridge dołączyć jednocześnie drugi moduł czujników. Na rysunku 7 można zobaczyć zakładkę VOC aplikacji ControlCenter po podłączeniu modułu SEN55 oraz SVM30 (po rozpoczęciu pomiarów). Widoczny jest długi czas ustalania prawidłowego odczytu VOC mierzonego przez SEN55 – w porównaniu z odczytem z czujnika SGP30 modułu SVM30. Jednak w stanie stabilnym obie wartości okazują się zbliżone.

Rysunek 7. Zakładka VOC aplikacji ControlCenter z podłączonym modułem SEN55 oraz SVM30

Na rysunku 8 pokazana została zakładka RHT aplikacji ControlCenter z podłączonym modułem SEN55 oraz SVM30 (po rozpoczęciu pomiarów). Uwagę zwraca bardzo długi czas ustalania odczytu temperatury (T) oraz wilgotności względnej (RH) mierzonej przez SEN55 – w porównaniu z precyzyjnym czujnikiem SHTC1 modułu SVM30. Aplikacja ControlCenter umożliwia zastosowanie trzech trybów przyspieszania korygowania pomiarów RHT modułu SEN55. W pokazanym przykładzie zastosowano tryb Low Acceleration.

Rysunek 8. Zakładka RHT aplikacji ControlCenter z podłączonym modułem SEN55 oraz SVM30

Na rysunku 9 uwidoczniono wykres RHT aplikacji ControlCenter po dłuższym czasie pracy czujników w stabilnych warunkach. Pomiary z modułu SEN55 znacznie różnią się od pomiarów referencyjnych z czujnika SHTC1 modułu SVM30.

Rysunek 9. Wykres RHT aplikacji ControlCenter po dłuższym czasie pracy

Dodatkowe pomiary RHT wykonywane przez moduł Smart Gadget firmy Sensirion z czujnikiem SHTC31 umieszczonym obok też przynoszą różniące się nieco wyniki. Wymiana modułu SEN55 na inny egzemplarz pokazała znacznie szybsze zmiany wartości pomiarów po włączeniu zasilania oraz większą zgodność z pomiarami zewnętrznymi. Zastosowanie trybu High Acceleration w celu przyspieszenia korekcji pomiarów RHT modułu SEN55 powoduje wolniejsze zmiany wartości pomiarów, ale lepszą zgodność z pomiarami referencyjnymi.

Wymiana modułu SVM30 skutkowała dużo mniejszymi zmianami wartości jego pomiarów po włączeniu zasilania przy zbliżonych poziomach mierzonych wielkości. Dokładność pomiarów RHT wykonywanych poza warunkami laboratoryjnymi stanowi bardzo duży problem.

Na rysunku 10 pokazany jest wykres Particle Comp aplikacji ControlCenter po rozpaleniu kominka w sąsiednim pomieszczeniu. Wyraźnie wyższy poziom stężenia mniejszych cząstek wskazuje na obecność dymu [7].

Rysunek 10. Wykres Particle Comp aplikacji ControlCenter

DataViewer

Oprócz wizualizacji wykresów na żywo, inną funkcjonalnością ControlCenter jako narzędzia ewaluacyjnego jest ułatwianie rejestrowania pomiarów wykonywanych w ramach różnych eksperymentów.

Domyślnie rejestracja do pliku zostaje włączona dla wszystkich czujników i rozpoczyna się wraz z pomiarem.

Logi zapisywane są w plikach EDF. Plik EDF stanowi zastrzeżony format Sensirion wzorowany na formacie CSV. Dlatego jest kompatybilny z Microsoft Excel i innymi edytorami obsługującymi pliki CSV.

Aplikacja DataViewer – siostrzane narzędzie programowe aplikacji ControlCenter – umożliwia wizualizację zarejestrowanych pomiarów. Oprogramowanie rozpoznaje pliki EDF i wizualizuje pomiary w formie wykresów. Aplikacja DataViewer to oddzielny program, który można uruchomić w poprzez aplikację ControlCenter (najprościej: klikając przycisk DataViewer po lewej stronie okna aplikacji ControlCenter). Program, po uruchomieniu, automatycznie ładuje bieżący dziennik pomiarów, także w trakcie jego rejestrowania. Drugi sposób uruchomienia aplikacji DataViewer z menu Tools → Launch DataViewer umożliwia wskazanie pliku EDF do wyświetlenia.

Rysunek 11. Zakładka PM Mass Concentration aplikacji DataViewer

Na rysunku 11 widoczny jest zapis koncentracji pyłów, zarejestrowany przed rozpaleniem kominka w sąsiednim pomieszczeniu – i po nim. Rysunek 12 prezentuje zapis pomiaru indeksu VOC z tym samym czasem rejestracji. Znaczne obniżenie poziomu pyłów i indeksu VOC w około godziny 18.20 spowodowane było przez uchylenie okna w tym pomieszczeniu.

Rysunek 12. Zakładka VOC aplikacji DataViewer

Podsumowanie

Moduł czujników środowiskowych SEN5x firmy Sensirion to znaczący postęp w stosunku do czujnika pyłów SPS30 tego samego producenta. A już poprzednik był zdecydowanie najlepszym czujnikiem w swojej dziedzinie. Nowy moduł – dużo mniejszy i wygodniejszy w użyciu –  dodatkowo mierzy VOC i NOx. Zwraca uwagę zupełnie cicha praca modułu SEN5x, pomimo zastosowanego wiatraczka.

Wykrycie skutków uszkodzenia uszczelki drzwiczek kominka, podczas prób z modułem czujników środowiska SEN55, pokazuje jego wielką przydatność, nawet w warunkach domowych.

Na połowę roku 2024 zapowiadana jest premiera modułów czujników środowiska z nowej serii SEN6x firmy Sensirion. Mają to być dwa warianty; oprócz mierzonych przez obecną serię SEN5x parametrów otoczenia, będą one (w zależności od wersji) mierzyć poziom albo dwutlenku węgla (CO2) albo formaldehydu (HCHO). Całość zamknięta zostanie w bardzo małej obudowie o wymiarach 54×24×22 mm.

Henryk A. Kowalski
Instytut Informatyki
Politechnika Warszawska

Literatura
[1] SEN55 Environmental sensor node for PM, RH/T, VOC, NOx measurements, https://sensirion.com/products/catalog/SEN55
[2] Datasheet SEN5x, 01/2022, https://sensirion.com/media/documents/6791EFA0/62A1F68F/Sensirion_Datasheet_Environmental_Node_SEN5x.pdf
[3] SEK-SEN5x Evaluation kit SEN5x series, https://sensirion.com/products/catalog/SEK-SEN5x
[4] Reduced Power Operation SEN5x, Application note, 08/2022, https://sensirion.com/media/documents/1B417576/62F0B936/Reduced_Power_Operation_SEN5x.pdf
[5] Engineering guidelines SEN5x, User guide, 01/2022, https://sensirion.com/media/documents/25AB572C/62B463AA/Sensirion_Engineering_Guidelines_SEN5x.pdf
[6] Sensor specification statement Particulate Matter Sensors, Application note, 03/2020, https://sensirion.com/media/documents/B7AAA101/61653FB8/Sensirion_Particulate_Matter_AppNotes_Specification_Statement.pdf
[7] Cyfrowe czujniki pyłów, Henryk A. Kowalski, „Elektronika Praktyczna”, 6/2020, https://ep.com.pl/files/ivx/12879-EP_2020-06_107-114.pdf
[8] Cyfrowe czujniki gazu, Henryk A. Kowalski, „Elektronika Praktyczna”, 3/2020, https://ep.com.pl/files/jhs/12960-ep_2020-03_130-137.pdf
[9] Czujnik pomiaru pyłów SPS30 firmy Sensirion, Henryk A. Kowalski, „Elektronika Praktyczna”, 9/2020, https://ep.com.pl/files/bgm/13044-ep_2020-09_099-104.pdf
[10] SEK-SensorBridge, https://sensirion.com/products/catalog/SEK-SensorBridge/
[11] ControlCenter, https://sensirion.com/products/sensor-evaluation/control-center/
[12] ControlCenter Manual, https://sensirion.github.io/ControlCenterManual/#/

Artykuł ukazał się w
Elektronika Praktyczna
marzec 2024
Elektronika Praktyczna Plus lipiec - grudzień 2012

Elektronika Praktyczna Plus

Monograficzne wydania specjalne

Elektronik listopad 2025

Elektronik

Magazyn elektroniki profesjonalnej

Raspberry Pi 2015

Raspberry Pi

Wykorzystaj wszystkie możliwości wyjątkowego minikomputera

Świat Radio listopad - grudzień 2025

Świat Radio

Magazyn krótkofalowców i amatorów CB

Automatyka, Podzespoły, Aplikacje listopad - grudzień 2025

Automatyka, Podzespoły, Aplikacje

Technika i rynek systemów automatyki

Elektronika Praktyczna listopad 2025

Elektronika Praktyczna

Międzynarodowy magazyn elektroników konstruktorów

Elektronika dla Wszystkich grudzień 2025

Elektronika dla Wszystkich

Interesująca elektronika dla pasjonatów